Скачать ГОСТ 17548-83 Концы инструментальных шпинделей зуборезных станков для конических зубчатых колес с круговыми зубьями. Типы и основные размеры

Дата актуализации: 01.01.2021

ГОСТ 17548-83

Концы инструментальных шпинделей зуборезных станков для конических зубчатых колес с круговыми зубьями. Типы и основные размеры

Обозначение: ГОСТ 17548-83
Обозначение англ: GOST 17548-83
Статус:действует
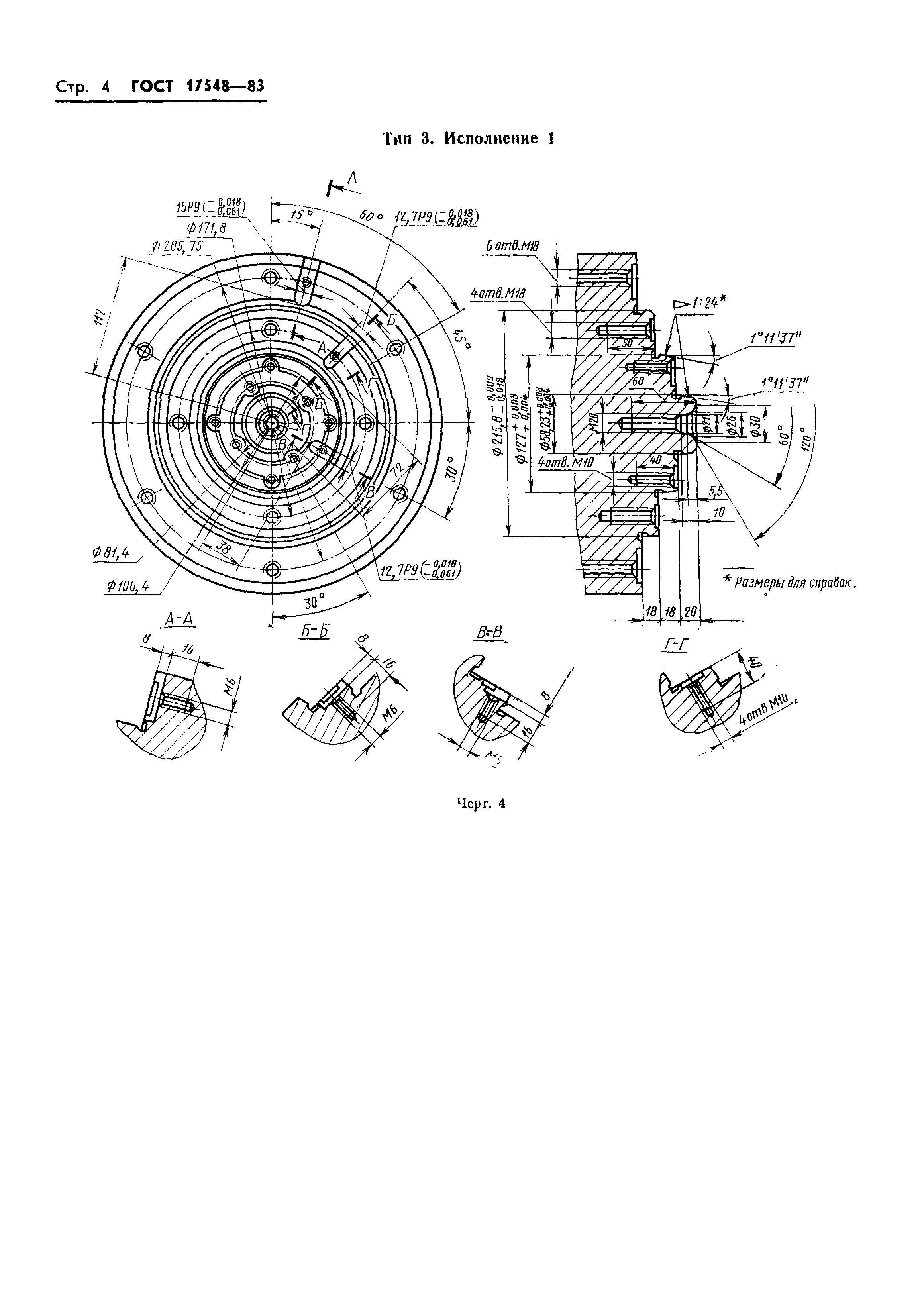
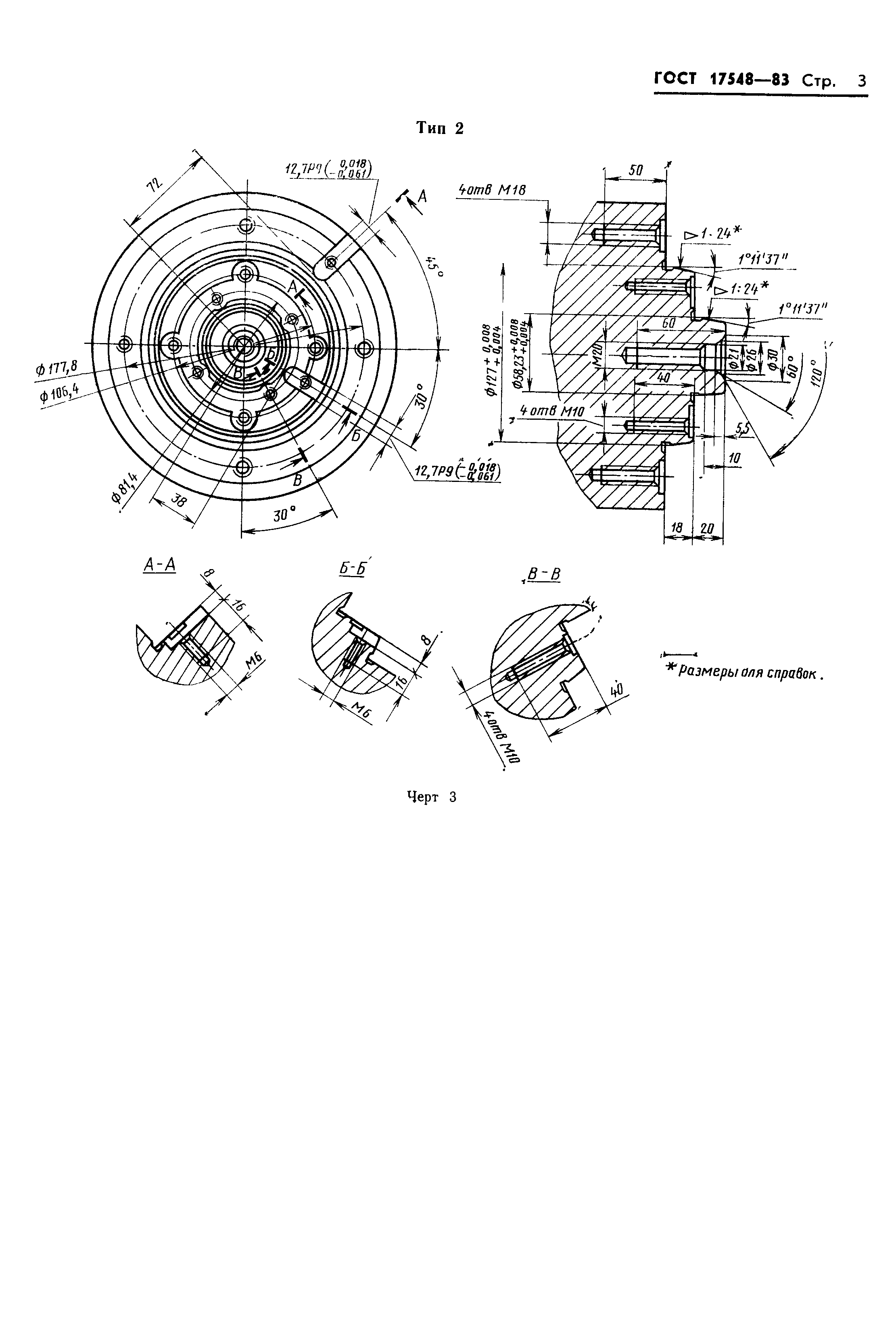
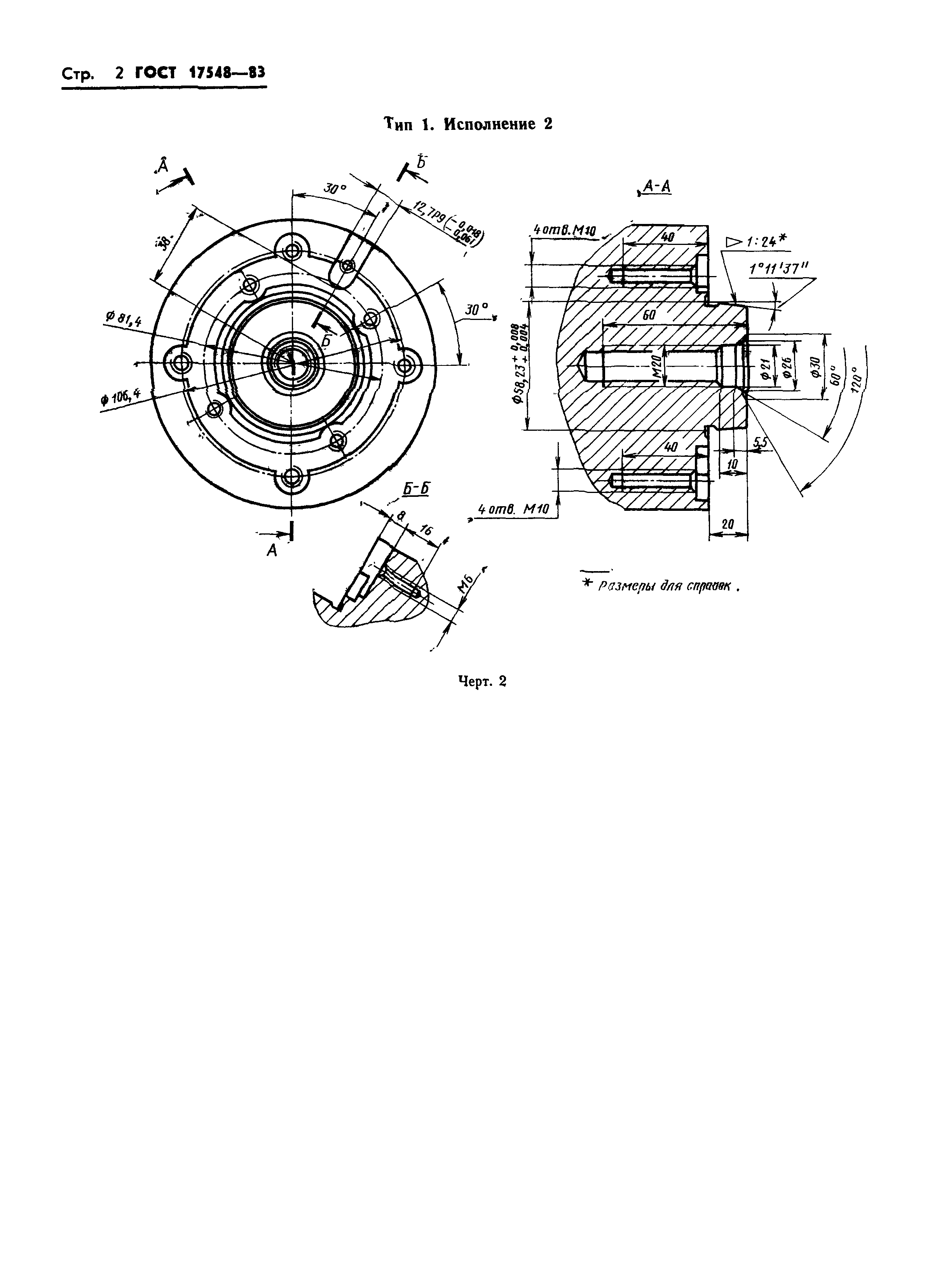
Название рус.:Концы инструментальных шпинделей зуборезных станков для конических зубчатых колес с круговыми зубьями. Типы и основные размеры
Название англ.:The tool spindle noses of spiral bevel and hypoid gear producing machines. Types and dimensions
Дата добавления в базу:01.09.2013
Дата актуализации:01.01.2021
Дата введения:01.07.1984
Область применения:Стандарт распространяется на концы инструментальных шпинделей зуборезных станков для конических зубчатых колес с круговыми зубьями. На концы шпинделей заточных станков для зуборезных головок, шлифовально-затыловочных станков для зуборезных головок и приборов для контроля зуборезных головок.
Разработан: Министерство станкостроительной и инструментальной промышленности
Утверждён:13.04.1983 Госстандарт СССР (USSR Gosstandart 1754)
Список изменений:
Заменяет собой:
  • ГОСТ 17548-72 «Концы инструментальных шпинделей зуборезных станков для конических зубчатых колес с круговыми зубьями. Типы и основные размеры»
Нормативные ссылки:
ГОСТ 17548-83ГОСТ 17548-83ГОСТ 17548-83ГОСТ 17548-83ГОСТ 17548-83ГОСТ 17548-83ГОСТ 17548-83ГОСТ 17548-83ГОСТ 17548-83

Текстовое изменение Поправка от 01.06.1984

Поправка