Скачать ГОСТ 17565-72 Кассеты электрифицированные сигнальных ракет. Типы и основные параметры

Дата актуализации: 01.01.2021

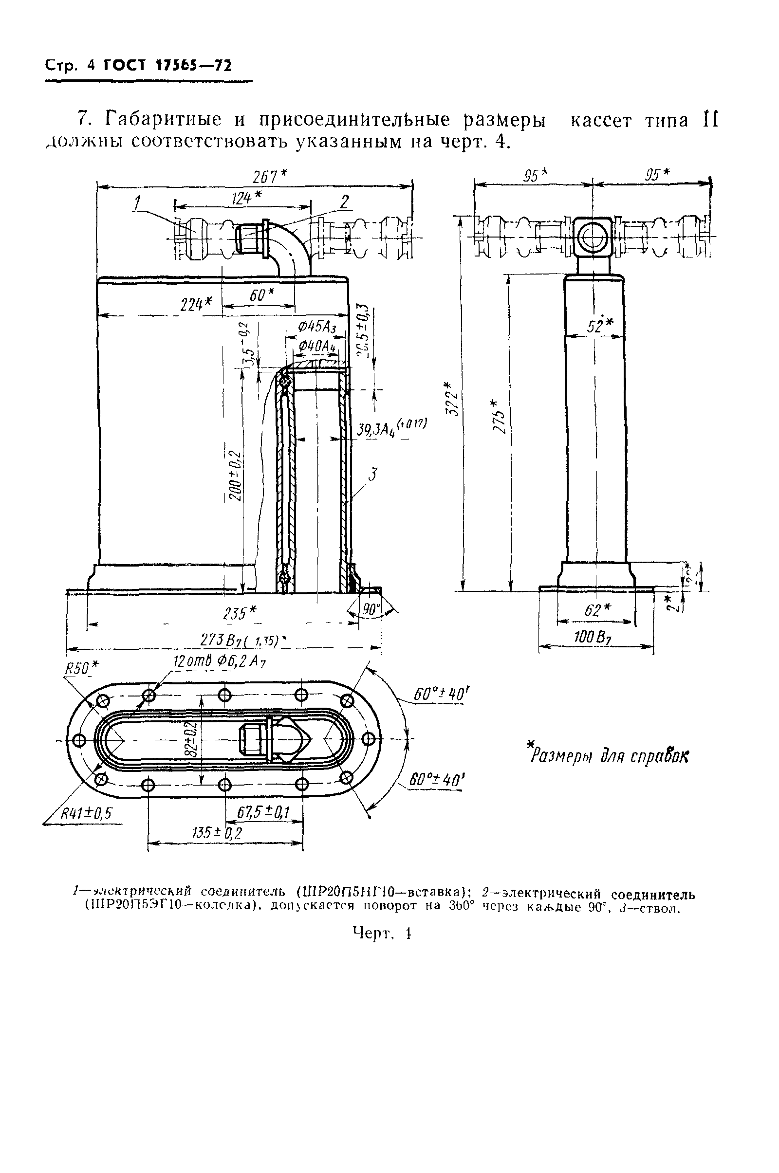
ГОСТ 17565-72

Кассеты электрифицированные сигнальных ракет. Типы и основные параметры

Обозначение: ГОСТ 17565-72
Обозначение англ: GOST 17565-72
Статус:действует
Название рус.:Кассеты электрифицированные сигнальных ракет. Типы и основные параметры
Название англ.:Electrical magazines for signal rockets. Types and basic characteristics
Дата добавления в базу:01.09.2013
Дата актуализации:01.01.2021
Дата введения:01.01.1973
Область применения:Стандарт распространяется на электрифицированные кассеты сигнальных ракет и устанавливает их типы, принципиальные электрические схемы, основные параметры и габаритно-присоединительные размеры.
Утверждён:25.02.1972 Госстандарт СССР (USSR Gosstandart 475)
Издан: Издательство стандартов (1981 г. )
ГОСТ 17565-72ГОСТ 17565-72ГОСТ 17565-72ГОСТ 17565-72ГОСТ 17565-72ГОСТ 17565-72