Скачать ГОСТ 17665-72 Фиксаторы блоков сменных разделительных штампов листовой штамповки. Конструкция и размерыДата актуализации: 01.01.2021
|
| Обозначение: | ГОСТ 17665-72 |
| Обозначение англ: | GOST 17665-72 |
| Статус: | действует |
| Название рус.: | Фиксаторы блоков сменных разделительных штампов листовой штамповки. Конструкция и размеры |
| Название англ.: | Fixing devices of units for changeable sheet stamping cutting dies. Construction and dimensions |
| Дата добавления в базу: | 01.09.2013 |
| Дата актуализации: | 01.01.2021 |
| Дата введения: | 01.07.1973 |
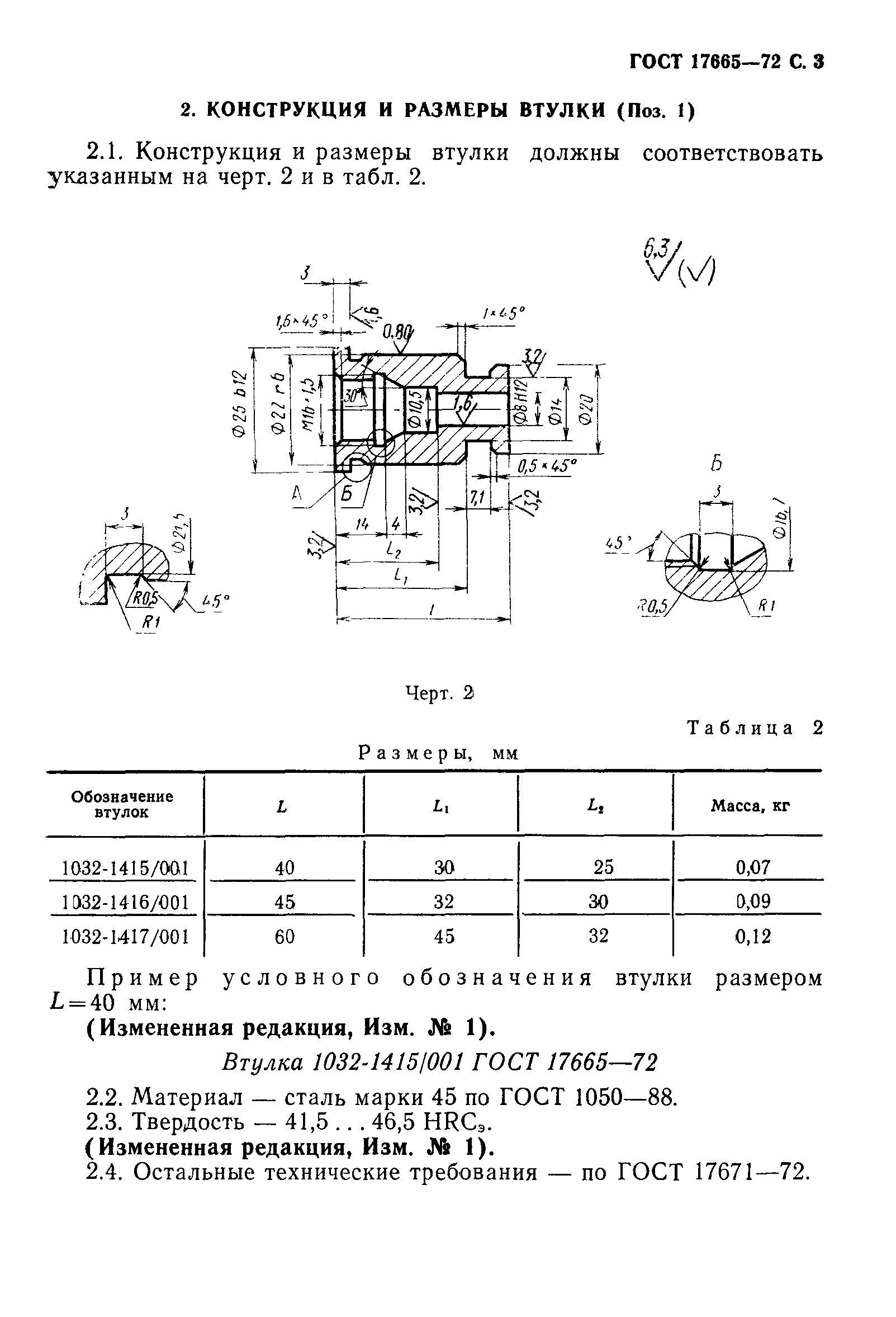
| Оглавление: | 1 Конструкция и размеры фиксаторов 2 Конструкция и размеры втулки (Поз. 1) 3 Конструкция и размеры пружины (Поз. 2) |
| Утверждён: | 28.04.1972 Госстандарт СССР (USSR Gosstandart 885) |



