Скачать ГОСТ 18358-93 Калибры-скобы составные для диаметров от 1 до 6 мм. Размеры

Дата актуализации: 01.01.2021

ГОСТ 18358-93

Калибры-скобы составные для диаметров от 1 до 6 мм. Размеры

Обозначение: ГОСТ 18358-93
Обозначение англ: GOST 18358-93
Статус:взамен
Название рус.:Калибры-скобы составные для диаметров от 1 до 6 мм. Размеры
Название англ.:Plate snap-gauges for diameters from 1 to 6 mm. Dimensions
Дата добавления в базу:01.09.2013
Дата актуализации:01.01.2021
Дата введения:01.01.1995
Область применения:Стандарт распространяется на односторонние и двусторонние составные калибры-скобы для контроля валов диаметрами от 1 до 6 мм с допусками по ЕСПД 6-го и более грубых квалитетов и по системе ОСТ 2-го и более грубых классов точности.
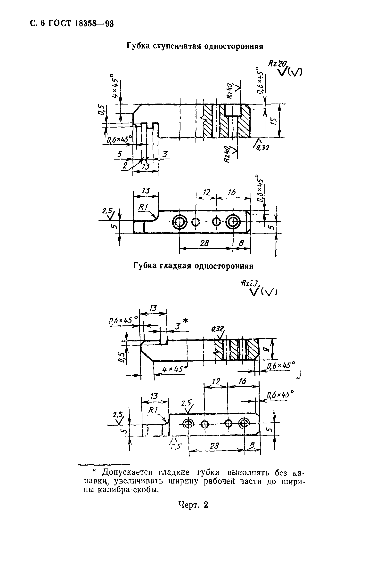
Оглавление:Приложение (рекомендуемое) Конструкция и размеры губок
Разработан: Госстандарт России
Утверждён:02.06.1994 Госстандарт России (Russian Federation Gosstandart 160)
21.10.1993 Межгосударственный Совет по стандартизации, метрологии и сертификации (Inter-Governmental Council on Standardization, Metrology, and Certification )
Издан: Издательство стандартов (1995 г. )
Заменяет собой:
  • ГОСТ 18358-73 «Скобы составные для диаметров от 1 до 6 мм. Конструкция и размеры» (ИУС 5-94)
  • ГОСТ 18359-73 «Скобы составные двусторонние для размеров от 1 до 6 мм. Конструкция и размеры» (ИУС 5-94)
Нормативные ссылки:
ГОСТ 18358-93ГОСТ 18358-93ГОСТ 18358-93ГОСТ 18358-93ГОСТ 18358-93ГОСТ 18358-93ГОСТ 18358-93ГОСТ 18358-93ГОСТ 18358-93ГОСТ 18358-93