Скачать ГОСТ 18669-73 Резонаторы пьезоэлектрические. Термины и определенияДата актуализации: 01.01.2021
|
| Обозначение: | ГОСТ 18669-73 |
| Обозначение англ: | GOST 18669-73 |
| Статус: | отменен в рф |
| Название рус.: | Резонаторы пьезоэлектрические. Термины и определения |
| Название англ.: | Piezoelectric resonators. Terms and definitions |
| Дата добавления в базу: | 01.09.2013 |
| Дата актуализации: | 01.01.2021 |
| Дата введения: | 01.07.1974 |
| Дата окончания срока действия: | 01.08.2017 |
| Область применения: | Стандарт устанавливает применяемые в науке, технике и производстве термины и определения пьезоэлектрических резонаторов. Термины, установленные настоящим стандартом, обязательны для применения в документации всех видов, учебниках, учебных пособиях, технической и справочной литературе. |
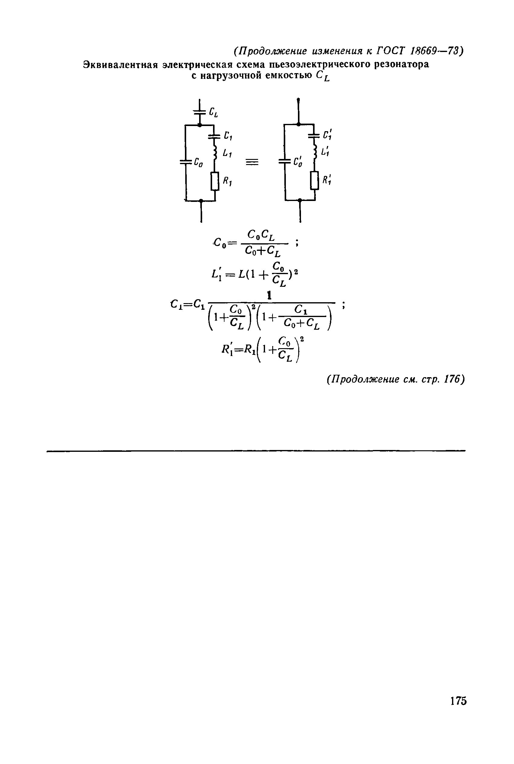
| Оглавление: | Алфавитный указатель русских терминов Алфавитный указатель немецких терминов Алфавитный указатель английских терминов Алфавитный указатель французских терминов Приложение (справочное) Эквивалентная электрическая схема пьезоэлектрического резонатора |
| Утверждён: | 28.04.1973 Государственный комитет стандартов Совета Министров СССР (USSR National Committee on Standards at the Cabinet of Ministers 1094) |
| Издан: | Издательство стандартов (1979 г. ) |
| Список изменений: |
|

























Текстовое изменение № 1 от 01.04.1979




