Скачать ГОСТ 18841-73 Метчики бесстружечные гаечные с изогнутым хвостовиком. Конструкция и размерыДата актуализации: 01.01.2021 ГОСТ 18841-73
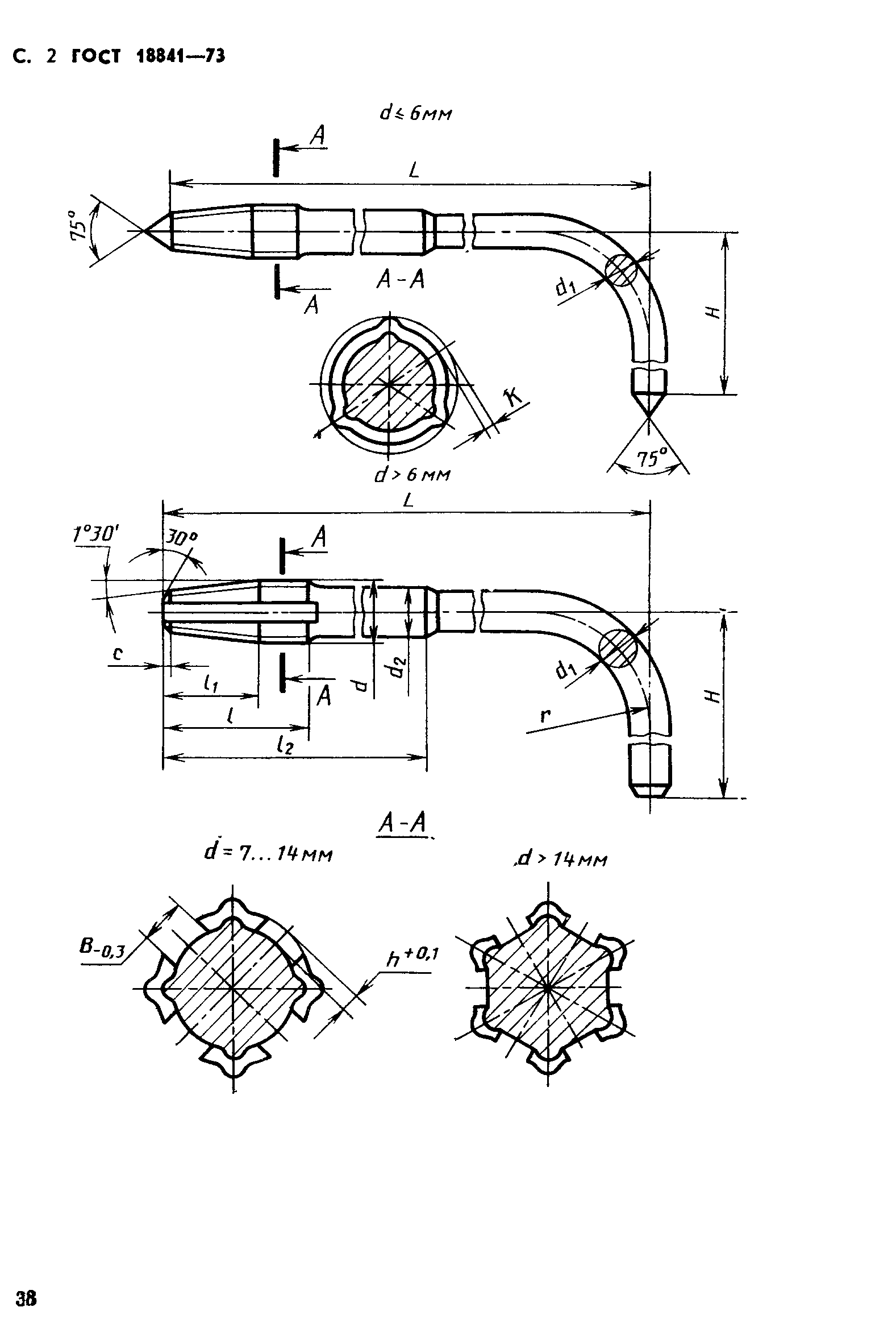
Метчики бесстружечные гаечные с изогнутым хвостовиком. Конструкция и размеры| Обозначение: | ГОСТ 18841-73 | | Обозначение англ: | GOST 18841-73 | | Статус: | действует | | Название рус.: | Метчики бесстружечные гаечные с изогнутым хвостовиком. Конструкция и размеры | | Название англ.: | Nut non-shaving taps with curved shanks. Design and dimensions | | Дата добавления в базу: | 01.09.2013 | | Дата актуализации: | 01.01.2021 | | Дата введения: | 01.07.1974 | | Утверждён: | 29.05.1973 Госстандарт СССР (USSR Gosstandart 1355)
|
      
|