Скачать ГОСТ 19171-73 Державки для косого крепления резца регулируемые к токарно-револьверным станкам. Конструкция и размерыДата актуализации: 01.01.2021
|
| Обозначение: | ГОСТ 19171-73 |
| Обозначение англ: | GOST 19171-73 |
| Статус: | действует |
| Название рус.: | Державки для косого крепления резца регулируемые к токарно-револьверным станкам. Конструкция и размеры |
| Название англ.: | Abjustable holders for an angled fastening of a cutter for turret-lathes. Design and dimensions |
| Дата добавления в базу: | 01.09.2013 |
| Дата актуализации: | 01.01.2021 |
| Дата введения: | 01.07.1974 |
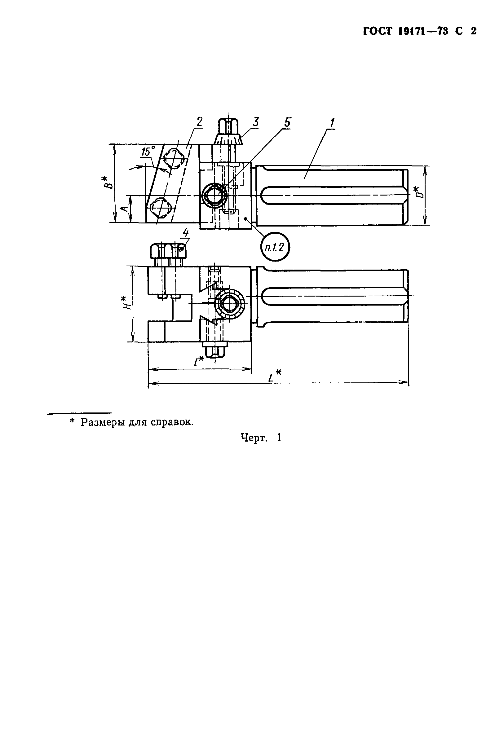
| Оглавление: | 1 Конструкция и размеры державок 2 Конструкция и размеры корпусов (поз. 1) 3 Конструкция и размеры суппортов (поз. 2) 4 Конструкция и размеры винтов (поз. 3) |
| Утверждён: | 23.10.1973 Госстандарт СССР (USSR Gosstandart 2362) |
| Заменяет собой: |
|











