Скачать ГОСТ 19306-98 Изложницы центробежные с резьбовым хвостовиком и центробежными замками. Конструкция и размерыДата актуализации: 01.01.2021
|
| Обозначение: | ГОСТ 19306-98 |
| Обозначение англ: | GOST 19306-98 |
| Статус: | взамен |
| Название рус.: | Изложницы центробежные с резьбовым хвостовиком и центробежными замками. Конструкция и размеры |
| Название англ.: | Centrifugal moulds with threaded shank and centrifugal locks. Construction and dimensions |
| Дата добавления в базу: | 01.09.2013 |
| Дата актуализации: | 01.01.2021 |
| Дата введения: | 01.01.2000 |
| Область применения: | Стандарт распространяется на центробежные изложницы с резьбовым хвостовиком и центробежными замками для однопозиционных машин центробежного литья консольного типа с горизонтальной осью вращения, предназначенные для изготовления втулок из стали, чугуна и цветных сплавов. |
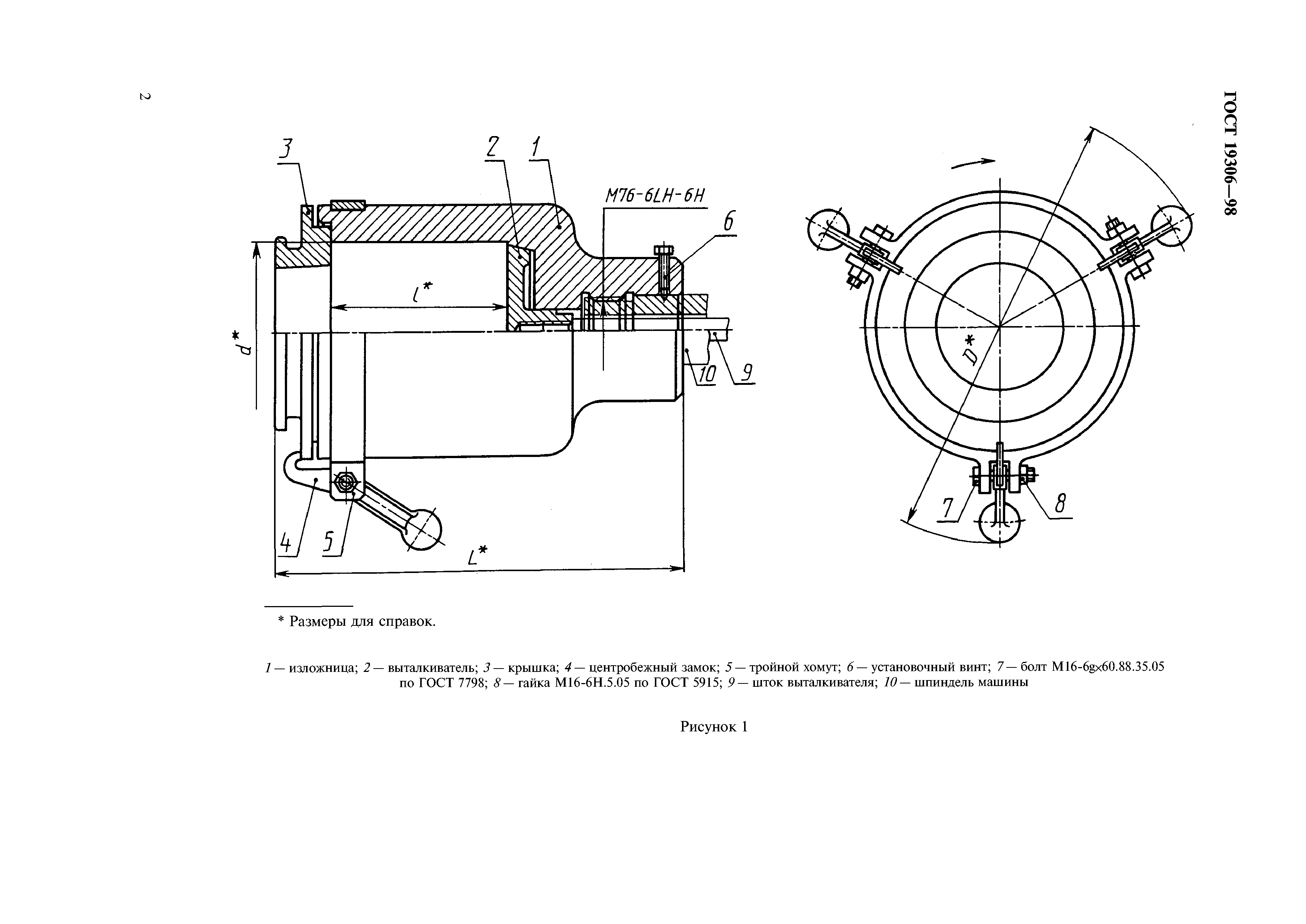
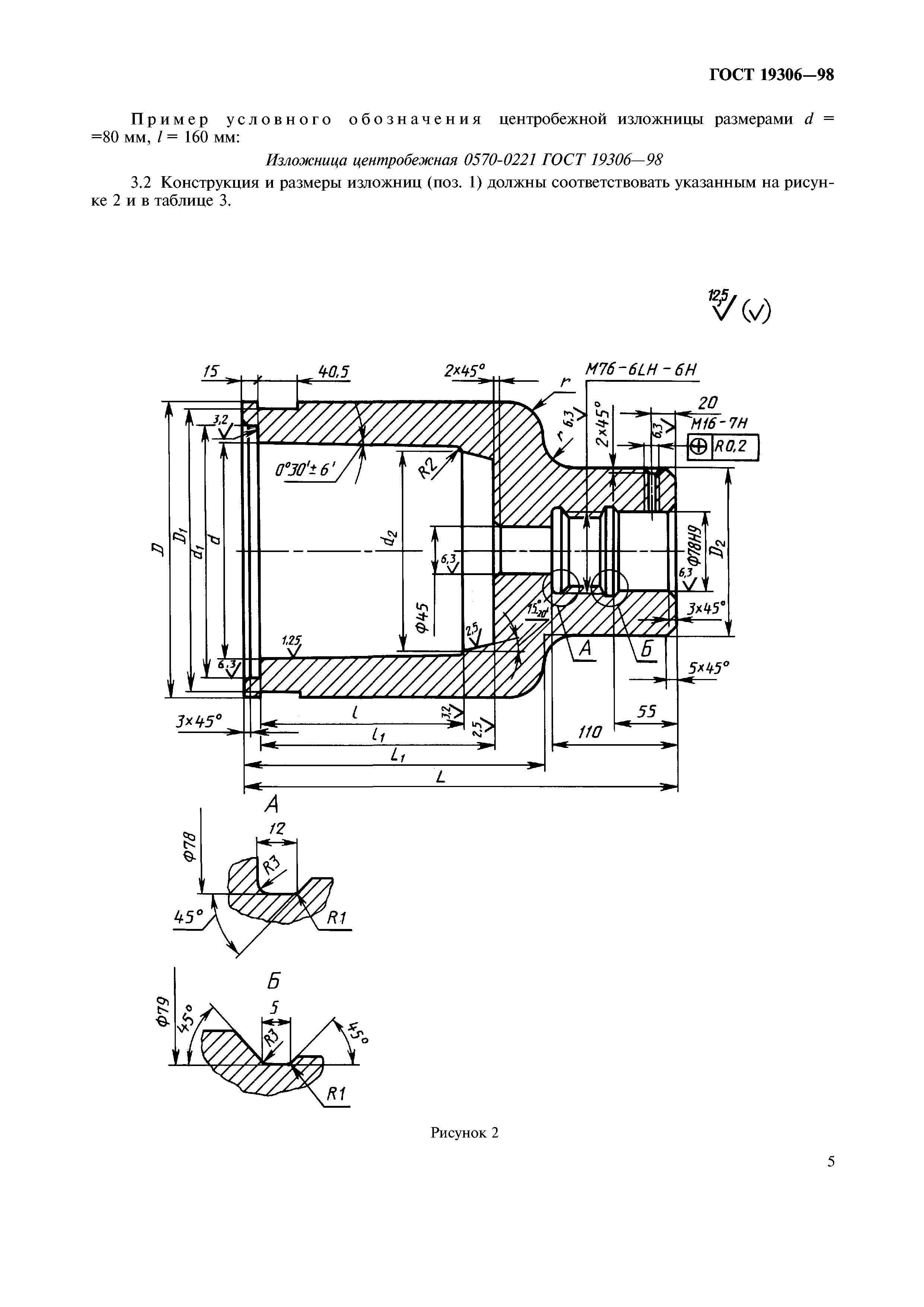
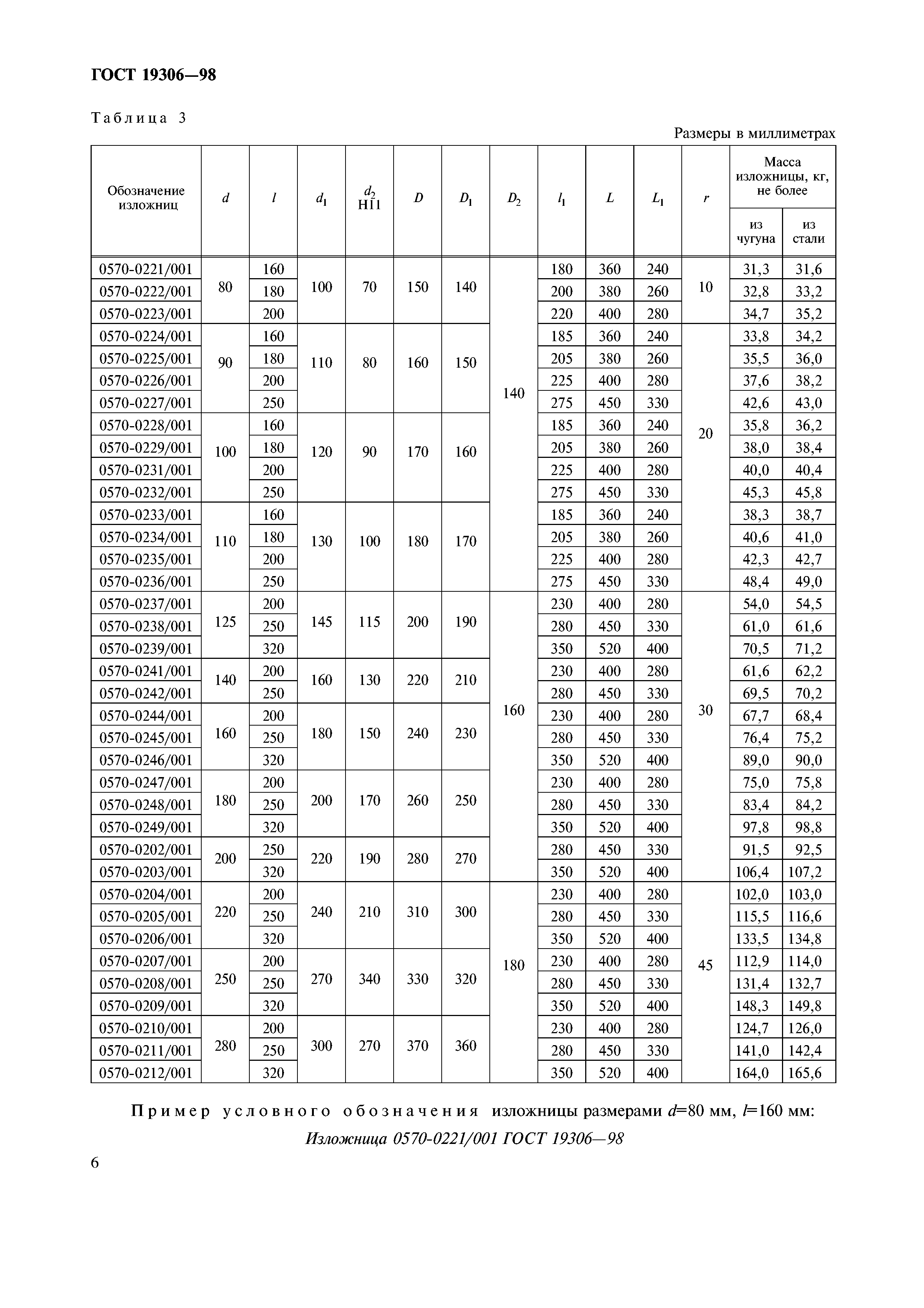
| Оглавление: | 1 Область применения 2 Нормативные ссылки 3 Конструкция и размеры |
| Разработан: | МТК 252 Литейное производство |
| Утверждён: | 23.07.1999 Государственный комитет Российской Федерации по стандартизации и метрологии (Russian Federation National Committee for Standardization and Metrology 210-ст) 12.11.1998 Межгосударственный Совет по стандартизации, метрологии и сертификации (Inter-Governmental Council on Standardization, Metrology, and Certification 14-98) |
| Издан: | ИПК Издательство стандартов (1999 г. ) |
| Заменяет собой: | |
| Нормативные ссылки: |
|










