Скачать ГОСТ 19438.1-74 Лампы приемно-усилительные и генераторные мощностью, продолжительно рассеиваемой анодом, до 25 Вт. Методы измерения динамического коэффициента усиления и асимметрии усиления на низкой частотеДата актуализации: 01.01.2021
|
| Обозначение: | ГОСТ 19438.1-74 |
| Обозначение англ: | GOST 19438.1-74 |
| Статус: | восстановлен на территории рф |
| Название рус.: | Лампы приемно-усилительные и генераторные мощностью, продолжительно рассеиваемой анодом, до 25 Вт. Методы измерения динамического коэффициента усиления и асимметрии усиления на низкой частоте |
| Название англ.: | Receiving amplifier and transmitting tubes with power to 25 watt continuously scattered by anode. Measurement methods of dynamic amplification factor amplificating asymmetry at LF |
| Дата добавления в базу: | 01.09.2013 |
| Дата актуализации: | 01.01.2021 |
| Дата введения: | 01.07.1975 |
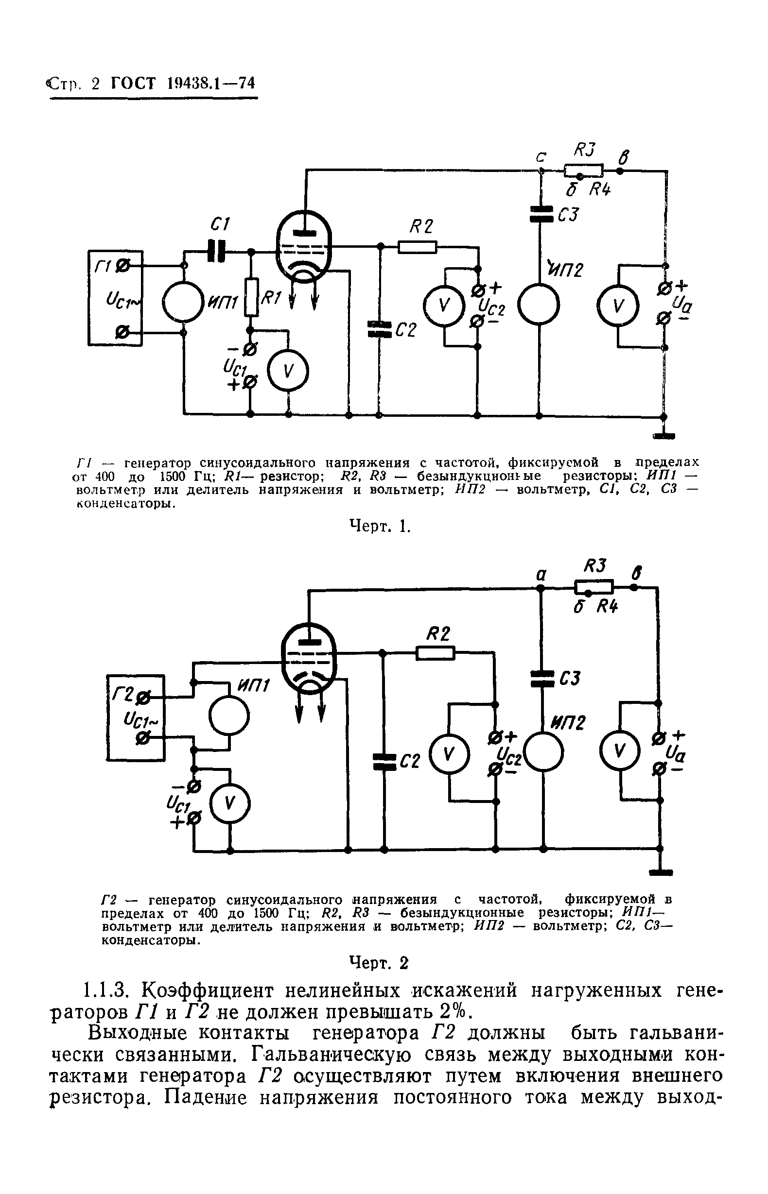
| Область применения: | Стандарт распространяется на электронные усилительные, выпрямительные и генераторные лампы мощностью, продолжительно рассеиваемой анодом, до 25 Вт и устанавливает методы измерения динамического коэффициента усиления и асимметрии усиления в диапазоне частот от 400 до 1500 Гц с относительной погрешностью измерения не более 10 %. |
| Оглавление: | 1 Аппаратура 2 Подготовка к измерениям 3 Проведение измерений 4 Обработка результатов Приложение (рекомендуемое) Схема лампового вольтметра с симметричным входом для измерения асимметрии усиления двойных триодов |
| Утверждён: | 25.01.1974 Государственный комитет стандартов Совета Министров СССР (USSR National Committee on Standards at the Cabinet of Ministers 251) |
| Издан: | Издательство стандартов (1974 г. ) |
| Заменяет собой: |
|
| Нормативные ссылки: |










