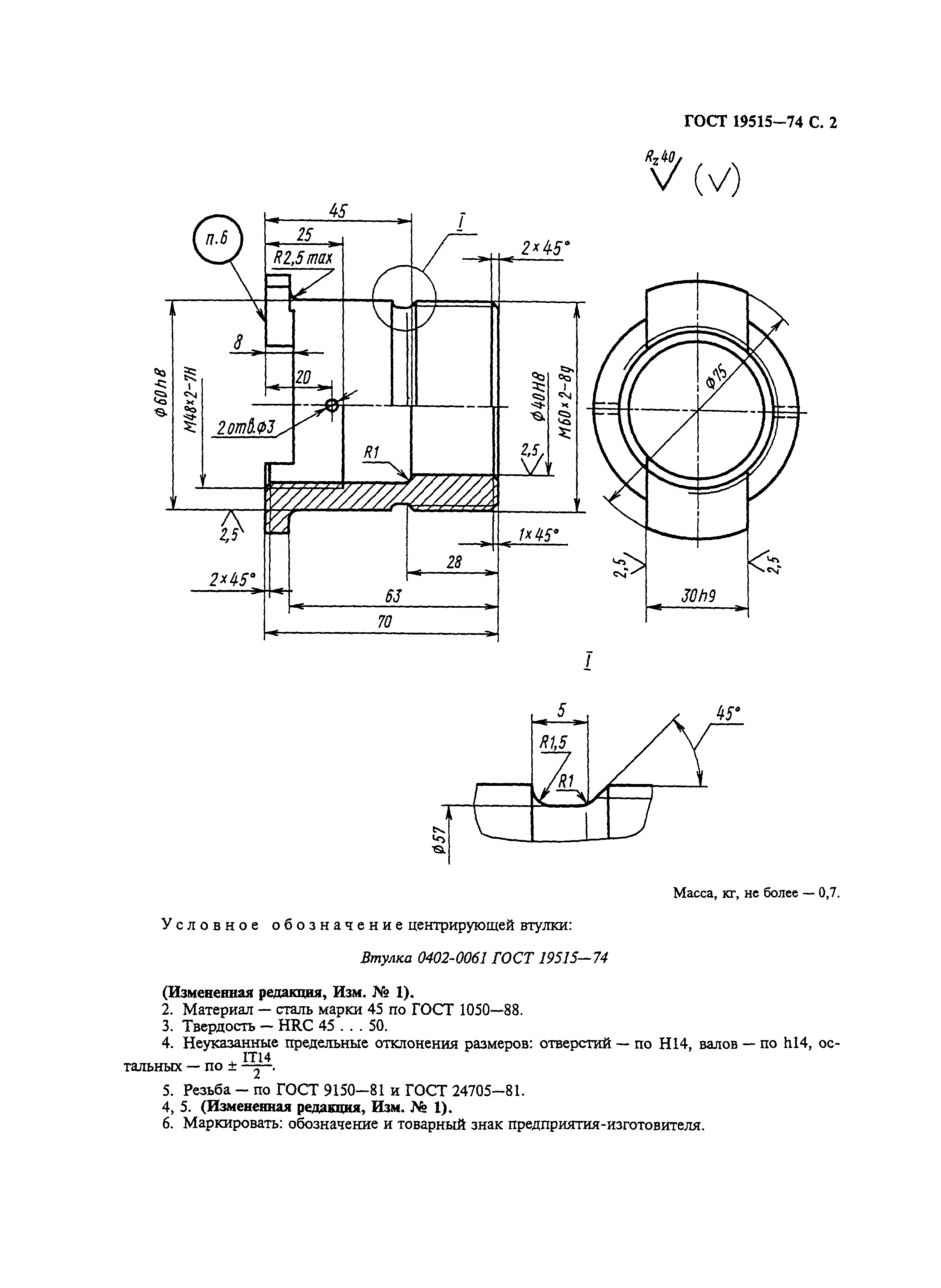
Скачать ГОСТ 19515-74 Кокили облицованные. Втулка центрирующая для модельных комплектов. Конструкция и размерыДата актуализации: 01.01.2021
|
| Обозначение: | ГОСТ 19515-74 |
| Обозначение англ: | GOST 19515-74 |
| Статус: | действует |
| Название рус.: | Кокили облицованные. Втулка центрирующая для модельных комплектов. Конструкция и размеры |
| Название англ.: | Faced chill moulds. Centring bushing for gated patterns. Construction and dimensions |
| Дата добавления в базу: | 01.09.2013 |
| Дата актуализации: | 01.01.2021 |
| Дата введения: | 01.01.1975 |
| Утверждён: | 15.02.1974 Госстандарт СССР (USSR Gosstandart 436) |
| Издан: | Издательство стандартов (1974 г. ) ИПК Издательство стандартов (2000 г. ) |



