Скачать ГОСТ 19579-80 Блоки универсально-переналаживаемых штампов для точной объемной штамповки на кривошипных прессах. Конструкция и размеры

Дата актуализации: 01.01.2021

ГОСТ 19579-80

Блоки универсально-переналаживаемых штампов для точной объемной штамповки на кривошипных прессах. Конструкция и размеры

Обозначение: ГОСТ 19579-80
Обозначение англ: GOST 19579-80
Статус:взамен
Название рус.:Блоки универсально-переналаживаемых штампов для точной объемной штамповки на кривошипных прессах. Конструкция и размеры
Название англ.:Units of general purpose adjusting hammer dies for precision die forging by means of crank presses. Design and dimensions
Дата добавления в базу:01.09.2013
Дата актуализации:01.01.2021
Дата введения:01.01.1982
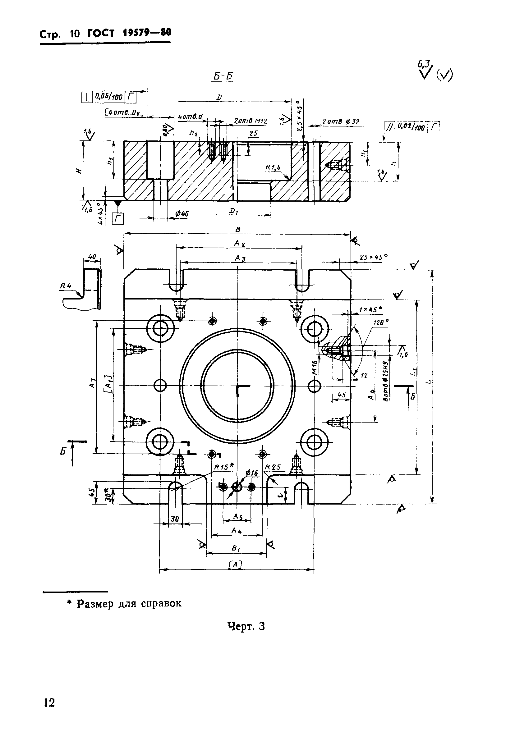
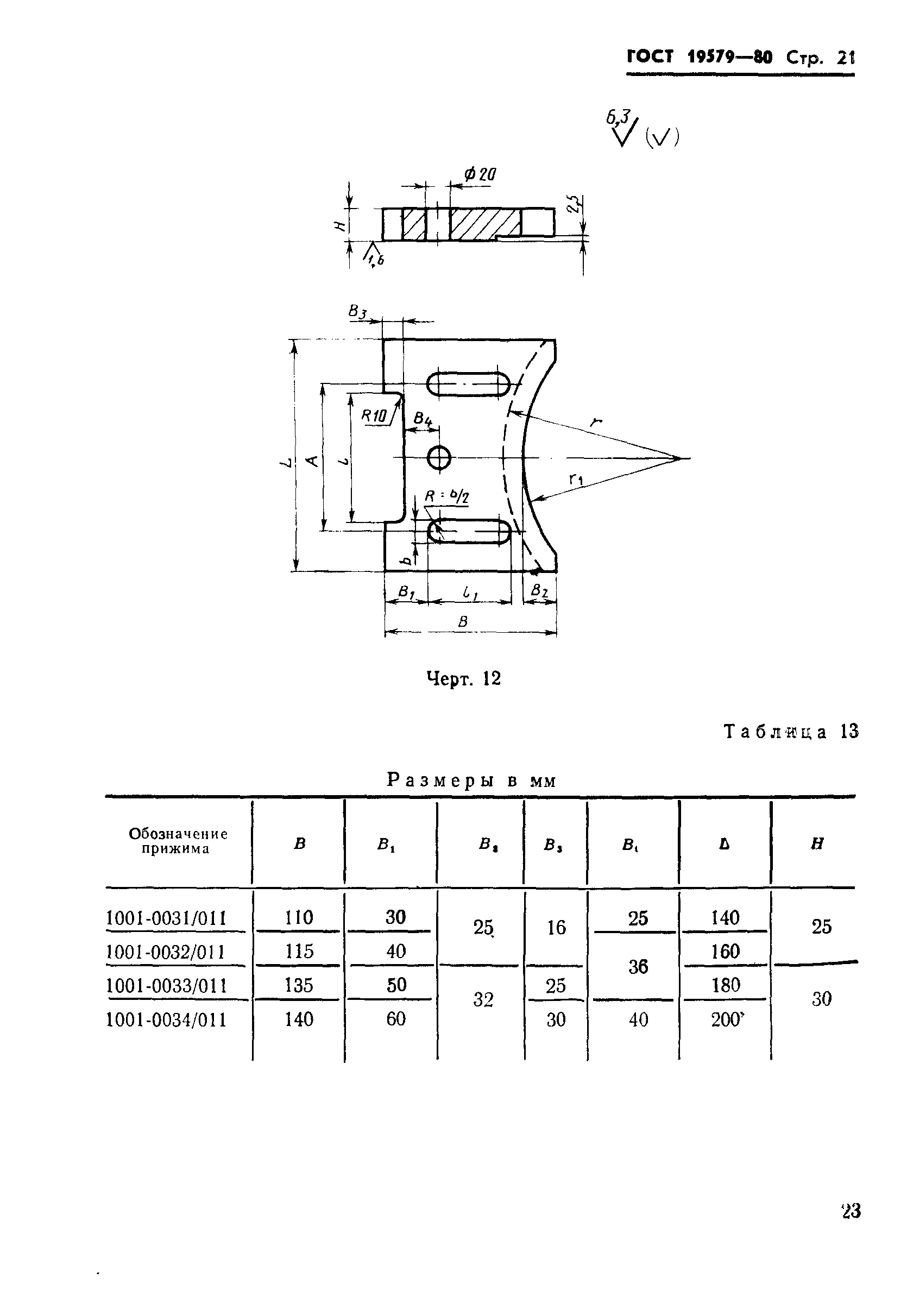
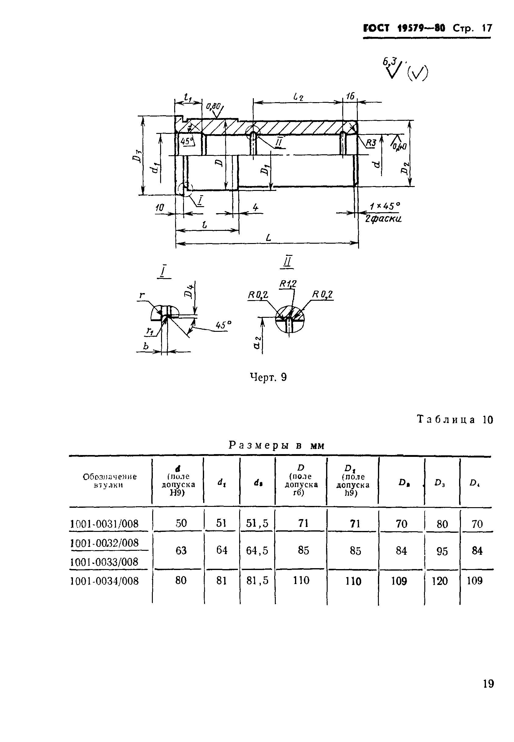
Область применения:Стандарт распространяется на блоки универсально-переналаживаемых штампов с четырьмя направляющими колонками для точной горячей объемной штамповки на однокривошинных закрытых прессах простого действия по ГОСТ 10026-75.
Оглавление:Приложение
Разработан: Министерство машиностроения для легкой и пищевой промышленности и бытовых приборов
Утверждён:12.11.1980 Государственный комитет СССР по стандартам (USSR National Committee on Standards 5323)
Список изменений:
Заменяет собой:
  • ГОСТ 19579-74 «Блоки универсально-переналаживаемых штампов для точной объемной штамповки на кривошипных прессах. Конструкция и размеры» (ИУС 1-81)
Нормативные ссылки:
ГОСТ 19579-80ГОСТ 19579-80ГОСТ 19579-80ГОСТ 19579-80ГОСТ 19579-80ГОСТ 19579-80ГОСТ 19579-80ГОСТ 19579-80ГОСТ 19579-80ГОСТ 19579-80ГОСТ 19579-80ГОСТ 19579-80ГОСТ 19579-80ГОСТ 19579-80ГОСТ 19579-80ГОСТ 19579-80ГОСТ 19579-80ГОСТ 19579-80ГОСТ 19579-80ГОСТ 19579-80ГОСТ 19579-80ГОСТ 19579-80ГОСТ 19579-80ГОСТ 19579-80ГОСТ 19579-80ГОСТ 19579-80ГОСТ 19579-80ГОСТ 19579-80ГОСТ 19579-80ГОСТ 19579-80ГОСТ 19579-80ГОСТ 19579-80ГОСТ 19579-80ГОСТ 19579-80ГОСТ 19579-80ГОСТ 19579-80

Текстовое изменение № 1 от 01.07.1987

№ 1№ 1