Скачать ГОСТ 19666-74 Приборы электроннолучевые. Калибры для проверки условной линии. Типы и основные размерыДата актуализации: 01.01.2021
|
| Обозначение: | ГОСТ 19666-74 |
| Обозначение англ: | GOST 19666-74 |
| Статус: | действует |
| Название рус.: | Приборы электроннолучевые. Калибры для проверки условной линии. Типы и основные размеры |
| Название англ.: | Cathode ray reference linegauges. Types and basic dimensions |
| Дата добавления в базу: | 01.09.2013 |
| Дата актуализации: | 01.01.2021 |
| Дата введения: | 01.07.1975 |
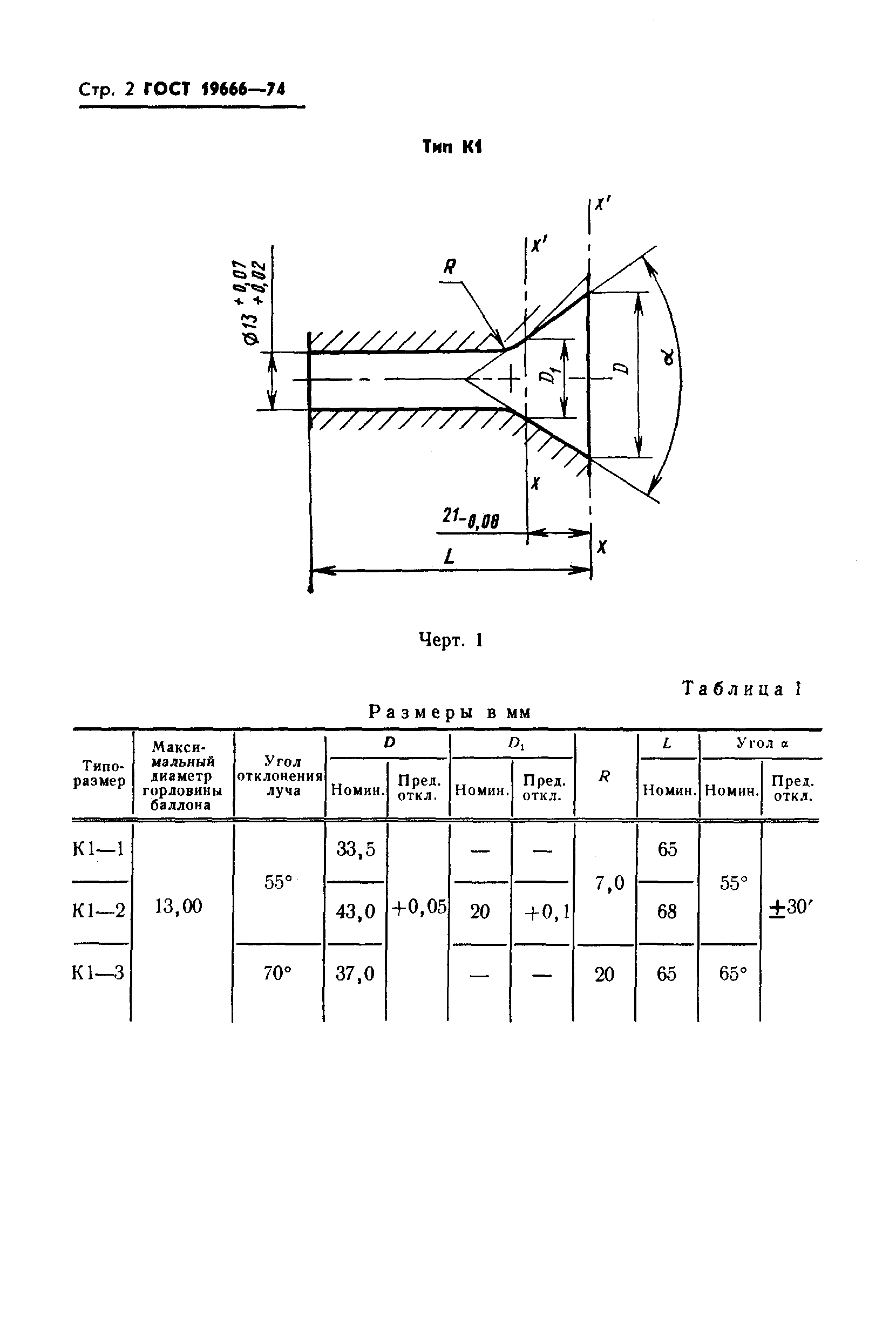
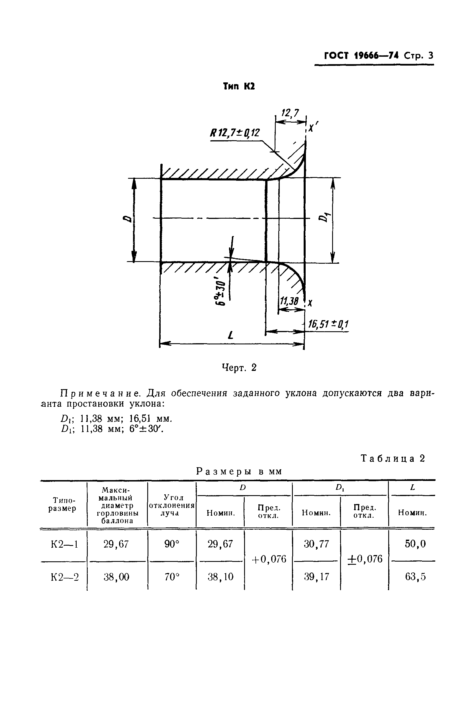
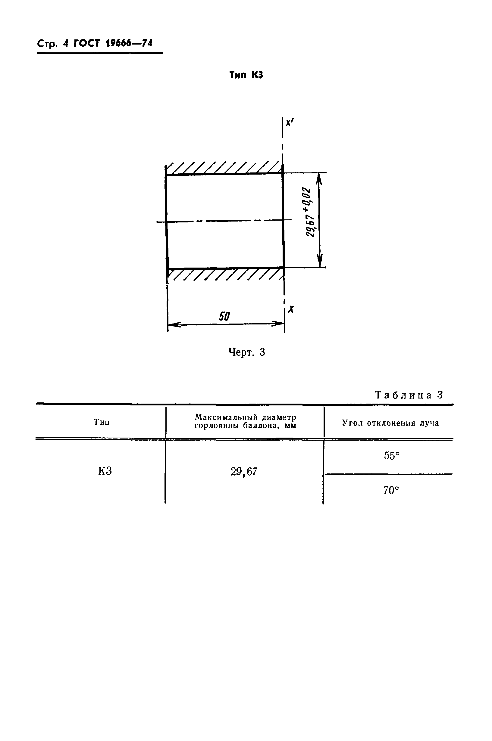
| Область применения: | Стандарт устанавливает типы профилей калибров электроннолучевых приборов и их основные контролируемые размеры для проверки условной линии кинескопов цветного и черно-белого телевидения, специальных и проекционных кинескопов, осциллографических трубок с магнитным отклонением луча, имеющих максимальный диаметр горловины баллона 13,00; 20,50; 29,67; 38,00 мм и углом отклонения луча по диагонали 55, 70, 90, 110 град. |
| Утверждён: | 04.04.1974 Госстандарт СССР (USSR Gosstandart 780) |
| Издан: | Издательство стандартов (1974 г. ) |









