Скачать ГОСТ 19750-84 Концевая часть затворов соединений с плоской металлической прокладкой. Конструкция и размеры

Дата актуализации: 01.01.2021

ГОСТ 19750-84

Концевая часть затворов соединений с плоской металлической прокладкой. Конструкция и размеры

Обозначение: ГОСТ 19750-84
Обозначение англ: GOST 19750-84
Статус:взамен
Название рус.:Концевая часть затворов соединений с плоской металлической прокладкой. Конструкция и размеры
Название англ.:Flat metal gasket joint gate end part. Design and dimensions
Дата добавления в базу:01.09.2013
Дата актуализации:01.01.2021
Дата введения:01.07.1985
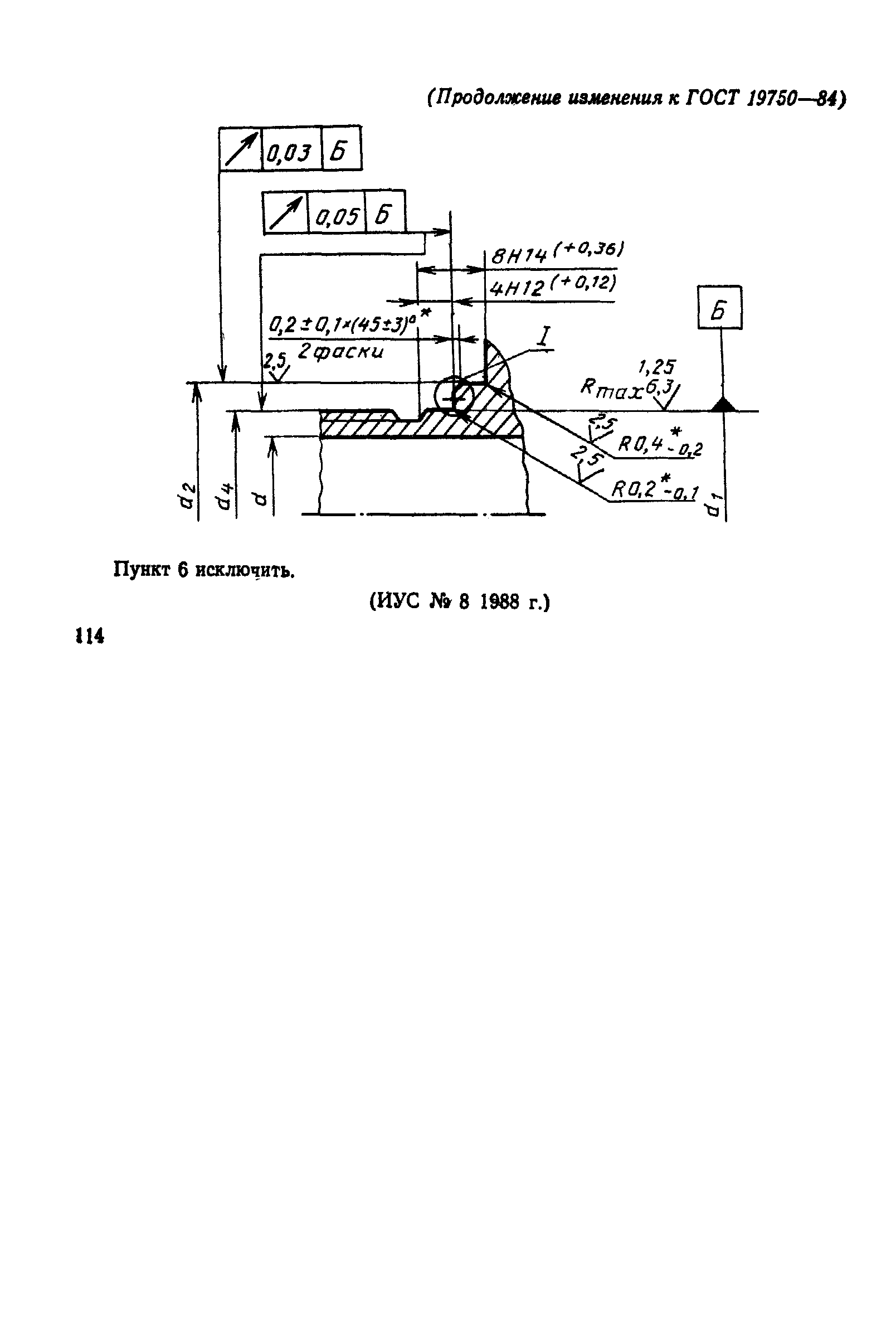
Область применения:Стандарт распространяется на концевую часть закрытых затворов соединений с плоской металлической прокладкой по ГОСТ 19749-84.
Утверждён:29.05.1984 Государственный комитет СССР по стандартам (USSR National Committee on Standards 1767)
Список изменений:
Нормативные ссылки:
ГОСТ 19750-84ГОСТ 19750-84ГОСТ 19750-84ГОСТ 19750-84ГОСТ 19750-84ГОСТ 19750-84

Текстовое изменение № 1 от 01.01.1989

№ 1№ 1