Скачать ГОСТ 19777-74 Пальцы режущих аппаратов сельскохозяйственных машин. Технические условияДата актуализации: 01.01.2021
|
| Обозначение: | ГОСТ 19777-74 |
| Обозначение англ: | GOST 19777-74 |
| Статус: | действует |
| Название рус.: | Пальцы режущих аппаратов сельскохозяйственных машин. Технические условия |
| Название англ.: | Finges for cutter bars of agricultural machines. Specification |
| Дата добавления в базу: | 01.09.2013 |
| Дата актуализации: | 01.01.2021 |
| Дата введения: | 01.01.1975 |
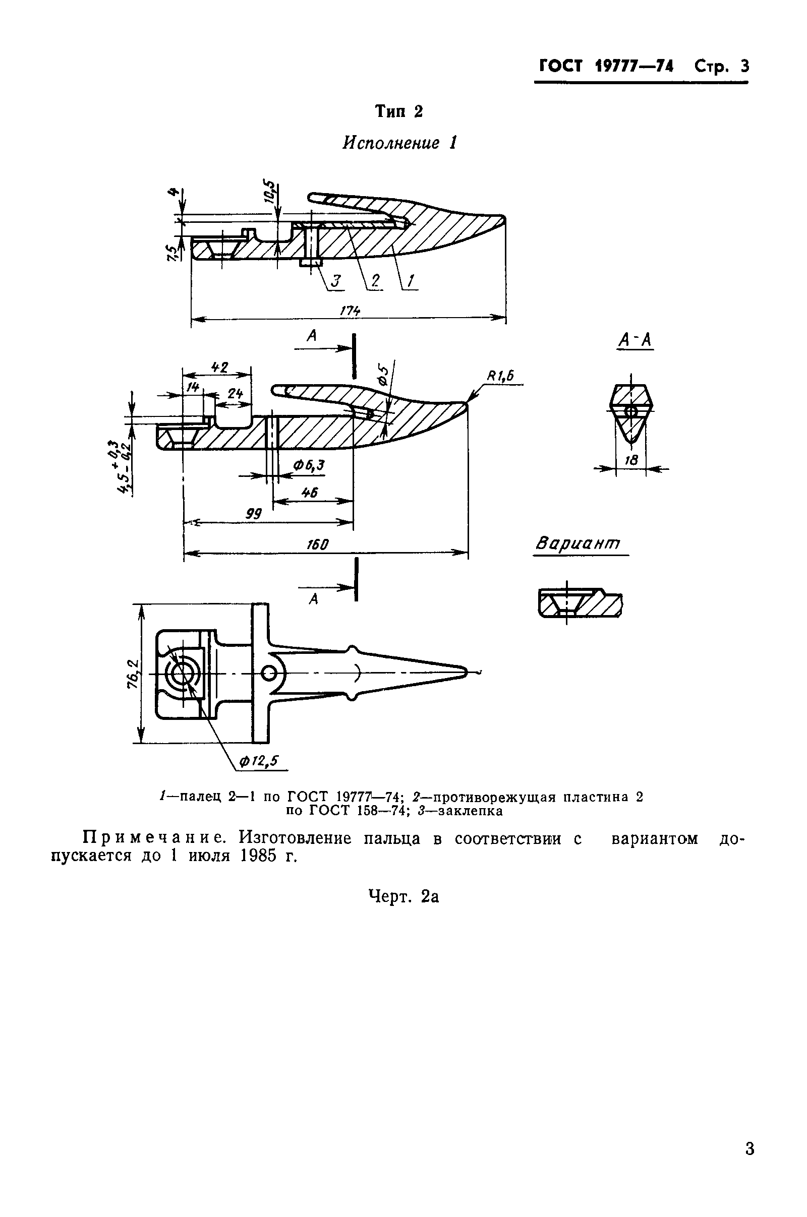
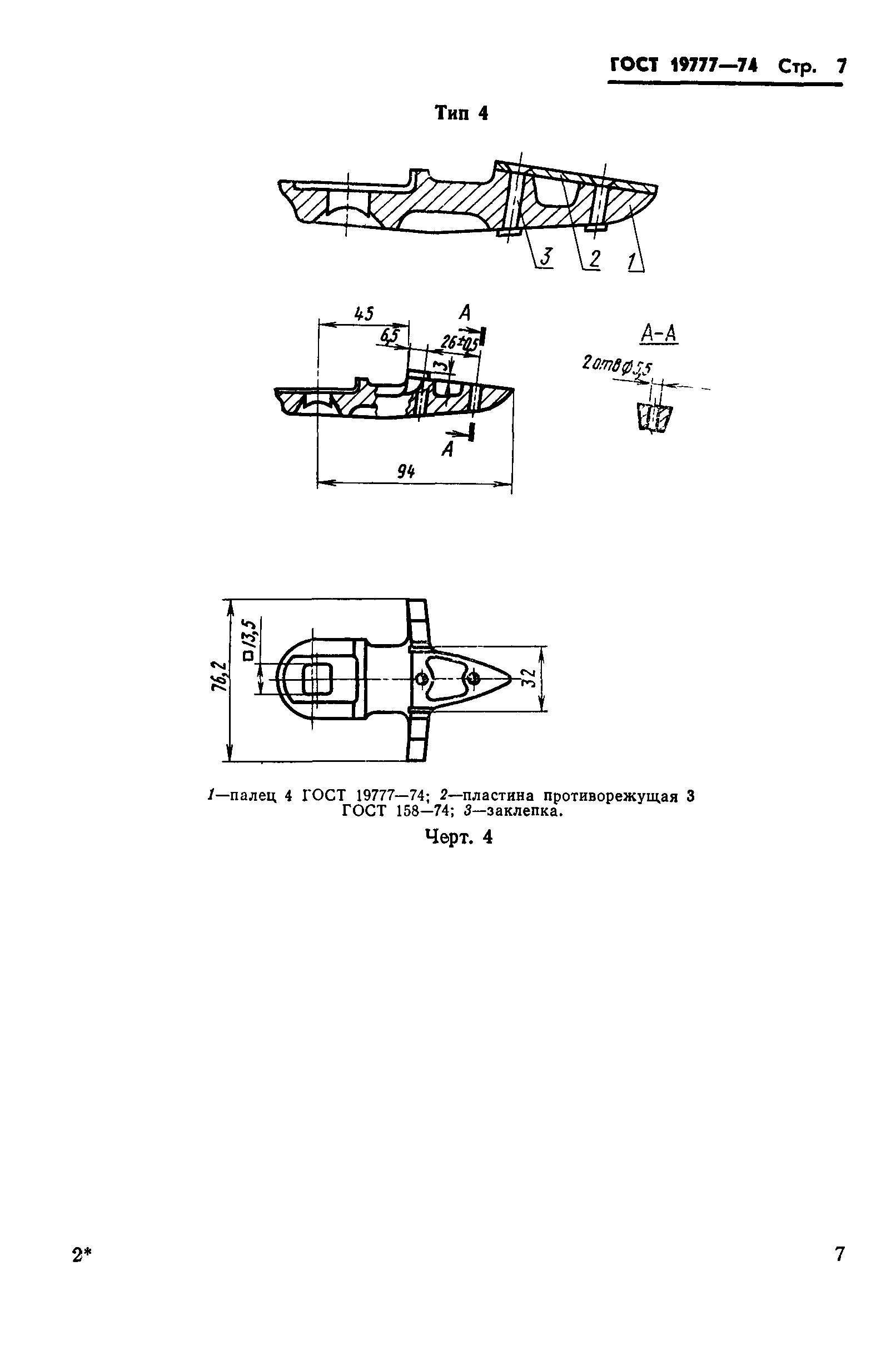
| Оглавление: | 1 Типы и основные размеры 2 Технические требования 3 Правила приемки 4 Методы контроля 5 Маркировка, упаковка, транспортирование и хранение 6 Гарантии изготовителя Приложение Информационные данные о соответствии ГОСТ 19777-74 и СТ СЭВ 1592-79 и СТ СЭВ 1597-79 |
| Утверждён: | 12.05.1974 Госстандарт СССР (USSR Gosstandart 1112) |


















