Скачать ГОСТ 19867-93 Рубашки форменные. Технические условияДата актуализации: 01.01.2021
|
| Обозначение: | ГОСТ 19867-93 |
| Обозначение англ: | GOST 19867-93 |
| Статус: | взамен |
| Название рус.: | Рубашки форменные. Технические условия |
| Название англ.: | Uniform shirts. Specifications |
| Дата добавления в базу: | 01.09.2013 |
| Дата актуализации: | 01.01.2021 |
| Дата введения: | 01.01.1995 |
| Область применения: | Стандарт распространяется на форменные рубашки, поставляемые для Вооруженных Сил, Министерства внутренних дел и Комитета государственной безопасности. |
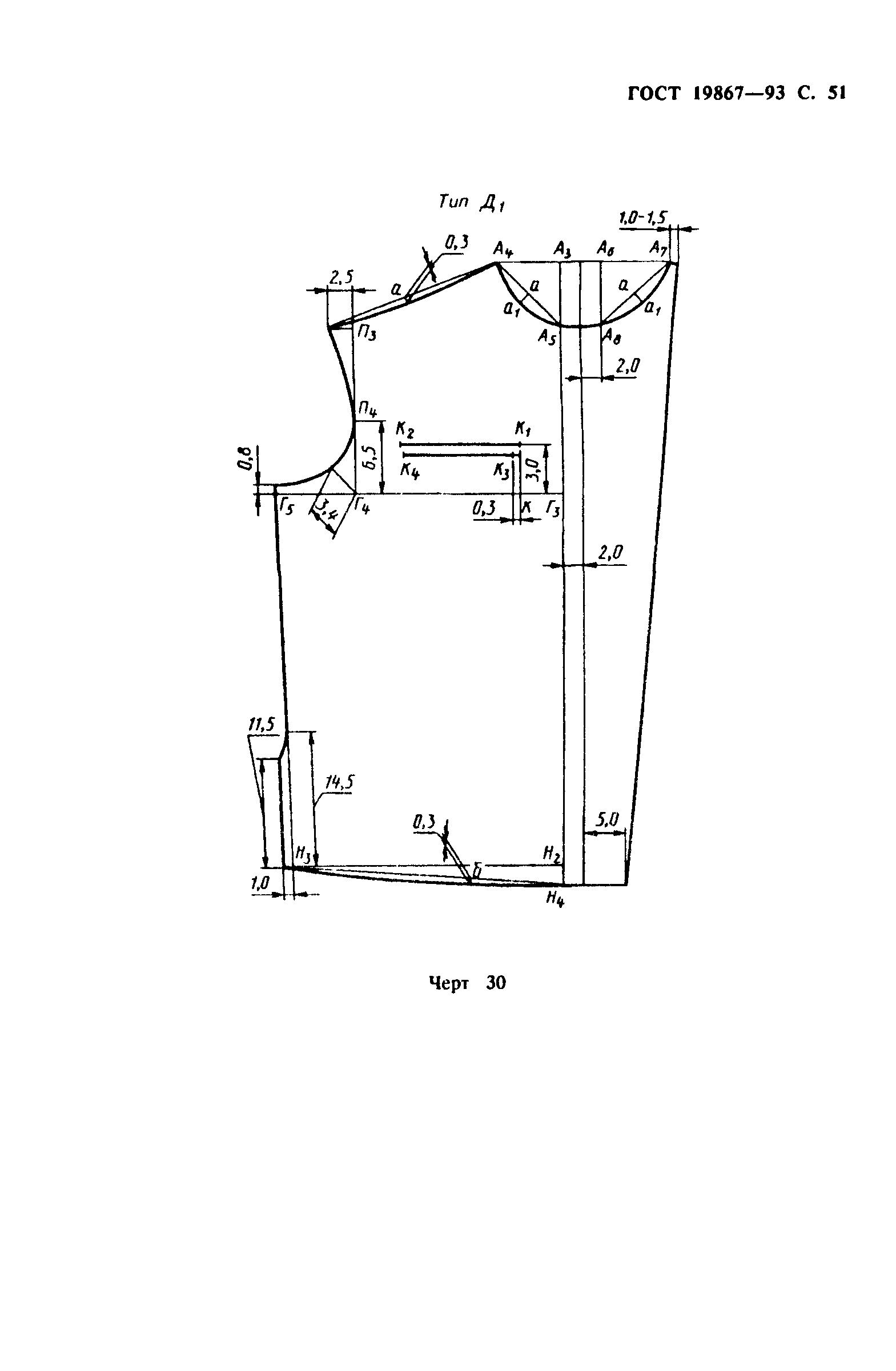
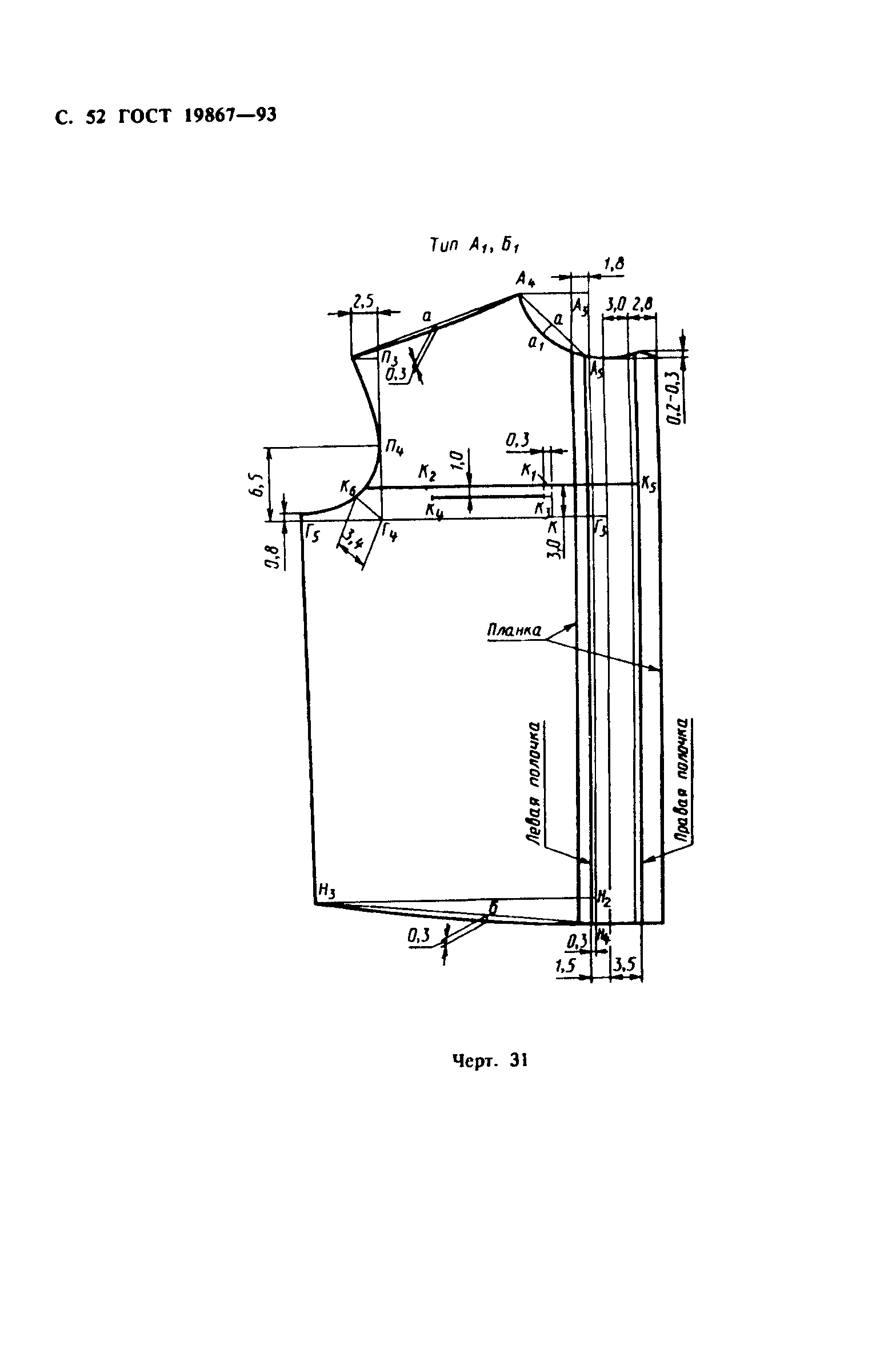
| Оглавление: | Предисловие 1 Технические требования 2 Приемка 3 Методы контроля 4 Транспортирование и хранение Приложение 1 (рекомендуемое) Особенности обработки Приложение 2 (рекомендуемое) Пособие для построения чертежей лекал рубашек Приложение 3 (справочное) Спецификация деталей рубашек Приложение 4 (справочное) Коды ОКП на рубашки |
| Разработан: | Госстандарт России |
| Утверждён: | 21.10.1993 Межгосударственный Совет по стандартизации, метрологии и сертификации (Inter-Governmental Council on Standardization, Metrology, and Certification ) 02.06.1994 Комитет Российской Федерации по стандартизации, метрологии и сертификации (160) |
| Издан: | ИПК Издательство стандартов (1995 г. ) |
| Заменяет собой: |
|
| Нормативные ссылки: |
|







































































