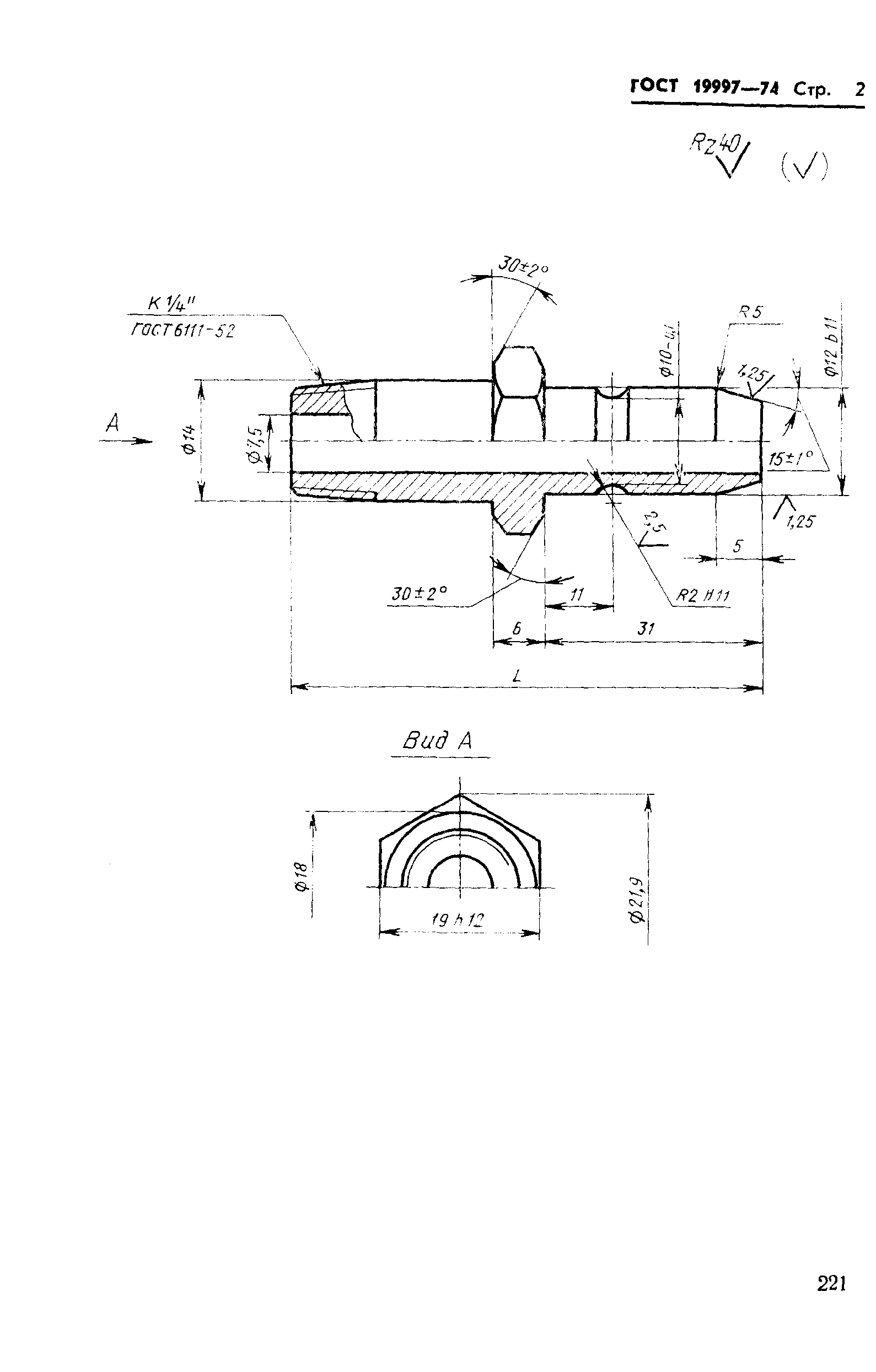
Скачать ГОСТ 19997-74 Ниппели ввертные пресс-форм для выплавляемых моделей. Конструкция и размерыДата актуализации: 01.01.2021 ГОСТ 19997-74
Ниппели ввертные пресс-форм для выплавляемых моделей. Конструкция и размеры| Обозначение: | ГОСТ 19997-74 | | Обозначение англ: | GOST 19997-74 | | Статус: | действует | | Название рус.: | Ниппели ввертные пресс-форм для выплавляемых моделей. Конструкция и размеры | | Название англ.: | Screwed-in nipple for wax-pattern dies. Design and dimensions | | Дата добавления в базу: | 01.09.2013 | | Дата актуализации: | 01.01.2021 | | Дата введения: | 01.01.1976 | | Утверждён: | 26.07.1974 Госстандарт СССР (USSR Gosstandart 1779)
| | Заменяет собой: | - МН 4331-63 (Сведения из перечня "Указатель государственных стандартов СССР 1980 г.", Издательство стандартов 1980)
|
 
|