Скачать ГОСТ 20155-74 Плиты модельные со сменными глубокими деревянными вкладышами для опок размерами в свету 400х300 мм, 450х350 мм, 500х400 мм на формовочные литейные машины без поворота полуформы с допрессовкой. Конструкция и размерыДата актуализации: 01.01.2021 ГОСТ 20155-74
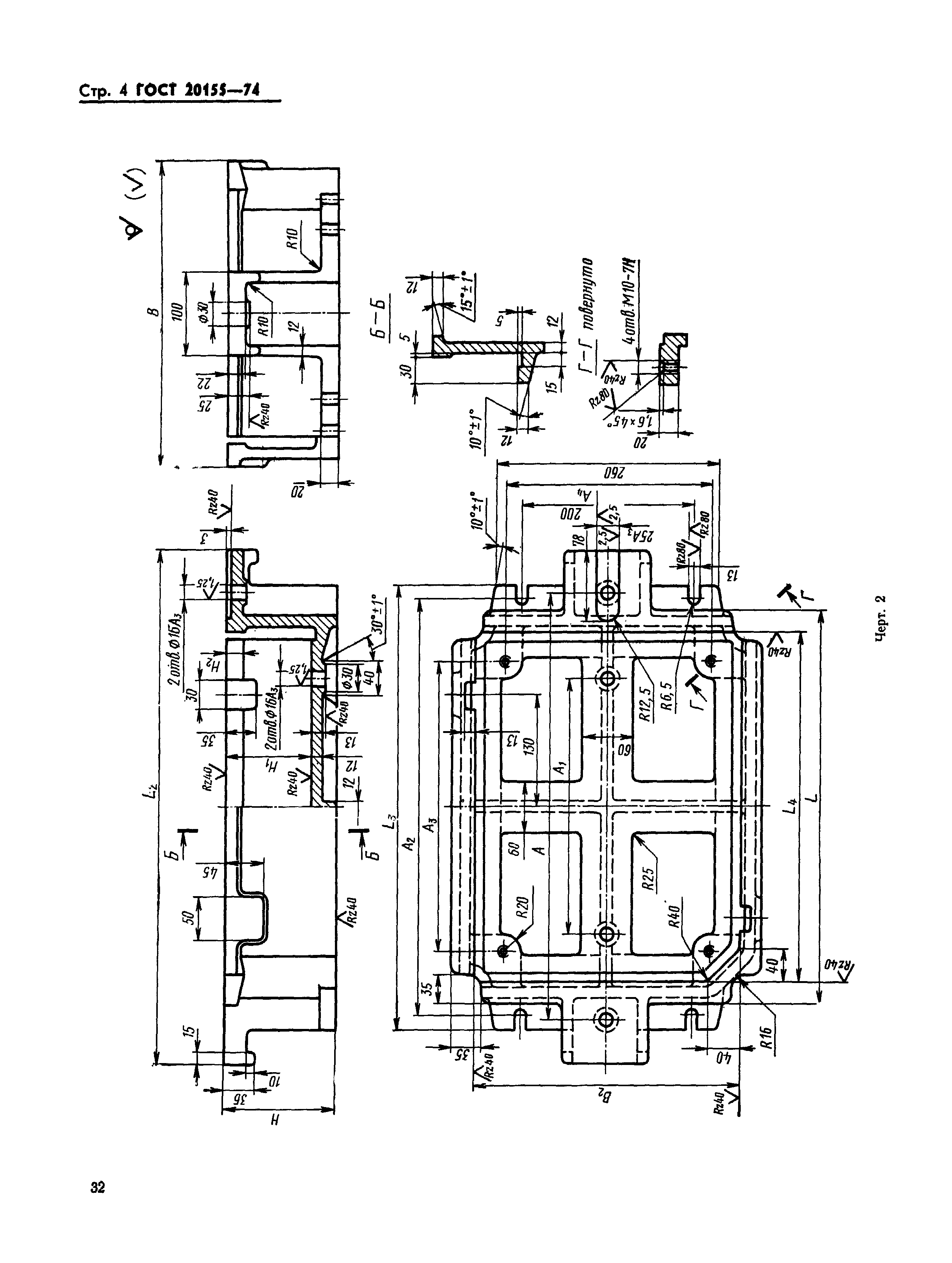
Плиты модельные со сменными глубокими деревянными вкладышами для опок размерами в свету 400х300 мм, 450х350 мм, 500х400 мм на формовочные литейные машины без поворота полуформы с допрессовкой. Конструкция и размеры| Обозначение: | ГОСТ 20155-74 | | Обозначение англ: | GOST 20155-74 | | Статус: | действует | | Название рус.: | Плиты модельные со сменными глубокими деревянными вкладышами для опок размерами в свету 400х300 мм, 450х350 мм, 500х400 мм на формовочные литейные машины без поворота полуформы с допрессовкой. Конструкция и размеры | | Название англ.: | Pattern plates with deep changeable wooden inserts for moulding box having inside dimensions 400x300 mm, 450x350 mm, 500x400 mm for moulding foundry machines without turn of half mould with squeezing. Design and dimensions | | Дата добавления в базу: | 01.09.2013 | | Дата актуализации: | 01.01.2021 | | Дата введения: | 01.07.1975 | | Утверждён: | 27.08.1974 Госстандарт СССР (USSR Gosstandart 2067)
| | Заменяет собой: | - МН 1890-61 (Сведения из перечня "Указатель государственных стандартов СССР 1980 г.", Издательство стандартов 1980)
|
       
|