Скачать ГОСТ 20159-74 Плиты модельные со сменными деревянными вкладышами для опоки размерами в свету 1000х800 мм на формовочные литейные машины с поворотом полуформы с допрессовкой. Конструкция и размеры

Дата актуализации: 01.01.2021

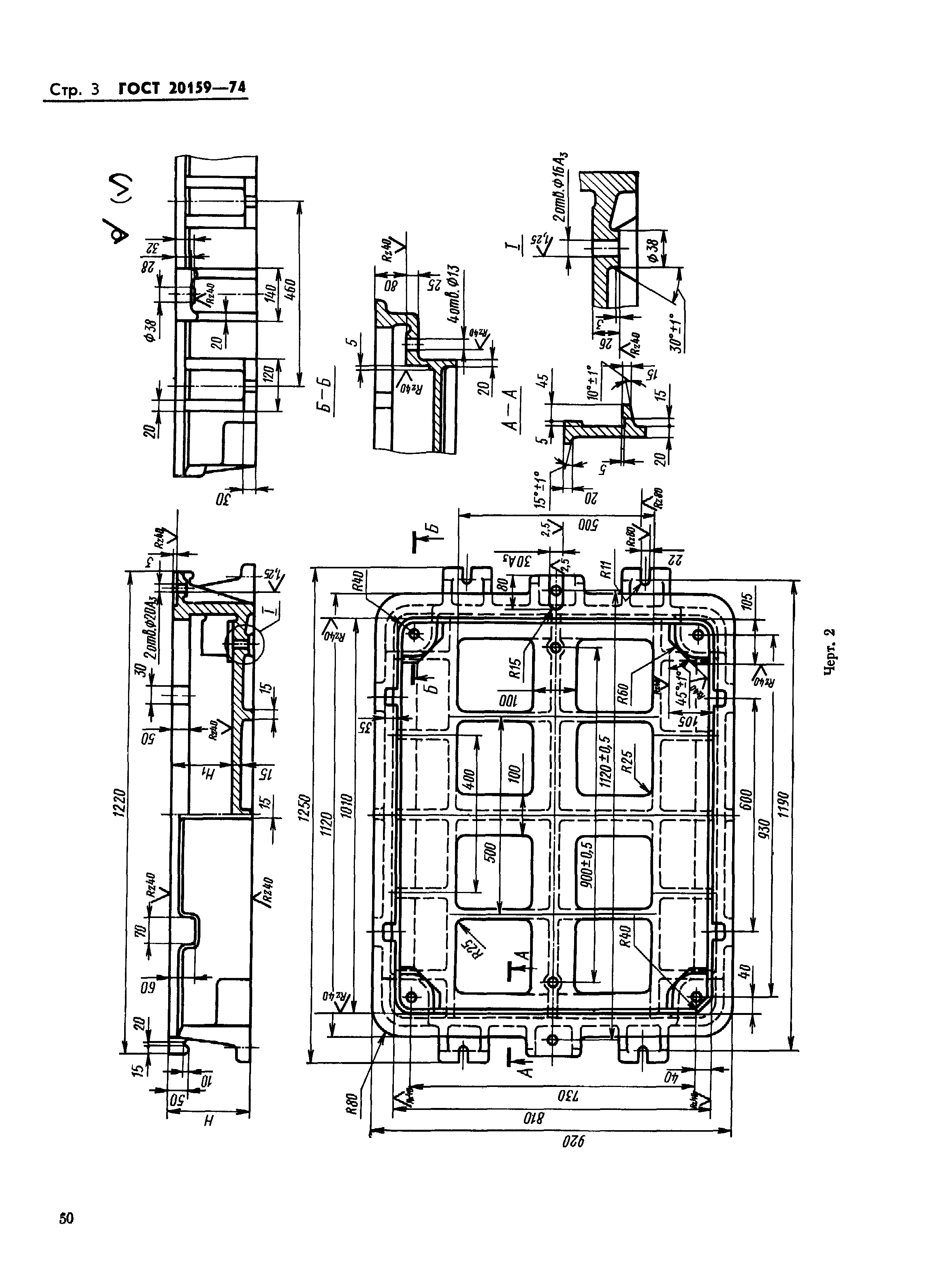
ГОСТ 20159-74

Плиты модельные со сменными деревянными вкладышами для опоки размерами в свету 1000х800 мм на формовочные литейные машины с поворотом полуформы с допрессовкой. Конструкция и размеры

Обозначение: ГОСТ 20159-74
Обозначение англ: GOST 20159-74
Статус:действует
Название рус.:Плиты модельные со сменными деревянными вкладышами для опоки размерами в свету 1000х800 мм на формовочные литейные машины с поворотом полуформы с допрессовкой. Конструкция и размеры
Название англ.:Pattern plates with changeable wooden inserts for moulding box having inside dimensions 100x800 mm for moulding foundry machines with turn of half mould with squeezing. Design and dimensions
Дата добавления в базу:01.09.2013
Дата актуализации:01.01.2021
Дата введения:01.07.1975
Утверждён:27.08.1974 Госстандарт СССР (USSR Gosstandart 2067)
Заменяет собой:
  • МН 1896-61 (Сведения из перечня "Указатель государственных стандартов СССР 1980 г.", Издательство стандартов 1980)
ГОСТ 20159-74ГОСТ 20159-74ГОСТ 20159-74ГОСТ 20159-74ГОСТ 20159-74ГОСТ 20159-74ГОСТ 20159-74ГОСТ 20159-74