Скачать ГОСТ 20165-74 Плиты модельные со сменными деревянными вкладышами для опоки размерами в свету 2600х1600 мм на формовочные литейные машины с поворотом полуформы без допрессовки. Конструкция и размеры

Дата актуализации: 01.01.2021

ГОСТ 20165-74

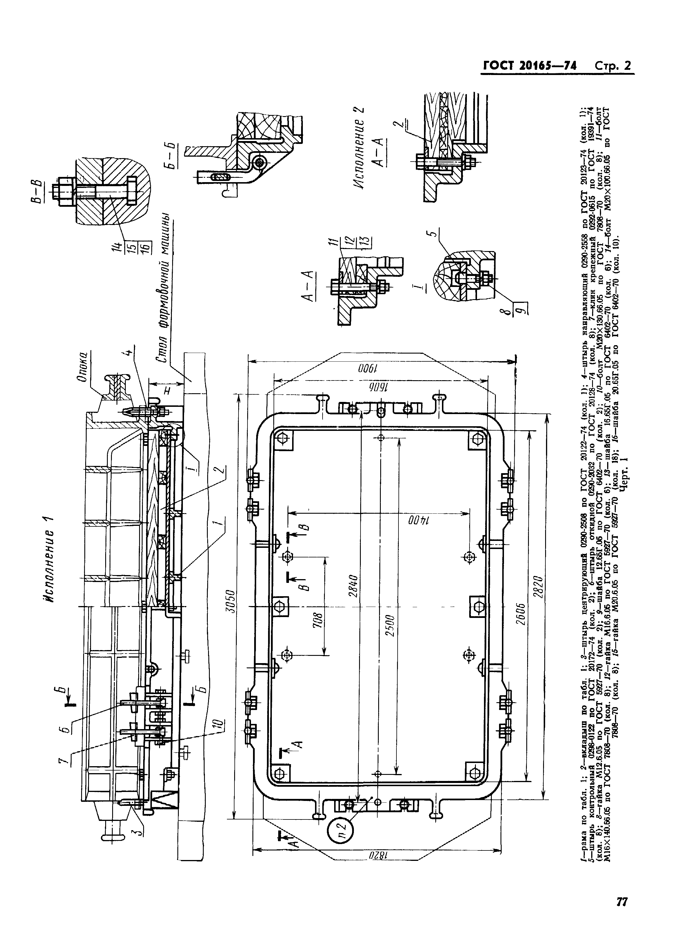
Плиты модельные со сменными деревянными вкладышами для опоки размерами в свету 2600х1600 мм на формовочные литейные машины с поворотом полуформы без допрессовки. Конструкция и размеры

Обозначение: ГОСТ 20165-74
Обозначение англ: GOST 20165-74
Статус:действует
Название рус.:Плиты модельные со сменными деревянными вкладышами для опоки размерами в свету 2600х1600 мм на формовочные литейные машины с поворотом полуформы без допрессовки. Конструкция и размеры
Название англ.:Pattern plates with changeable wooden inserts for moulding box having inside dimensions 2600x1600 mm for moulding foundry machines with turn of half mould without squeezing. Design and dimensions
Дата добавления в базу:01.09.2013
Дата актуализации:01.01.2021
Дата введения:01.07.1975
Утверждён:27.08.1974 Госстандарт СССР (USSR Gosstandart 2067)
ГОСТ 20165-74ГОСТ 20165-74ГОСТ 20165-74ГОСТ 20165-74ГОСТ 20165-74ГОСТ 20165-74ГОСТ 20165-74ГОСТ 20165-74