Скачать ГОСТ 20168-74 Вкладыши деревянные сменные длиной от 1006 до 2006 мм, шириной от 806 до 1606 мм для модельных плит. Конструкция и размерыДата актуализации: 01.01.2021 ГОСТ 20168-74
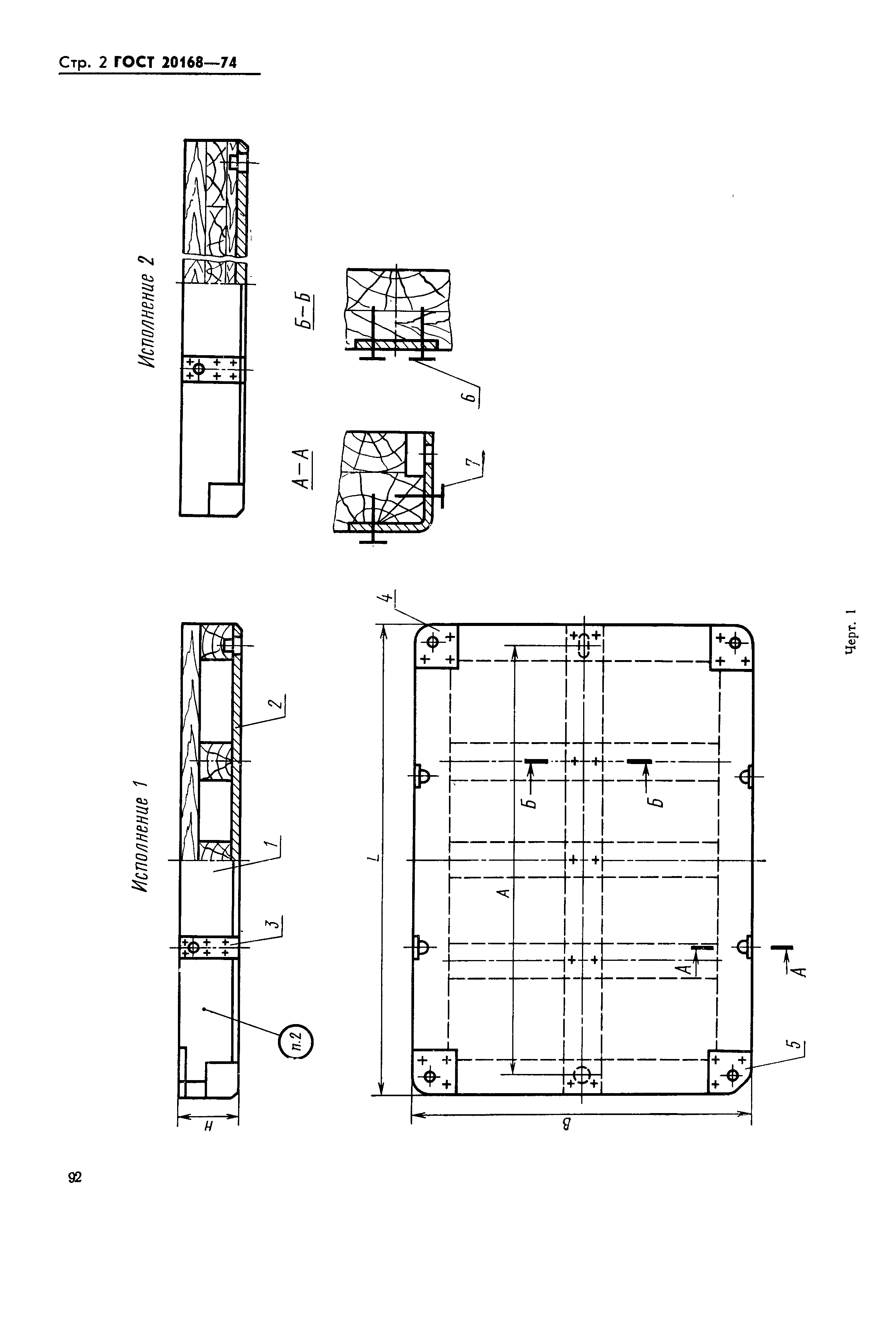
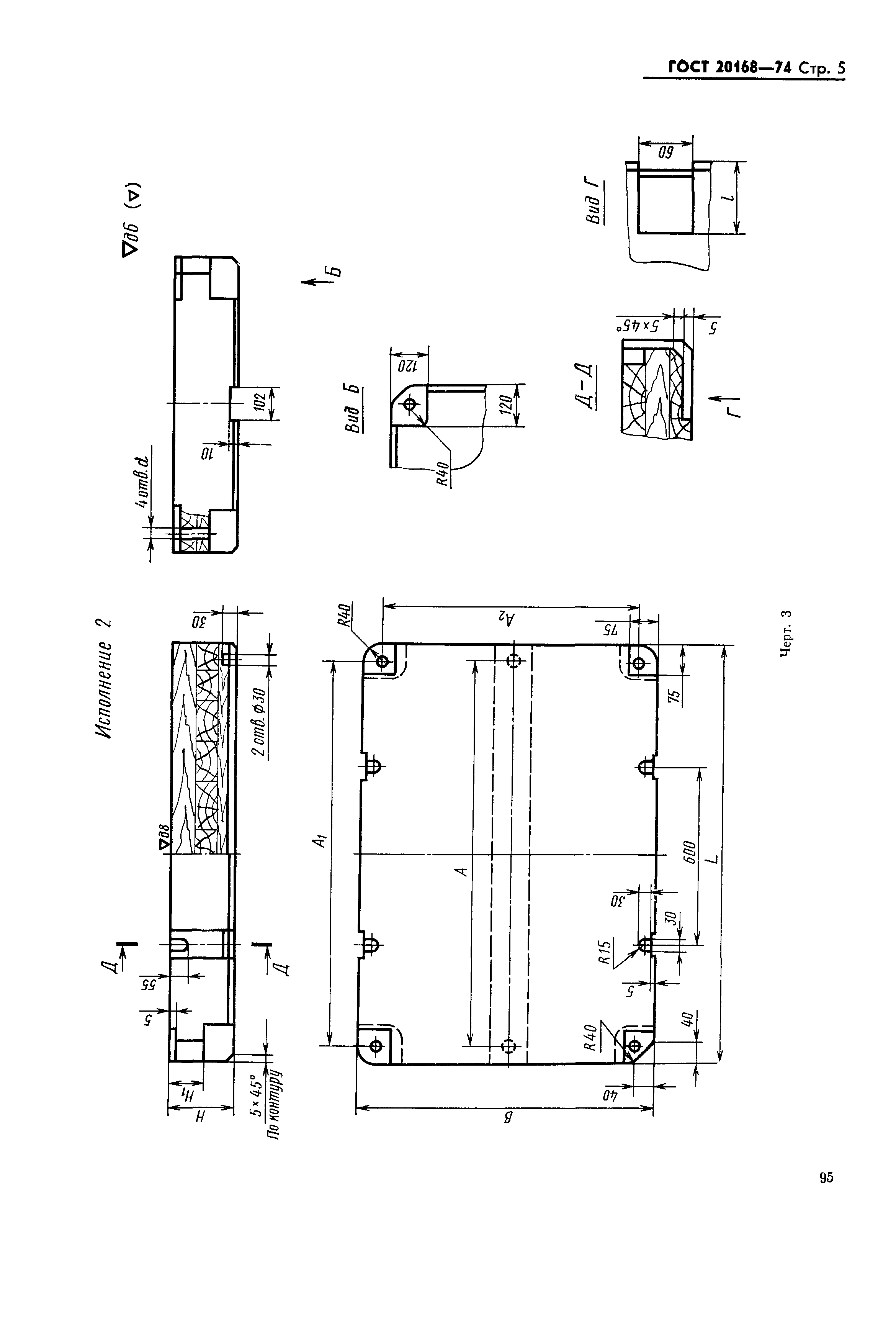
Вкладыши деревянные сменные длиной от 1006 до 2006 мм, шириной от 806 до 1606 мм для модельных плит. Конструкция и размеры| Обозначение: | ГОСТ 20168-74 | | Обозначение англ: | GOST 20168-74 | | Статус: | действует | | Название рус.: | Вкладыши деревянные сменные длиной от 1006 до 2006 мм, шириной от 806 до 1606 мм для модельных плит. Конструкция и размеры | | Название англ.: | Changeable wooden inserts by length from 1006 to 2006 mm, width from 806 to 1606 mm for pattern plates. Design and dimensions | | Дата добавления в базу: | 01.09.2013 | | Дата актуализации: | 01.01.2021 | | Дата введения: | 01.07.1975 | | Утверждён: | 27.08.1974 Госстандарт СССР (USSR Gosstandart 2067)
| | Заменяет собой: | - МН 1905-61 (Сведения из перечня "Указатель государственных стандартов СССР 1980 г.", Издательство стандартов 1980)
|
       
|