Скачать ГОСТ 20199-74 Тройники ввертные под резиновое уплотнение для соединений трубопроводов по наружному конусу. Конструкция и размеры

Дата актуализации: 01.01.2021

ГОСТ 20199-74

Тройники ввертные под резиновое уплотнение для соединений трубопроводов по наружному конусу. Конструкция и размеры

Обозначение: ГОСТ 20199-74
Обозначение англ: GOST 20199-74
Статус:действует
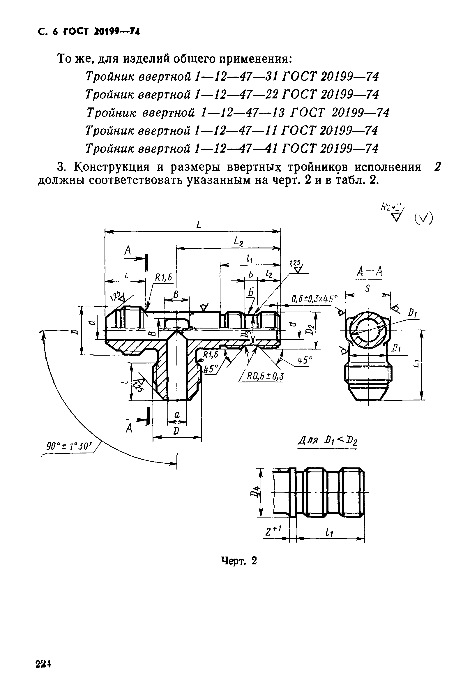
Название рус.:Тройники ввертные под резиновое уплотнение для соединений трубопроводов по наружному конусу. Конструкция и размеры
Название англ.:Union tees screwed for rubber packer for tube connections on external cone. Construction and dimensions
Дата добавления в базу:01.09.2013
Дата актуализации:01.01.2021
Дата введения:01.07.1975
Утверждён:10.09.1974 Госстандарт СССР (USSR Gosstandart 2124)
Издан: ИПК Издательство стандартов (2002 г. )
ГОСТ 20199-74ГОСТ 20199-74ГОСТ 20199-74ГОСТ 20199-74ГОСТ 20199-74ГОСТ 20199-74ГОСТ 20199-74ГОСТ 20199-74ГОСТ 20199-74ГОСТ 20199-74ГОСТ 20199-74