Скачать ГОСТ 20398.10-80 Транзисторы полевые. Метод измерения тока стока в импульсном режимеДата актуализации: 01.01.2021
|
| Обозначение: | ГОСТ 20398.10-80 |
| Обозначение англ: | GOST 20398.10-80 |
| Статус: | действует |
| Название рус.: | Транзисторы полевые. Метод измерения тока стока в импульсном режиме |
| Название англ.: | Field-effect transistors. Drain current for vgs=0 impulse measurement technique |
| Дата добавления в базу: | 01.09.2013 |
| Дата актуализации: | 01.01.2021 |
| Дата введения: | 01.01.1982 |
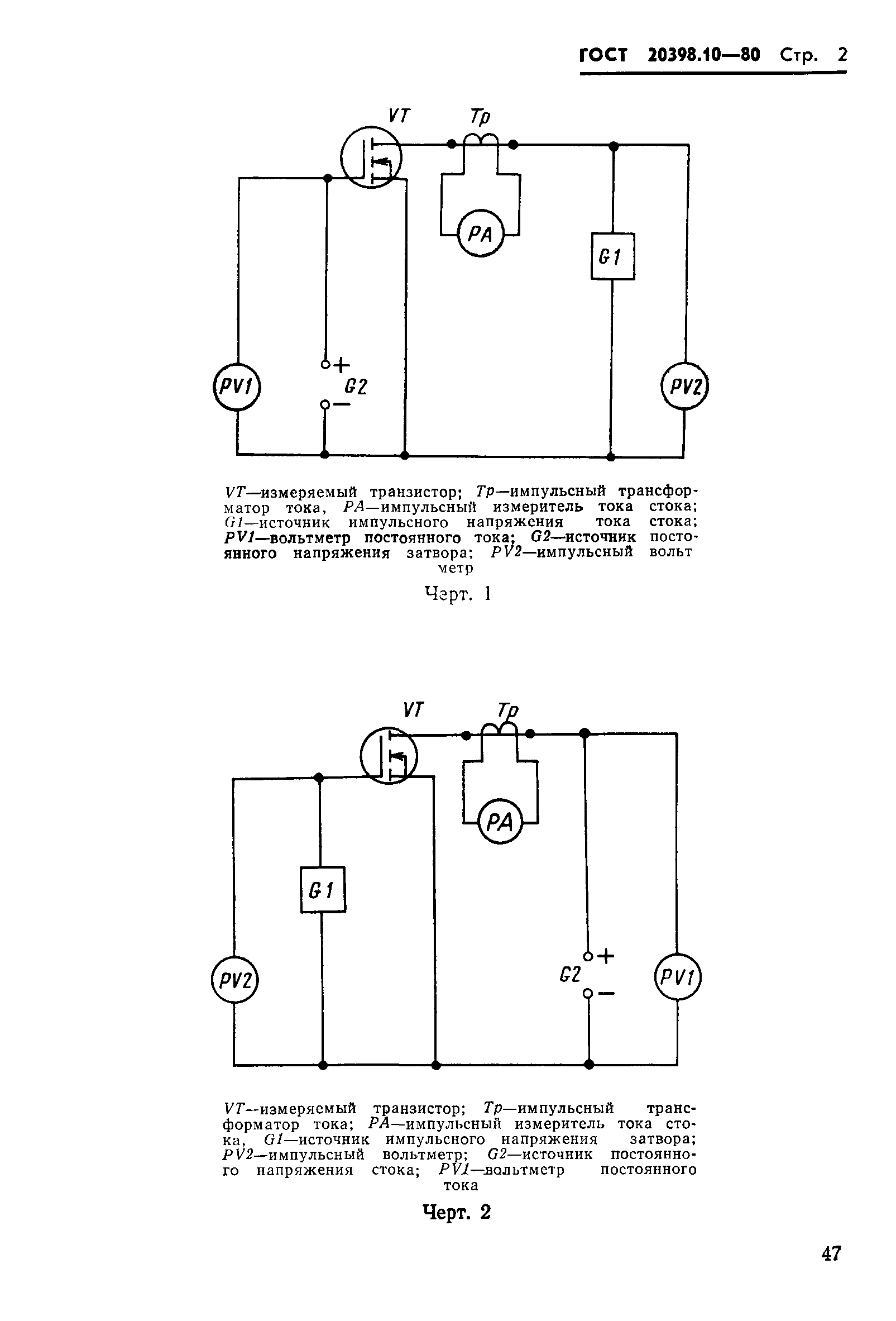
| Оглавление: | 1 Принцип и условия измерения 2 Аппаратура 3 Подготовка и проведение измерений 4 Показатели точности измерения |
| Утверждён: | 12.12.1980 Госстандарт СССР (USSR Gosstandart 5805) |


