Скачать ГОСТ 20485-75 Пайка. Метод определения затекания припоя в зазорДата актуализации: 01.01.2021
|
| Обозначение: | ГОСТ 20485-75 |
| Обозначение англ: | GOST 20485-75 |
| Статус: | действует |
| Название рус.: | Пайка. Метод определения затекания припоя в зазор |
| Название англ.: | Soldering and brazing. Method for determining the filling of the clearance by the solder |
| Дата добавления в базу: | 01.09.2013 |
| Дата актуализации: | 01.01.2021 |
| Дата введения: | 01.01.1976 |
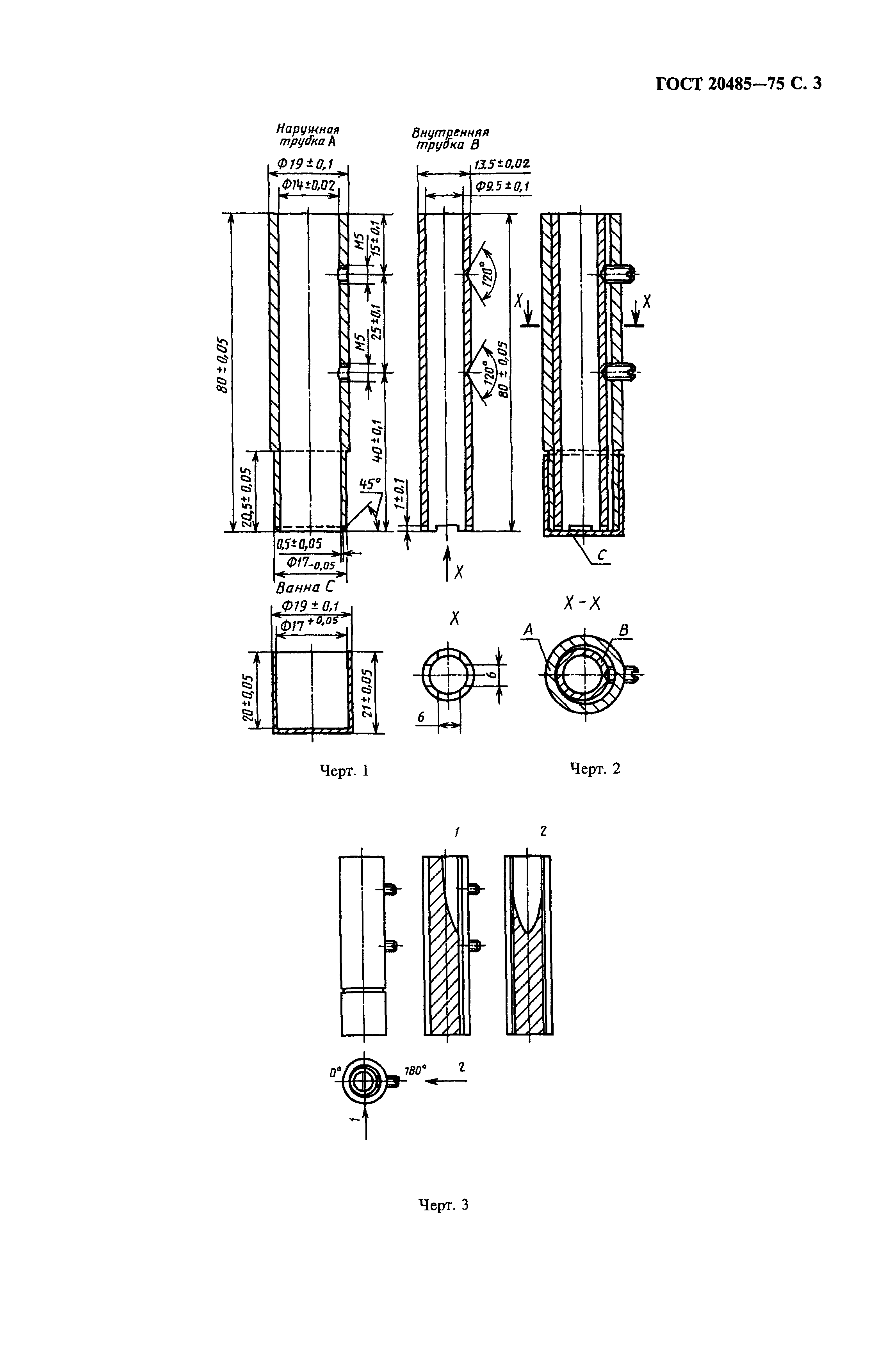
| Область применения: | Стандарт устанавливает метод определения затекания припоя в горизонтальный зазор по коэффициенту затекания и коэффициенту пористости и метод определения затекания припоя в вертикальный зазор переменной величины по высоте подъема. |
| Оглавление: | 1 Метод определения затекания припоя в горизонтальный зазор 2 Метод определения затекания припоя в вертикальный зазор 3 Обработка результатов |
| Разработан: | Госстандарт СССР |
| Утверждён: | 07.02.1975 Госстандарт СССР (USSR Gosstandart 350) |
| Издан: | Издательство стандартов (1975 г. ) ИПК Издательство стандартов (2000 г. ) |
| Список изменений: |
|
| Нормативные ссылки: |







Текстовое изменение № 2 от 01.07.1988


