Скачать ГОСТ 20925-75 Блоки сменных пресс-форм с нижней загрузочной камерой для прессования изделий из реактопластов. Конструкция и размерыДата актуализации: 01.01.2021
|
| Обозначение: | ГОСТ 20925-75 |
| Обозначение англ: | GOST 20925-75 |
| Статус: | действует |
| Название рус.: | Блоки сменных пресс-форм с нижней загрузочной камерой для прессования изделий из реактопластов. Конструкция и размеры |
| Название англ.: | Units of changeable press-moulds with lowpositioned loading chamber for moulding thermoset articles. Construction and dimensions |
| Дата добавления в базу: | 01.09.2013 |
| Дата актуализации: | 01.01.2021 |
| Дата введения: | 01.07.1976 |
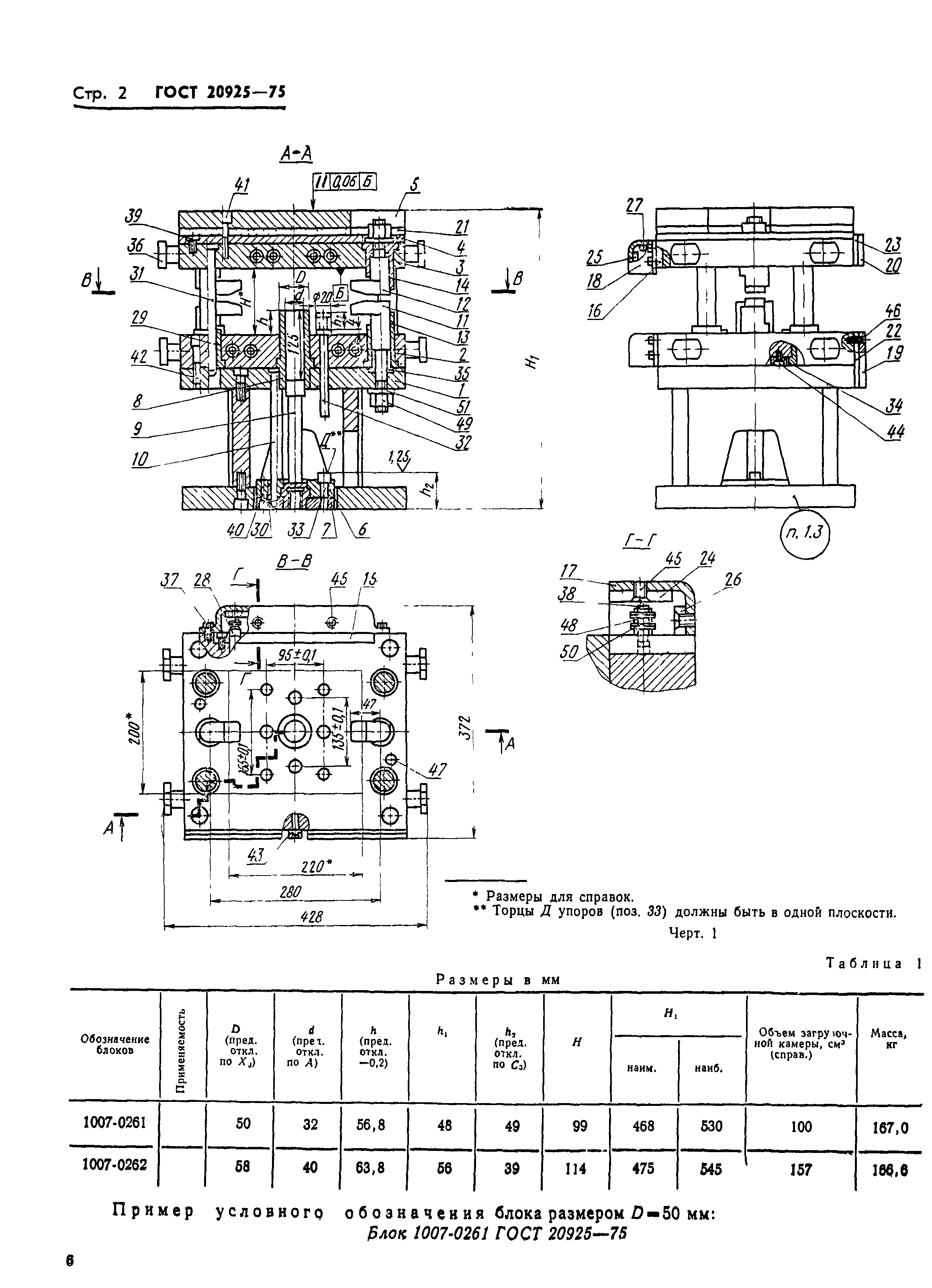
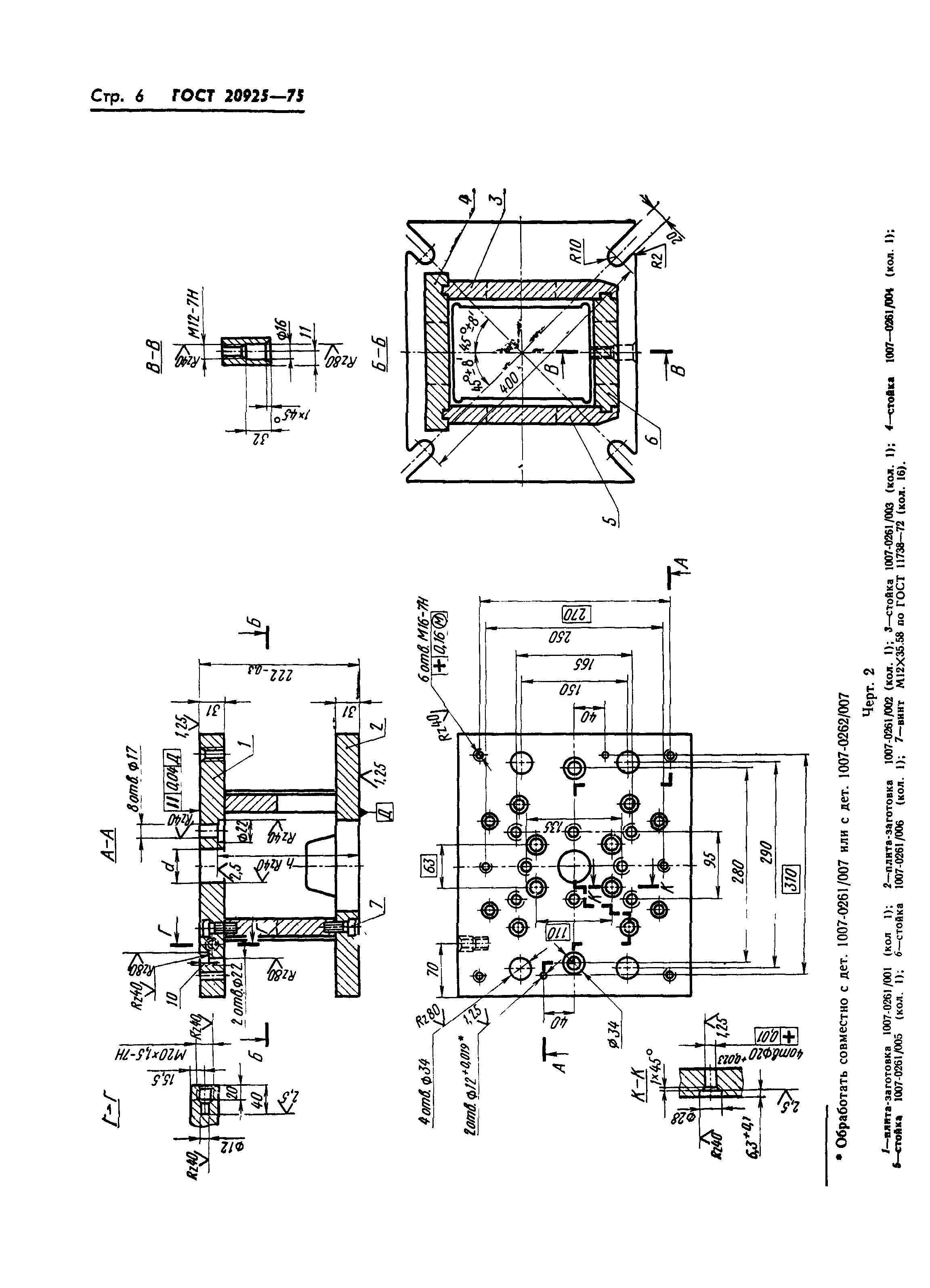
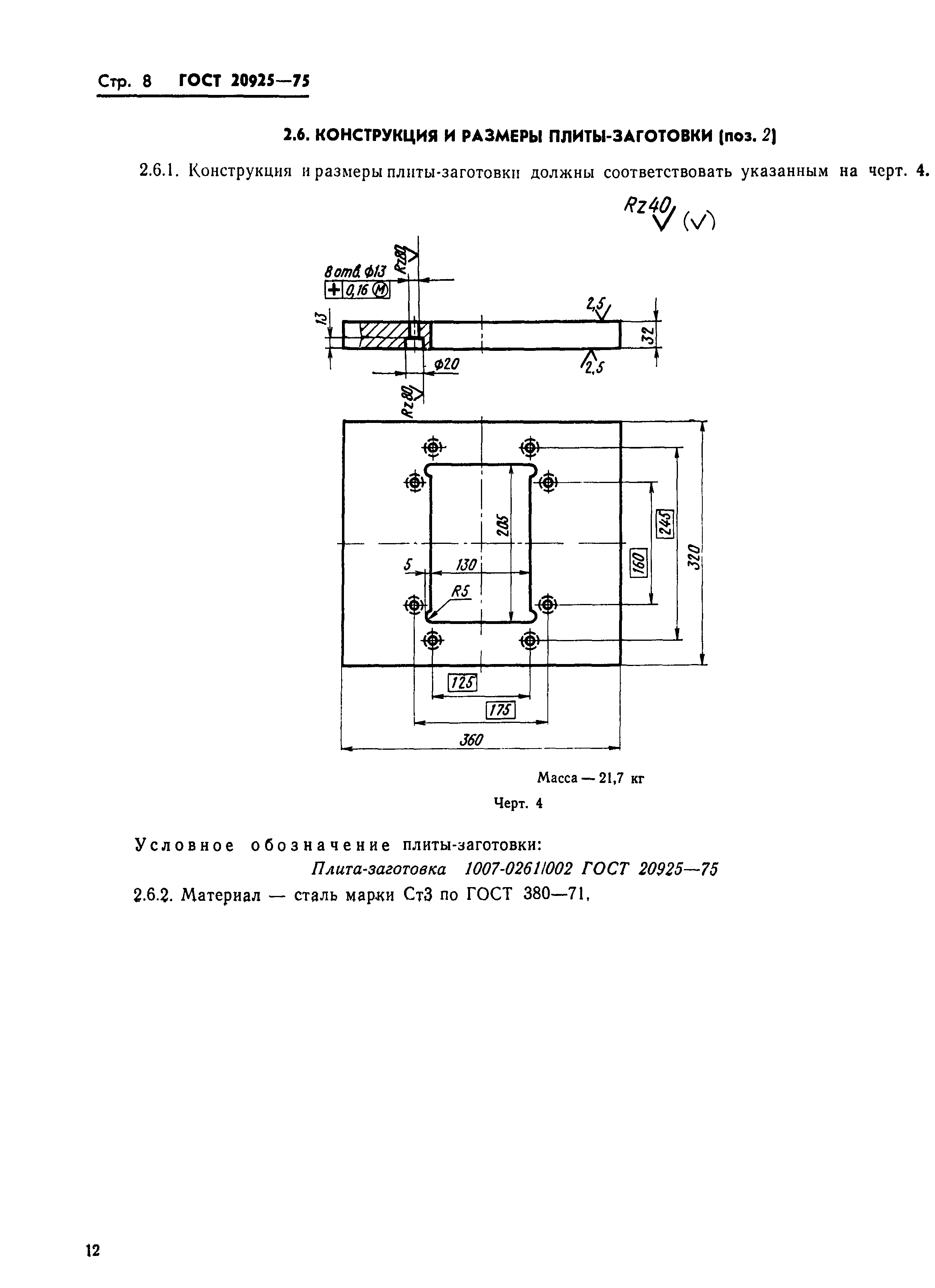
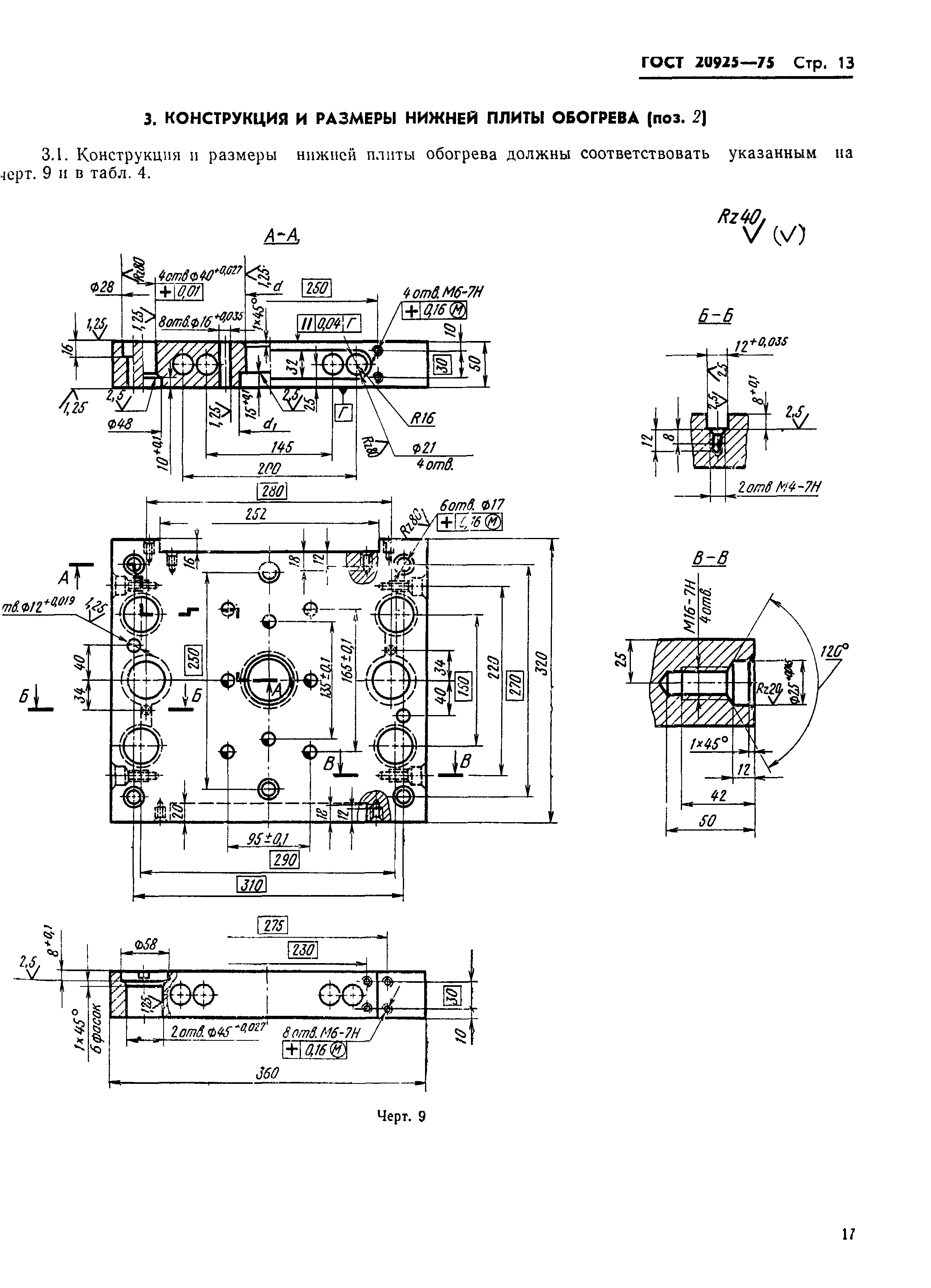
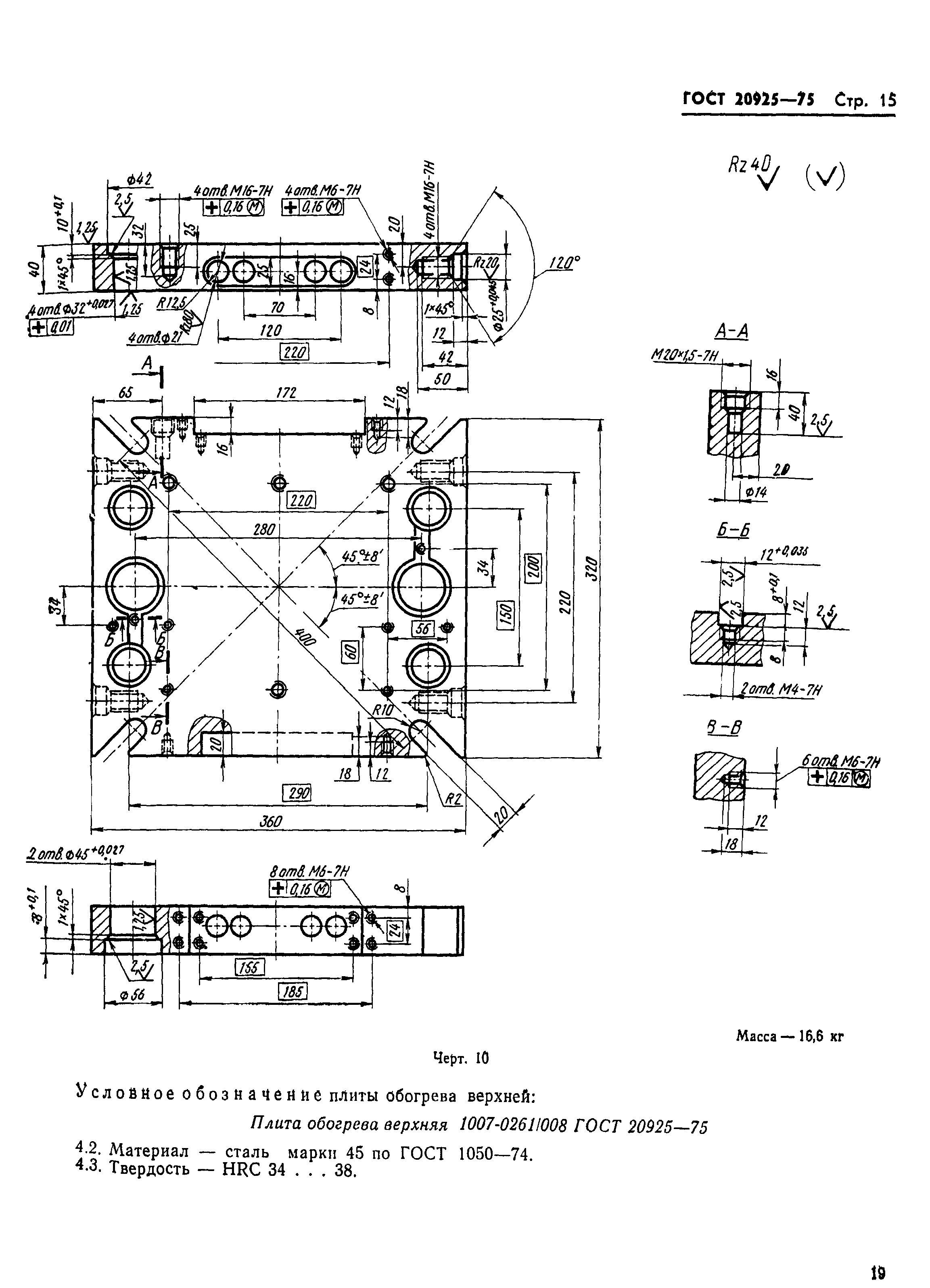
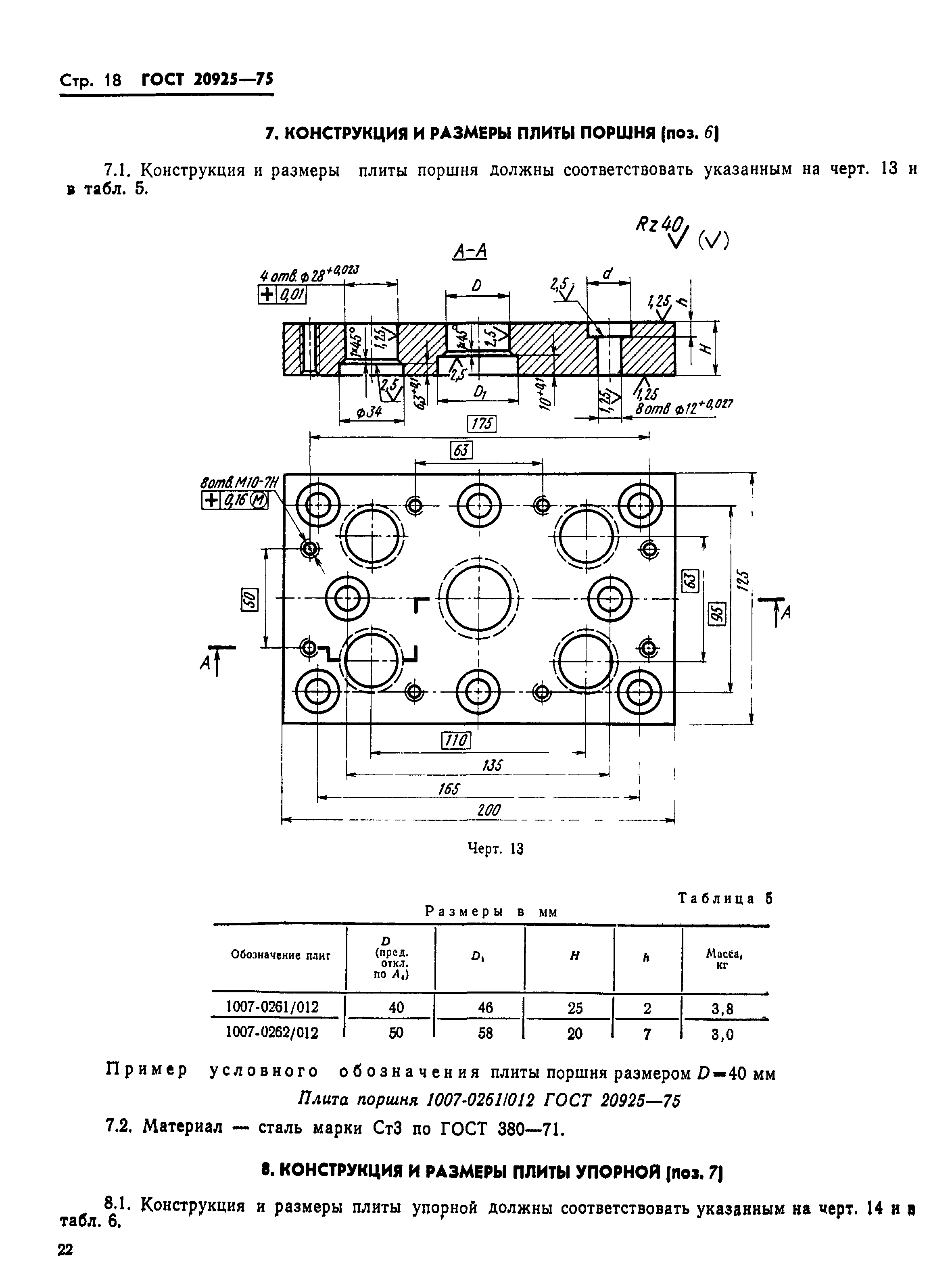
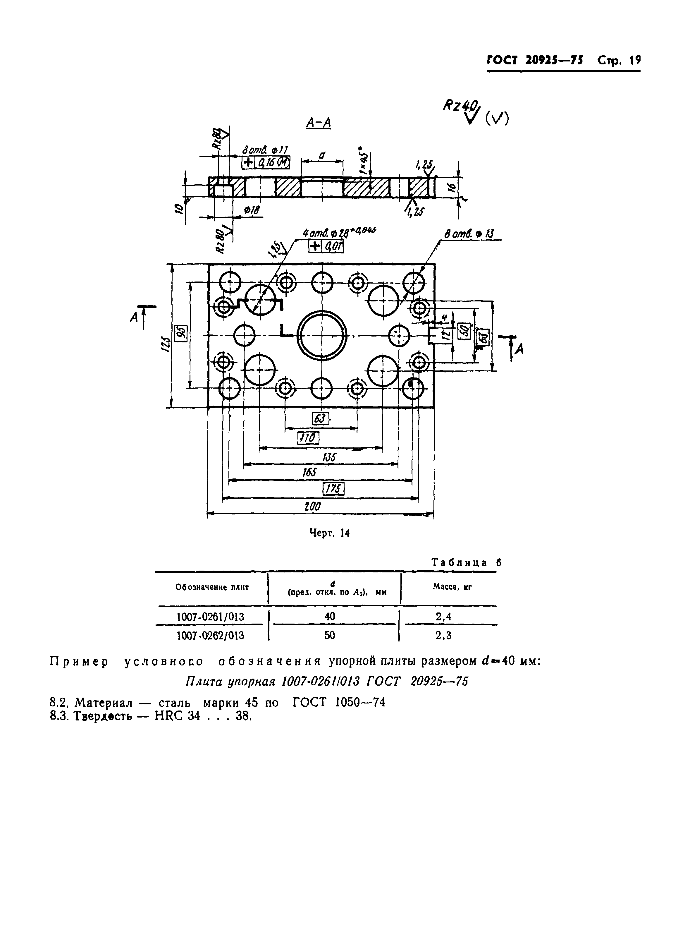
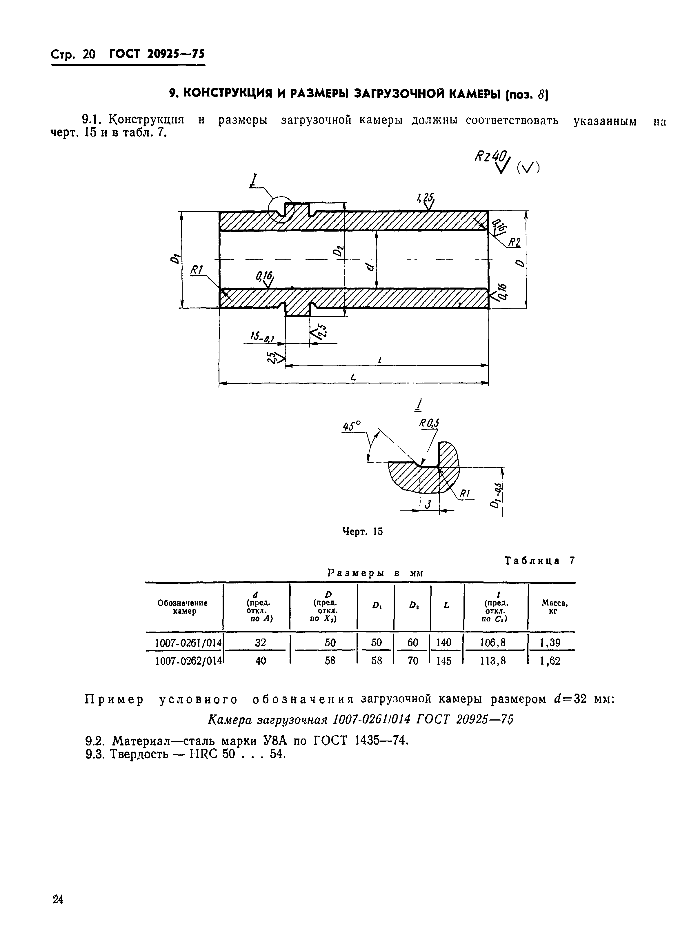
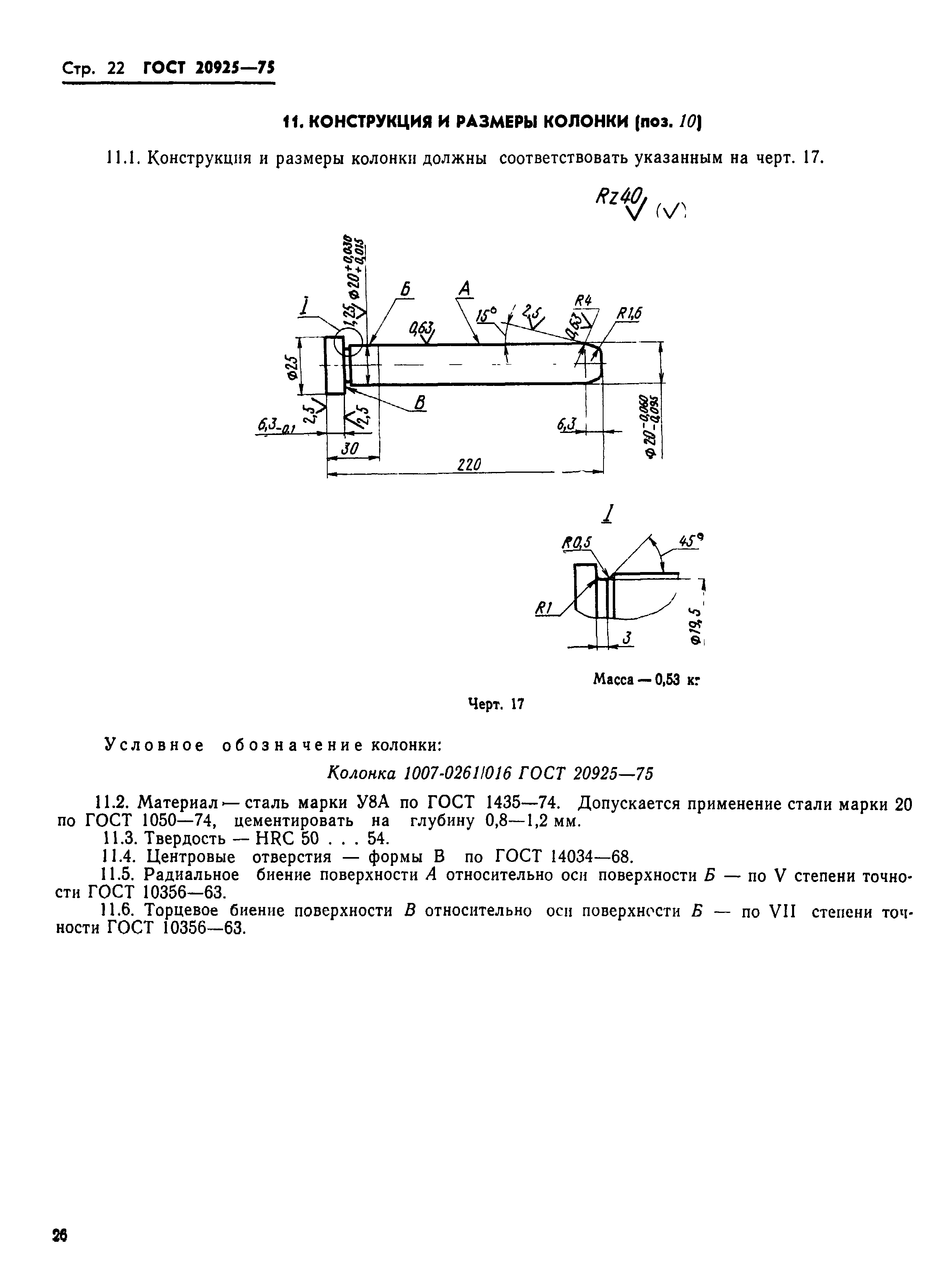
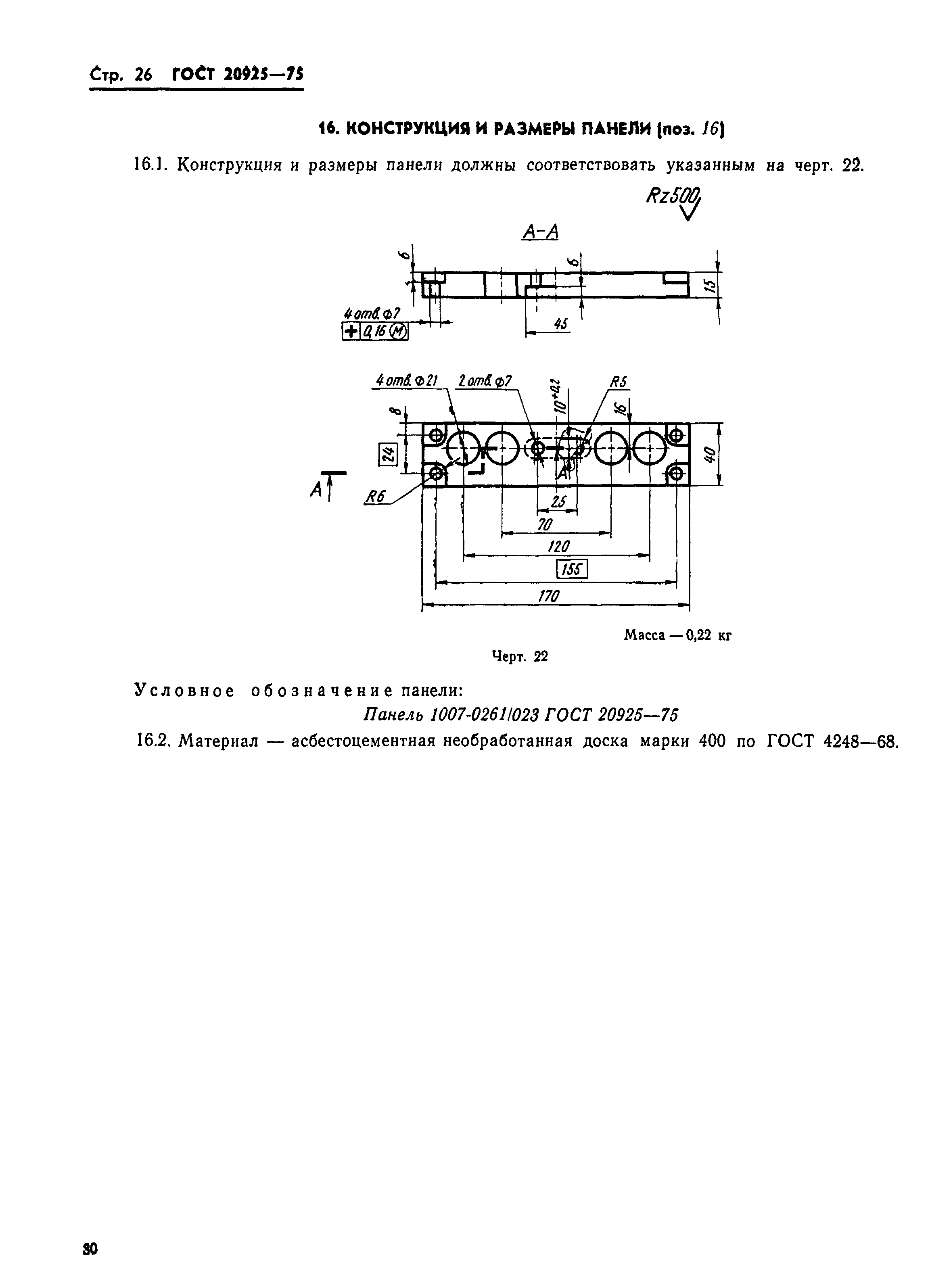
| Оглавление: | 1 Конструкция и размеры блоков 2 Конструкция и размеры основания (поз. 1) 3 Конструкция и размеры нижней плиты обогрева (поз. 2) 4 Конструкция и размеры верхней плиты обогрева (поз. 3) 5 Конструкция и размеры прокладки (поз. 4) 6 Конструкция и размеры плиты (поз. 5) 7 Конструкция и размеры плиты поршня (поз. 6) 8 Конструкция и размеры плиты упорной (поз. 7) 9 Конструкция и размеры загрузочной камеры (поз. 8) 10 Конструкция и размеры поршня (поз. 9) 11 Конструкция и размеры колонки (поз. 10) 12 Конструкция и размеры прихватов (поз. 11 и 12) 13 Конструкция и размеры втулки (поз. 13) 14 Конструкция и размеры втулки (поз. 14) 15 Конструкция и размеры панели (поз. 15) 16 Конструкция и размеры панели (поз. 16) 17 Конструкция и размеры крышек (поз. 17 и 18) 18 Конструкция и размеры щитков (поз. 19 и 20) 19 Конструкция и размеры прокладки (поз. 21) 20 Конструкция и размеры прокладок (поз. 22 и 23) 21 Конструкция и размеры прокладок (поз. 24, 25, 26 и 27) |
| Утверждён: | 25.06.1975 Госстандарт СССР (USSR Gosstandart 1620) |
| Заменяет собой: |
|






































