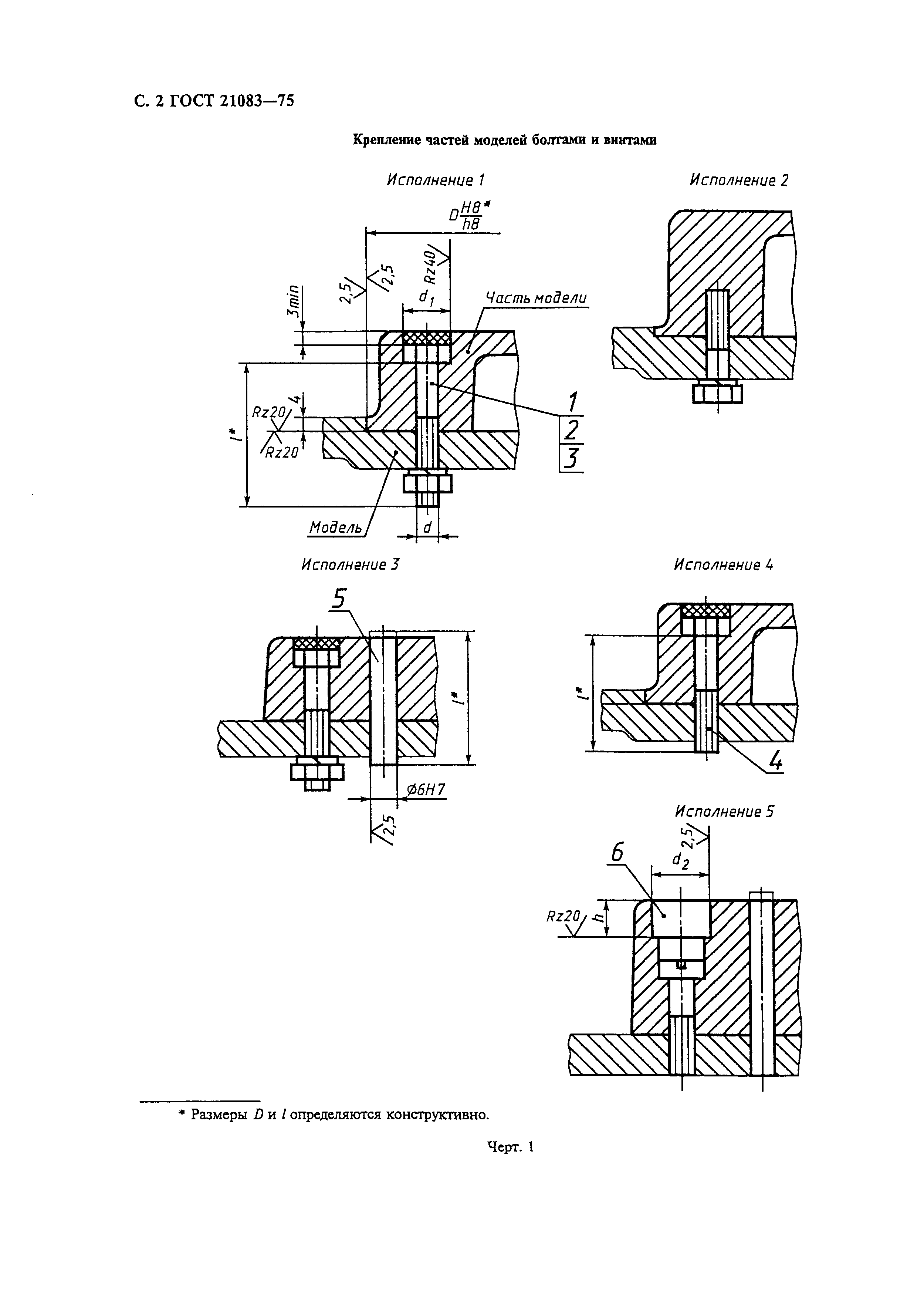
Скачать ГОСТ 21083-75 Модели литейные металлические. Крепление частей моделей. Конструкция и размерыДата актуализации: 01.01.2021
|
| Обозначение: | ГОСТ 21083-75 |
| Обозначение англ: | GOST 21083-75 |
| Статус: | действует |
| Название рус.: | Модели литейные металлические. Крепление частей моделей. Конструкция и размеры |
| Название англ.: | Metal casting patterns. Securing of pattern pieces. Design and dimensions |
| Дата добавления в базу: | 01.09.2013 |
| Дата актуализации: | 01.01.2021 |
| Дата введения: | 01.01.1977 |
| Утверждён: | 18.08.1975 Госстандарт СССР (USSR Gosstandart 2172) |
| Заменяет собой: |
|





