Скачать ГОСТ 21106.2-75 Лампы генераторные мощностью, рассеиваемой анодом, свыше 25 Вт. Метод измерения относительного уровня комбинационных составляющихДата актуализации: 01.01.2021
|
| Обозначение: | ГОСТ 21106.2-75 |
| Обозначение англ: | GOST 21106.2-75 |
| Статус: | восстановлен |
| Название рус.: | Лампы генераторные мощностью, рассеиваемой анодом, свыше 25 Вт. Метод измерения относительного уровня комбинационных составляющих |
| Название англ.: | Oscillator tubes anode dissipated more than 25 W. Test method for relative level of combinative products |
| Дата добавления в базу: | 01.09.2013 |
| Дата актуализации: | 01.01.2021 |
| Дата введения: | 01.01.1977 |
| Область применения: | Стандарт распространяется на генераторные лампы мощностью, рассеиваемой анодом, свыше 25 Вт, предназначенные для усиления мощности на частотах до 300 МГц, и устанавливает метод измерения относительного уровня комбинационных составляющих. |
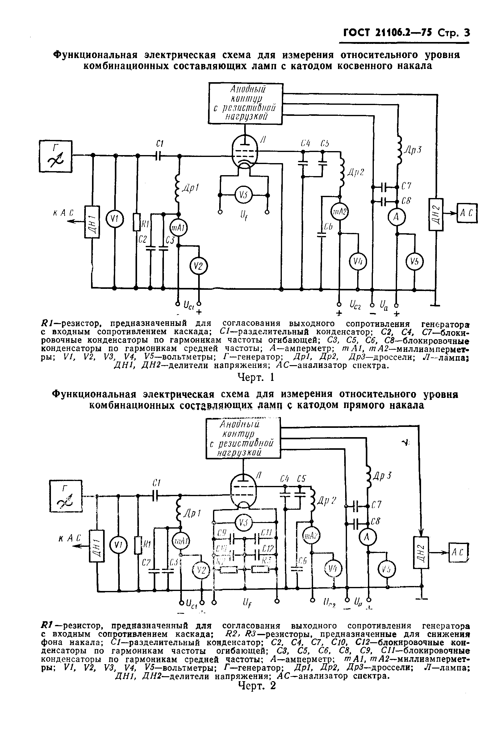
| Оглавление: | 1 Аппаратура 2 Проведение измерения 3 Обработка результатов. Показатели точности измерения 4 Требования безопасности Приложение 1 к ГОСТ 21106.2-75 (справочное) Основные термины и определения Приложение 2 Расчет основных элементов принципиальной электрической схемы и проверка реальной погрешности метода измерения по выбранным элементам схемы |
| Утверждён: | 27.08.1975 Государственный комитет стандартов Совета Министров СССР (USSR National Committee on Standards at the Cabinet of Ministers 2268) |
| Издан: | Издательство стандартов (1975 г. ) |
| Нормативные ссылки: |




















