Скачать ГОСТ 21145-84 Механизмы клещевые для подачи ленты шириной до 50 мм. Основные и присоединительные размерыДата актуализации: 01.01.2021 ГОСТ 21145-84
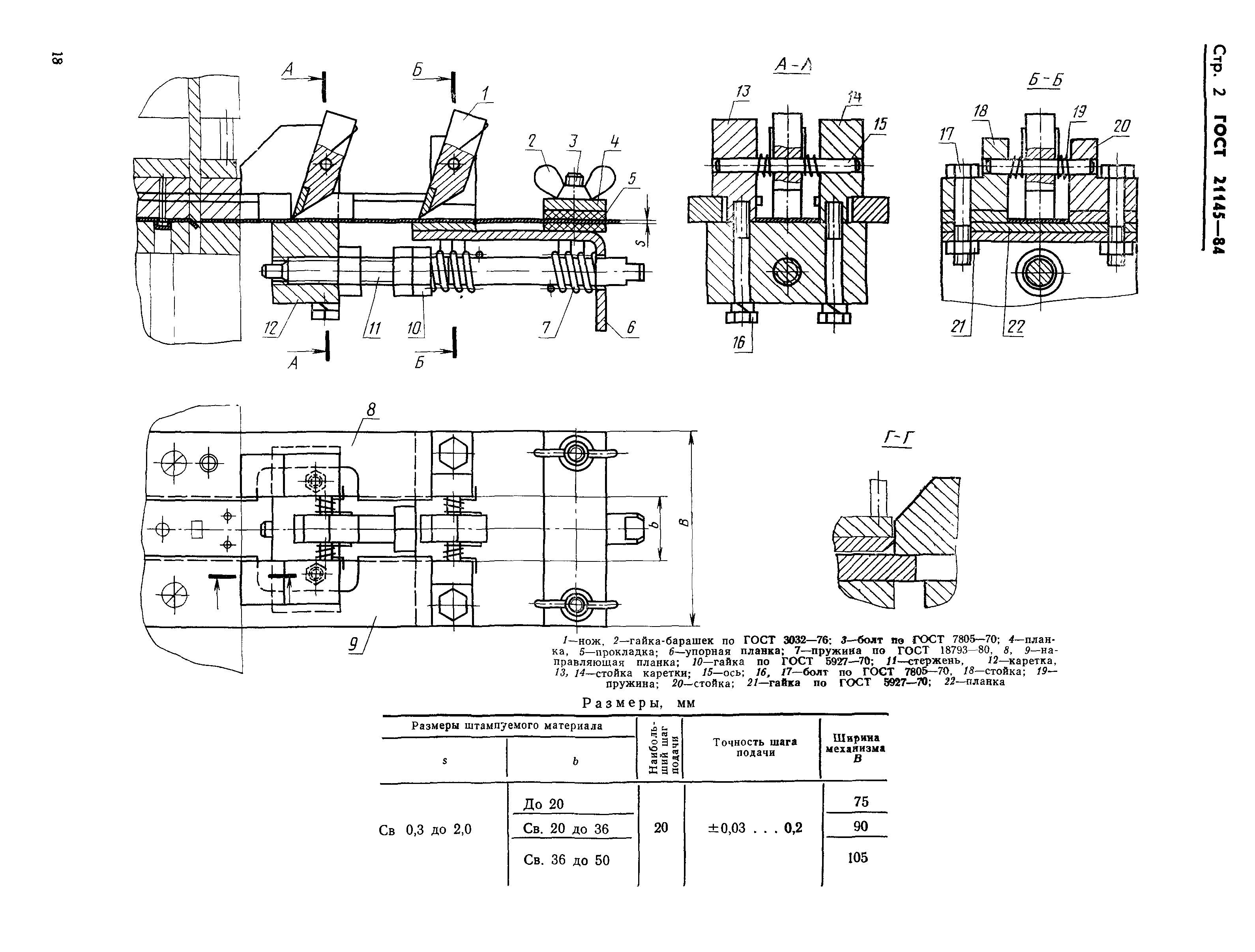
Механизмы клещевые для подачи ленты шириной до 50 мм. Основные и присоединительные размеры| Обозначение: | ГОСТ 21145-84 | | Обозначение англ: | GOST 21145-84 | | Статус: | действует | | Название рус.: | Механизмы клещевые для подачи ленты шириной до 50 мм. Основные и присоединительные размеры | | Название англ.: | Tong-gripper mechanisms for feeding strip max. Width 50 mm. Basic and coupling dimensions | | Дата добавления в базу: | 01.09.2013 | | Дата актуализации: | 01.01.2021 | | Дата введения: | 01.01.1986 | | Утверждён: | 20.12.1984 Госстандарт СССР (USSR Gosstandart 4845)
|

|