Скачать ГОСТ 21167-75 Тиски станочные винтовые самоцентрирующие рычажные для круглых профилей. Конструкция и основные размеры

Дата актуализации: 01.01.2021

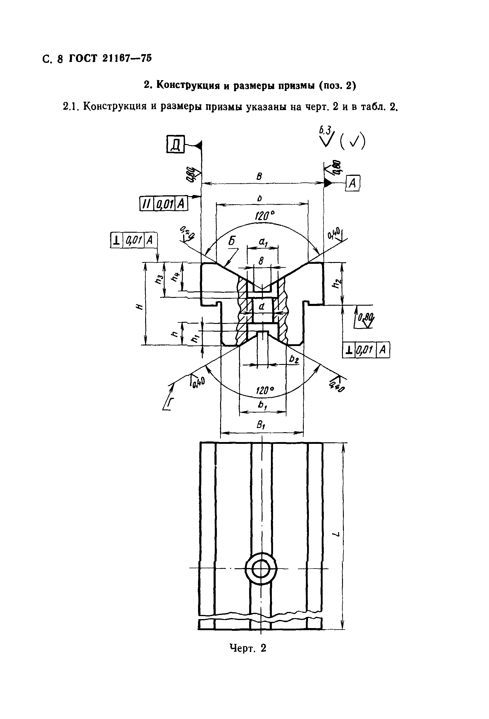
ГОСТ 21167-75

Тиски станочные винтовые самоцентрирующие рычажные для круглых профилей. Конструкция и основные размеры

Обозначение: ГОСТ 21167-75
Обозначение англ: GOST 21167-75
Статус:взамен
Название рус.:Тиски станочные винтовые самоцентрирующие рычажные для круглых профилей. Конструкция и основные размеры
Название англ.:Machine bar centering vices with screw and lever. Design and dimensions
Дата добавления в базу:01.09.2013
Дата актуализации:01.01.2021
Дата введения:01.01.1977
Область применения:Стандарт распространяется на винтовые самоцентрирующие рычажные тиски класса точности Н, предназначенные для обработки деталей круглого профиля по 12 - 14 квалитетам по ГОСТ 25347-82 при выполнении станочных работ.
Оглавление:Приложение (рекомендуемое) Конструкция и размеры деталей тисков станочных винтовых самоцентрирующих рычажных для круглых профилей
Разработан: Министерство станкостроительной и инструментальной промышленности СССР
Утверждён:29.09.1975 Государственный комитет стандартов Совета Министров СССР (USSR National Committee on Standards at the Cabinet of Ministers 2530)
Издан: Издательство стандартов (1989 г. )
Заменяет собой:
  • МН 5790-65 (Сведения из перечня "Указатель государственных стандартов СССР 1980 г.", Издательство стандартов 1980)
Нормативные ссылки:
ГОСТ 21167-75ГОСТ 21167-75ГОСТ 21167-75ГОСТ 21167-75ГОСТ 21167-75ГОСТ 21167-75ГОСТ 21167-75ГОСТ 21167-75ГОСТ 21167-75ГОСТ 21167-75ГОСТ 21167-75ГОСТ 21167-75ГОСТ 21167-75ГОСТ 21167-75ГОСТ 21167-75ГОСТ 21167-75ГОСТ 21167-75ГОСТ 21167-75