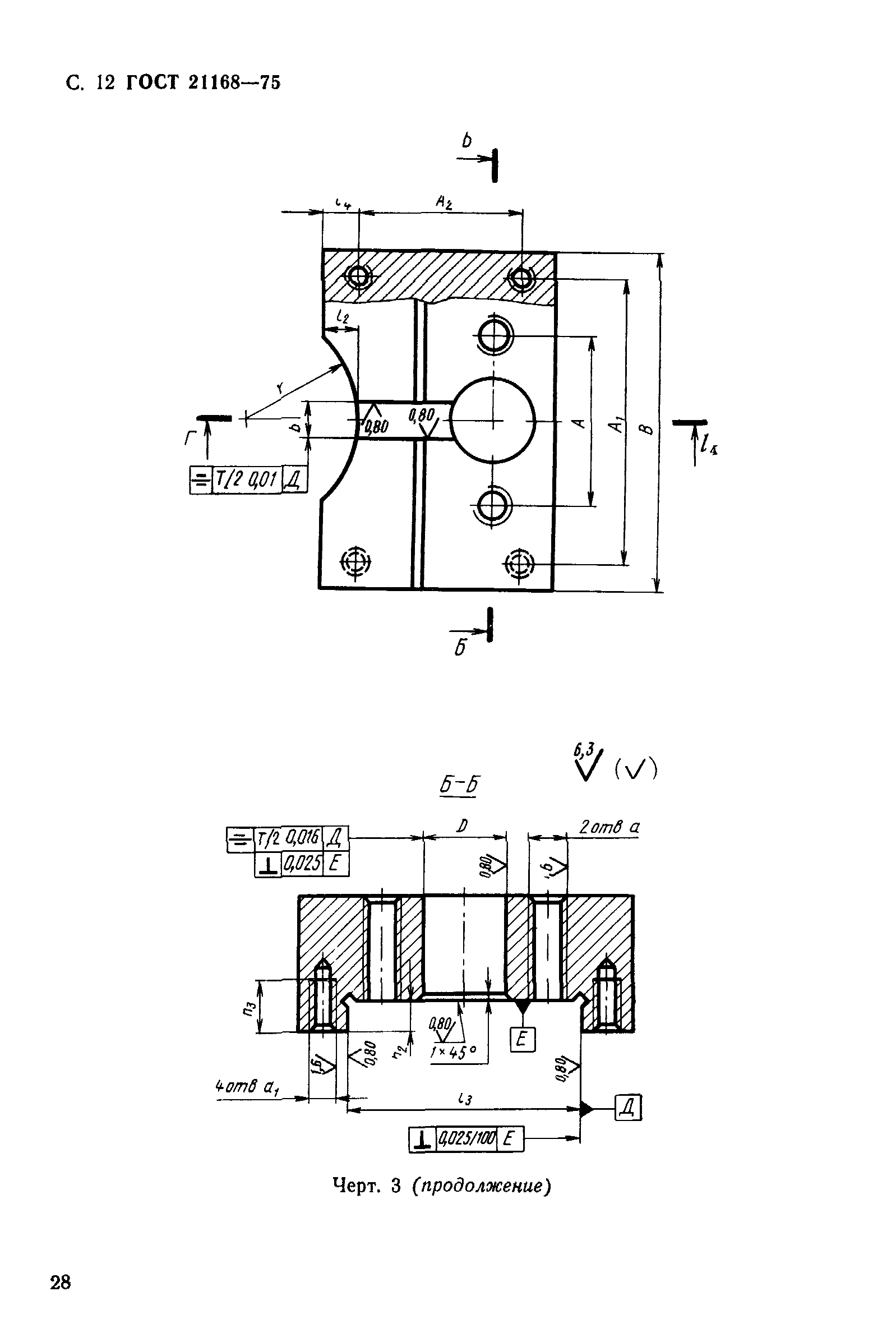
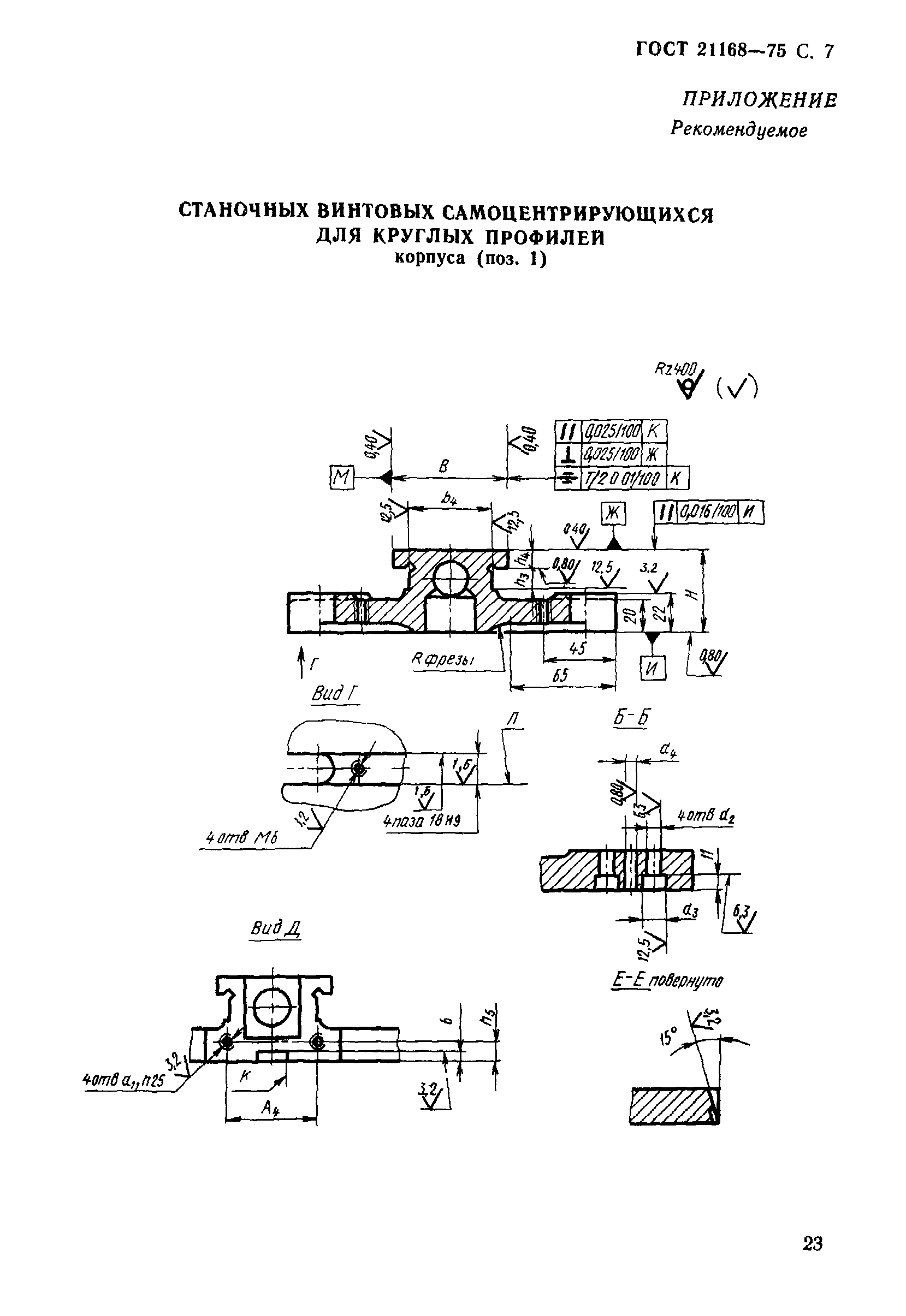
Скачать ГОСТ 21168-75 Тиски станочные винтовые самоцентрирующие с призматическими губками для круглых профилей. Конструкция и основные размеры

Дата актуализации: 01.01.2021

ГОСТ 21168-75

Тиски станочные винтовые самоцентрирующие с призматическими губками для круглых профилей. Конструкция и основные размеры

Обозначение: ГОСТ 21168-75
Обозначение англ: GOST 21168-75
Статус:действует
Название рус.:Тиски станочные винтовые самоцентрирующие с призматическими губками для круглых профилей. Конструкция и основные размеры
Название англ.:Machine bar centering vices with screw and prismatic jaws. Design and dimensions
Дата добавления в базу:01.09.2013
Дата актуализации:01.01.2021
Дата введения:01.01.1977
Утверждён:29.09.1975 Госстандарт СССР (USSR Gosstandart 2530)
Заменяет собой:
  • МН 5791-65 (Сведения из перечня "Указатель государственных стандартов СССР 1980 г.", Издательство стандартов 1980)
ГОСТ 21168-75ГОСТ 21168-75ГОСТ 21168-75ГОСТ 21168-75ГОСТ 21168-75ГОСТ 21168-75ГОСТ 21168-75ГОСТ 21168-75ГОСТ 21168-75ГОСТ 21168-75ГОСТ 21168-75ГОСТ 21168-75ГОСТ 21168-75ГОСТ 21168-75ГОСТ 21168-75ГОСТ 21168-75ГОСТ 21168-75ГОСТ 21168-75