Скачать ГОСТ 21221-75 Оправки расточные консольные с креплением резца под углом 90 град. и коническим хвостовиком. Конструкция и размеры

Дата актуализации: 01.01.2021

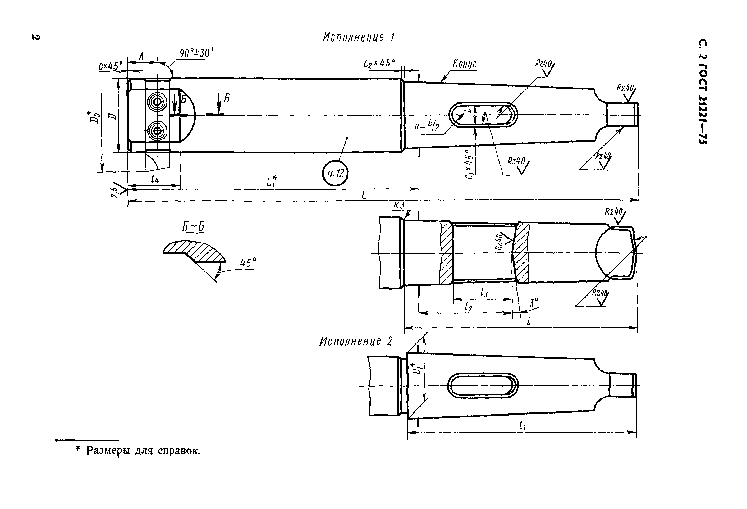
ГОСТ 21221-75

Оправки расточные консольные с креплением резца под углом 90 град. и коническим хвостовиком. Конструкция и размеры

Обозначение: ГОСТ 21221-75
Обозначение англ: GOST 21221-75
Статус:действует
Название рус.:Оправки расточные консольные с креплением резца под углом 90 град. и коническим хвостовиком. Конструкция и размеры
Название англ.:Console boring bars with cutter fiting at 90 and taper shank. Design and dimensions
Дата добавления в базу:01.09.2013
Дата актуализации:01.01.2021
Дата введения:01.01.1977
Утверждён:12.11.1975 Госстандарт СССР (USSR Gosstandart 2838)
Заменяет собой:
  • МН 2645-61 (Сведения из перечня "Указатель государственных стандартов СССР 1980 г.", Издательство стандартов 1980)
ГОСТ 21221-75ГОСТ 21221-75ГОСТ 21221-75ГОСТ 21221-75ГОСТ 21221-75ГОСТ 21221-75ГОСТ 21221-75ГОСТ 21221-75ГОСТ 21221-75ГОСТ 21221-75