Скачать ГОСТ 21226-75 Оправки расточные консольные с креплением резца под углом 45 град. и хвостовиком конусностью 7:24. Конструкция и размерыДата актуализации: 01.01.2021 ГОСТ 21226-75
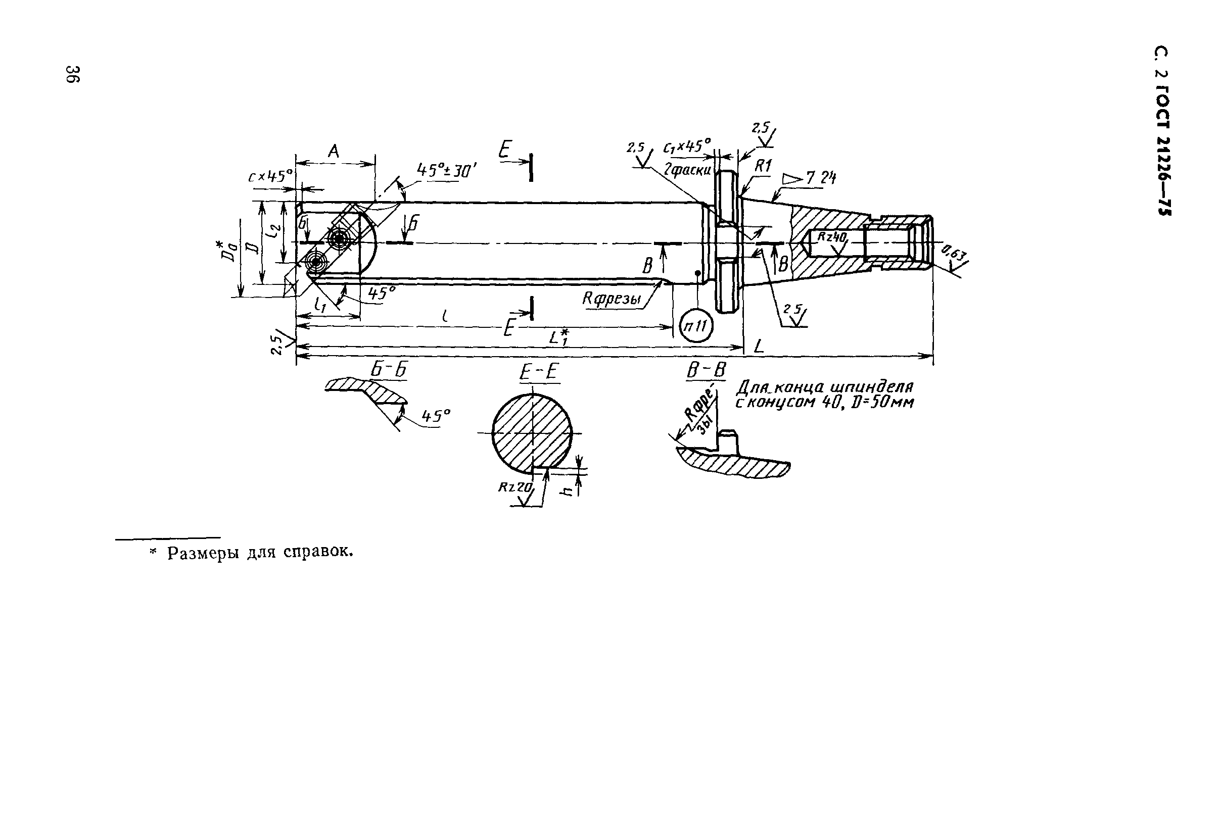
Оправки расточные консольные с креплением резца под углом 45 град. и хвостовиком конусностью 7:24. Конструкция и размеры| Обозначение: | ГОСТ 21226-75 | | Обозначение англ: | GOST 21226-75 | | Статус: | действует | | Название рус.: | Оправки расточные консольные с креплением резца под углом 45 град. и хвостовиком конусностью 7:24. Конструкция и размеры | | Название англ.: | Console boring bars with fitting at 45 and 7:24 cone shank. Design and dimensions | | Дата добавления в базу: | 01.09.2013 | | Дата актуализации: | 01.01.2021 | | Дата введения: | 01.01.1977 | | Утверждён: | 12.11.1975 Госстандарт СССР (USSR Gosstandart 2838)
|
    
|