Скачать ГОСТ 21233-75 Оправки качающиеся для насадных разверток с хвостовиком конусностью 7:24 к сверлильным и расточным станкам. Конструкция и размерыДата актуализации: 01.01.2021 ГОСТ 21233-75
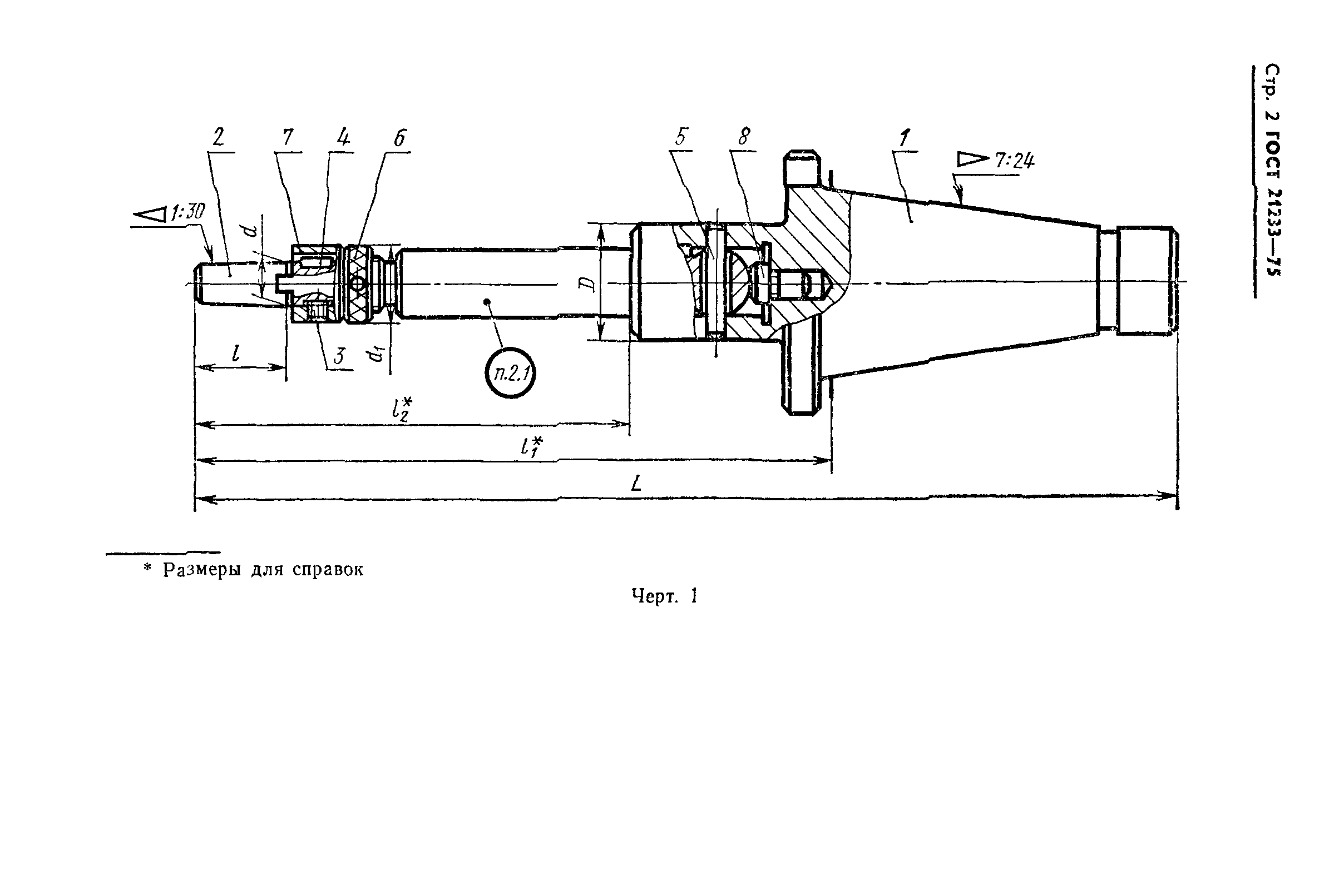
Оправки качающиеся для насадных разверток с хвостовиком конусностью 7:24 к сверлильным и расточным станкам. Конструкция и размеры| Обозначение: | ГОСТ 21233-75 | | Обозначение англ: | GOST 21233-75 | | Статус: | действует | | Название рус.: | Оправки качающиеся для насадных разверток с хвостовиком конусностью 7:24 к сверлильным и расточным станкам. Конструкция и размеры | | Название англ.: | Floating arbors for shell reamers with 7:24 taper shank for drilling and boring machine. Design and dimensions | | Дата добавления в базу: | 01.09.2013 | | Дата актуализации: | 01.01.2021 | | Дата введения: | 01.01.1977 | | Утверждён: | 13.11.1975 Госстандарт СССР (USSR Gosstandart 2874)
|
      
|