Скачать ГОСТ 21335-75 Винты с накатанной низкой головкой и засверленным концом. Конструкция и размеры

Дата актуализации: 01.01.2021

ГОСТ 21335-75

Винты с накатанной низкой головкой и засверленным концом. Конструкция и размеры

Обозначение: ГОСТ 21335-75
Обозначение англ: GOST 21335-75
Статус:действует
Название рус.:Винты с накатанной низкой головкой и засверленным концом. Конструкция и размеры
Название англ.:Screws with low knurled heads and step point. Construction and dimensions
Дата добавления в базу:01.09.2013
Дата актуализации:01.01.2021
Дата введения:01.01.1977
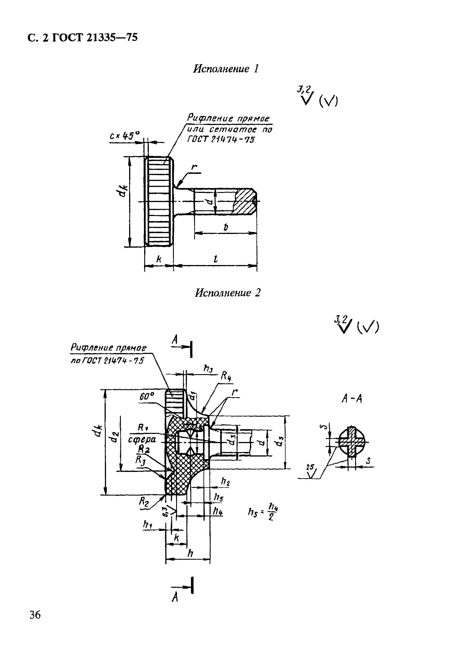
Область применения:Стандарт распространяется на цельные и составные винты с металлической или пластмассовой накатанной низкой головкой и засверленным концом класса точности А и В с диаметром резьбы от 3 до 12 мм.
Оглавление:Приложение 1
Приложение 2
Утверждён:08.12.1975 Госстандарт СССР (USSR Gosstandart 3800)
Издан: Издательство стандартов (1997 г. )
Заменяет собой:
  • ГОСТ 10492-63 «Винты с накатанной низкой головкой. Размеры» (в части варианта с засверленным концом)
Нормативные ссылки:
ГОСТ 21335-75ГОСТ 21335-75ГОСТ 21335-75ГОСТ 21335-75ГОСТ 21335-75ГОСТ 21335-75ГОСТ 21335-75