Скачать ГОСТ 21760-76 Головки винторезные самооткрывающиеся с круглыми гребенками. Типы и основные размеры

Дата актуализации: 01.01.2021

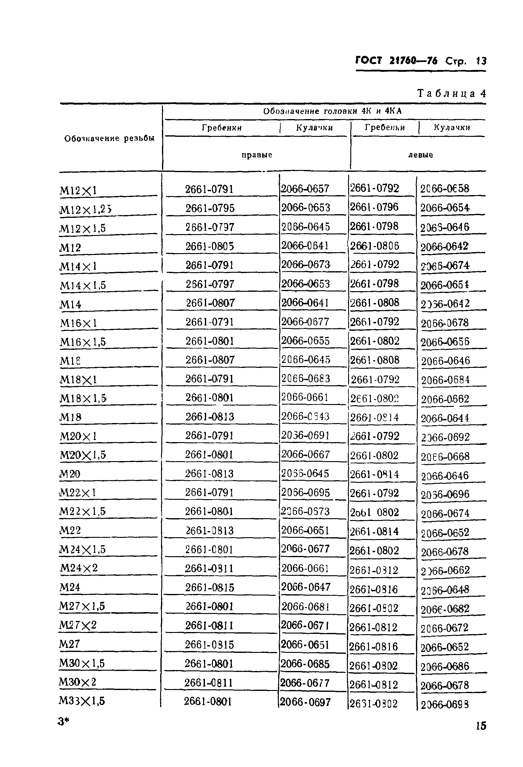
ГОСТ 21760-76

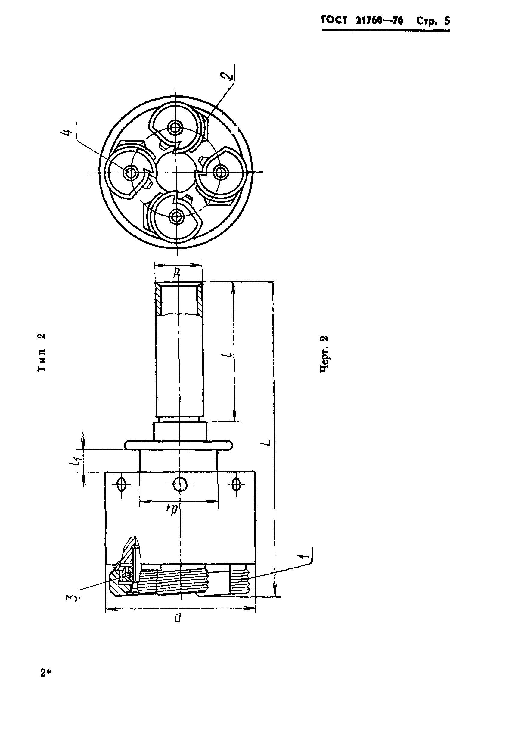
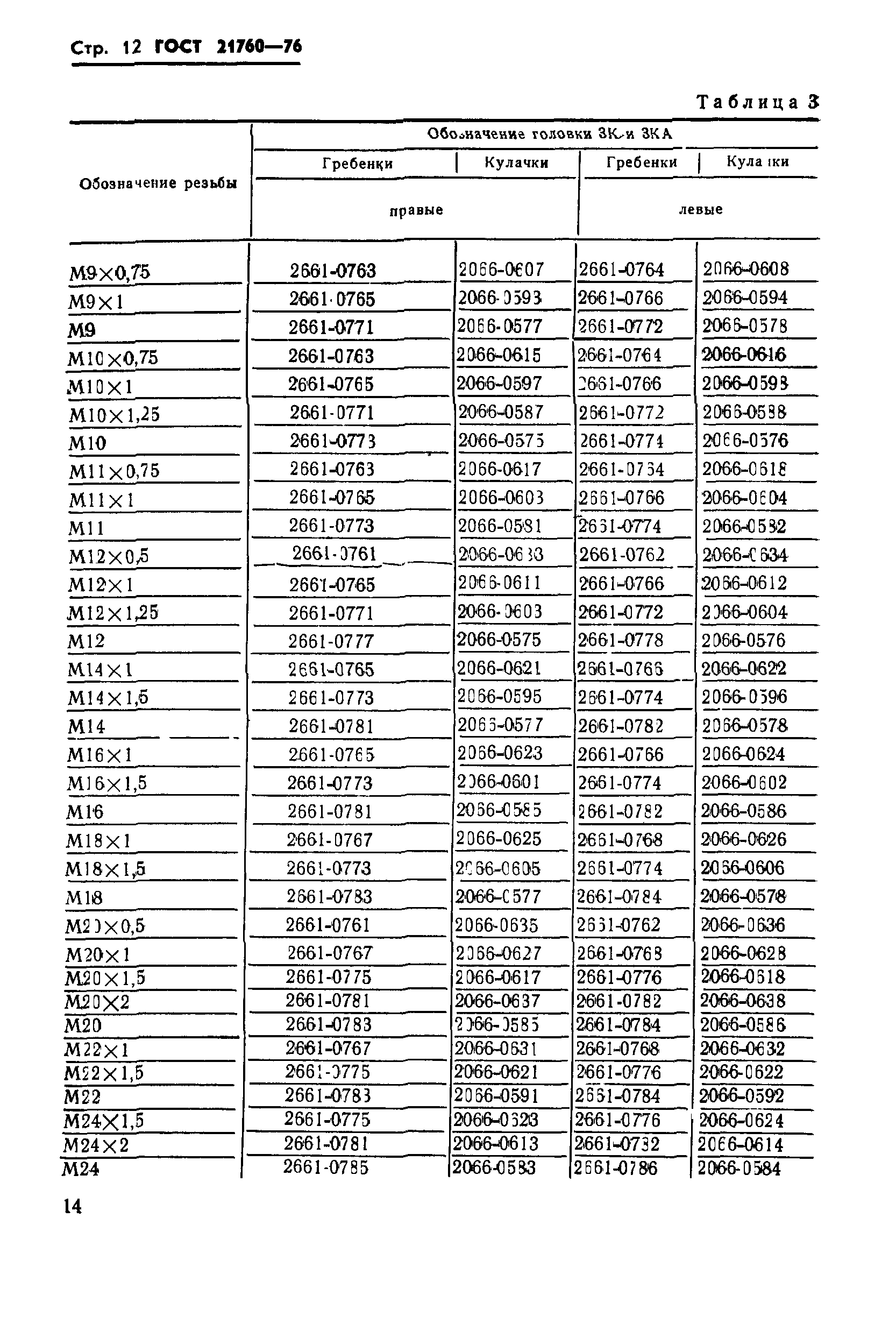
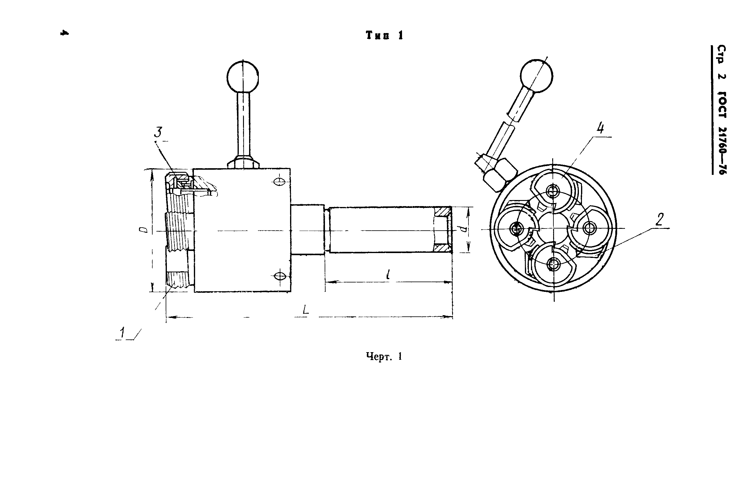
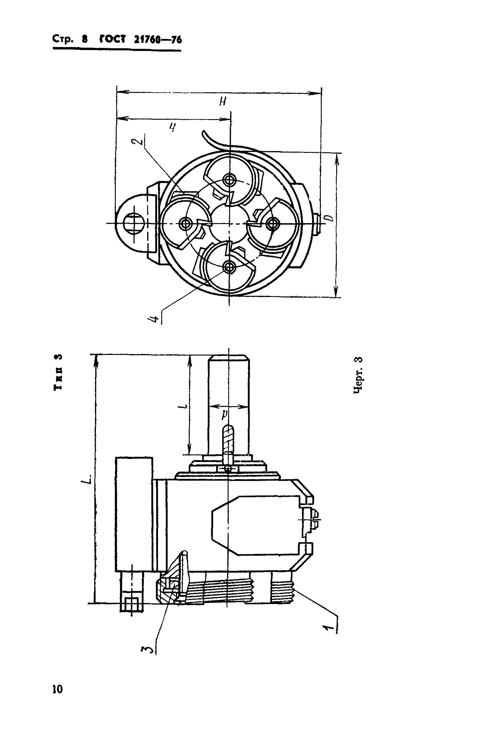
Головки винторезные самооткрывающиеся с круглыми гребенками. Типы и основные размеры

Обозначение: ГОСТ 21760-76
Обозначение англ: GOST 21760-76
Статус:действует
Название рус.:Головки винторезные самооткрывающиеся с круглыми гребенками. Типы и основные размеры
Название англ.:Self-opening threadcutting die heads with circular chasets. Tipes and main dimensions
Дата добавления в базу:01.09.2013
Дата актуализации:01.01.2021
Дата введения:01.01.1978
Оглавление:Приложение
Утверждён:28.04.1976 Госстандарт СССР (USSR Gosstandart 975)
Заменяет собой:
  • ГОСТ 3307-61 «Головки винторезные самооткрывающиеся с круглыми гребенками»
ГОСТ 21760-76ГОСТ 21760-76ГОСТ 21760-76ГОСТ 21760-76ГОСТ 21760-76ГОСТ 21760-76ГОСТ 21760-76ГОСТ 21760-76ГОСТ 21760-76ГОСТ 21760-76ГОСТ 21760-76ГОСТ 21760-76ГОСТ 21760-76ГОСТ 21760-76ГОСТ 21760-76ГОСТ 21760-76ГОСТ 21760-76ГОСТ 21760-76ГОСТ 21760-76