Скачать ГОСТ 21762-76 Кулачки к винторезным самооткрывающимся головкам. Основные размеры

Дата актуализации: 01.01.2021

ГОСТ 21762-76

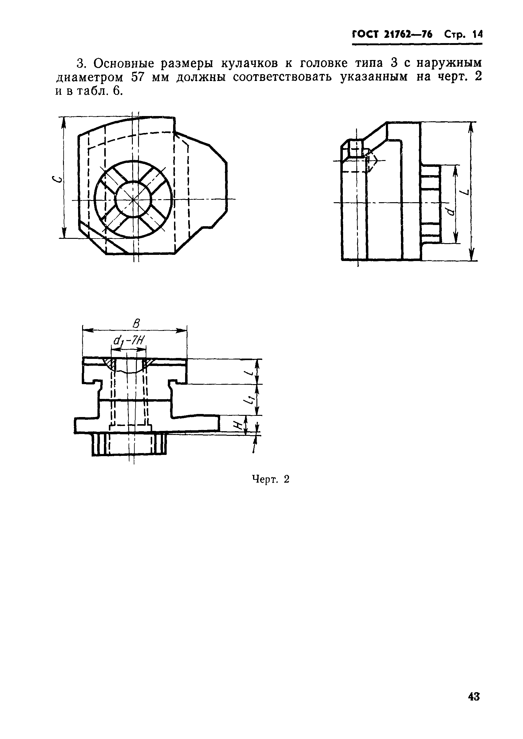
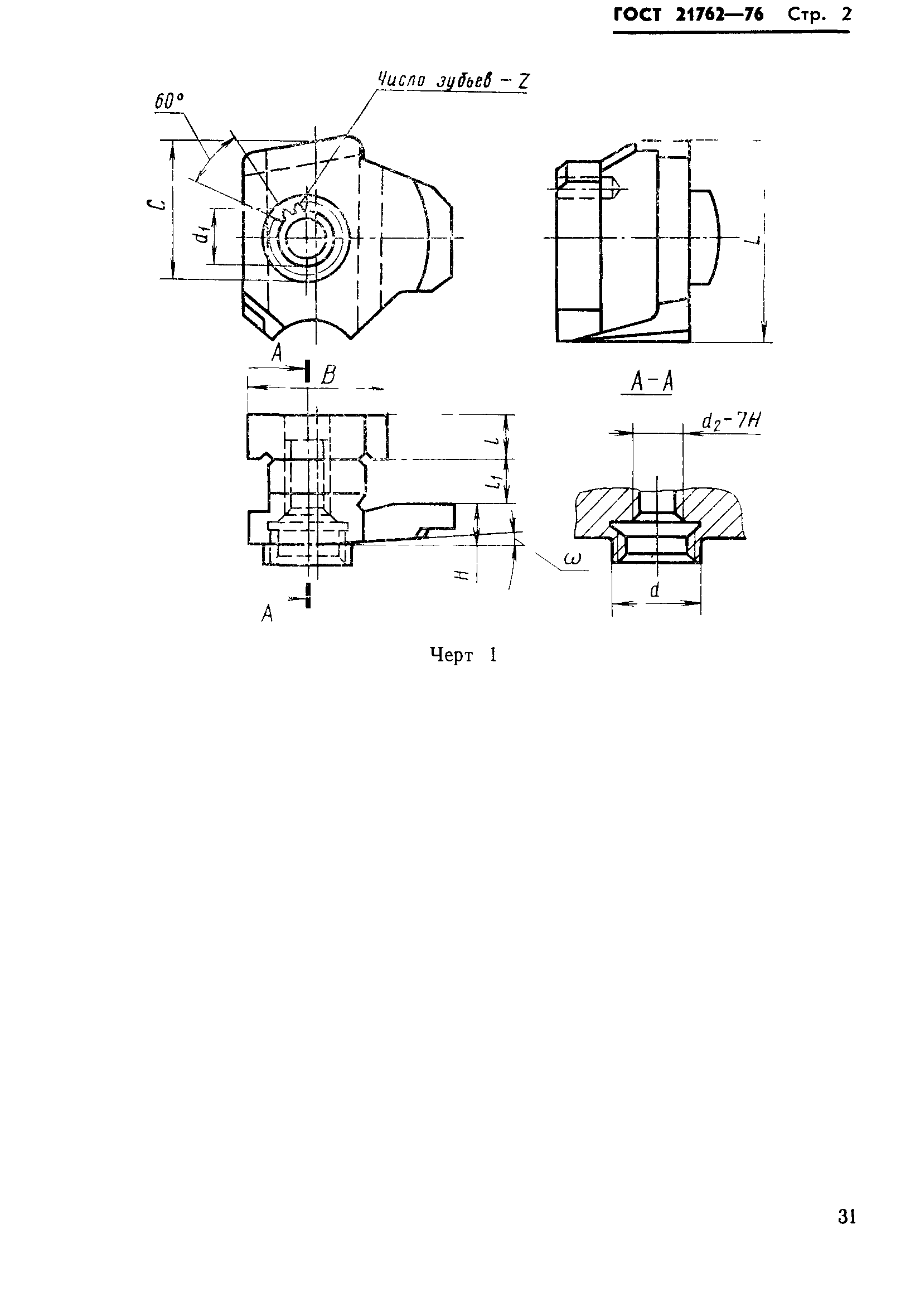
Кулачки к винторезным самооткрывающимся головкам. Основные размеры

Обозначение: ГОСТ 21762-76
Обозначение англ: GOST 21762-76
Статус:действует
Название рус.:Кулачки к винторезным самооткрывающимся головкам. Основные размеры
Название англ.:Cams for self-opening threadcutting die heads. Main dimensions
Дата добавления в базу:01.09.2013
Дата актуализации:01.01.2021
Дата введения:01.01.1978
Утверждён:28.04.1976 Госстандарт СССР (USSR Gosstandart 975)
Заменяет собой:
  • МН 4281-63 (Сведения из перечня "Указатель государственных стандартов СССР 1980 г.", Издательство стандартов 1980)
  • МН 4282-63 (Сведения из перечня "Указатель государственных стандартов СССР 1980 г.", Издательство стандартов 1980)
  • МН 4283-63 (Сведения из перечня "Указатель государственных стандартов СССР 1980 г.", Издательство стандартов 1980)
  • МН 4284-63 (Сведения из перечня "Указатель государственных стандартов СССР 1980 г.", Издательство стандартов 1980)
  • МН 4285-63 (Сведения из перечня "Указатель государственных стандартов СССР 1980 г.", Издательство стандартов 1980)
  • МН 4287-63 (Сведения из перечня "Указатель государственных стандартов СССР 1980 г.", Издательство стандартов 1980)
  • МН 4288-63 (Сведения из перечня "Указатель государственных стандартов СССР 1980 г.", Издательство стандартов 1980)
  • МН 4289-63 (Сведения из перечня "Указатель государственных стандартов СССР 1980 г.", Издательство стандартов 1980)
  • МН 4290-63 (Сведения из перечня "Указатель государственных стандартов СССР 1980 г.", Издательство стандартов 1980)
  • МН 4291-63 (Сведения из перечня "Указатель государственных стандартов СССР 1980 г.", Издательство стандартов 1980)
ГОСТ 21762-76ГОСТ 21762-76ГОСТ 21762-76ГОСТ 21762-76ГОСТ 21762-76ГОСТ 21762-76ГОСТ 21762-76ГОСТ 21762-76ГОСТ 21762-76ГОСТ 21762-76ГОСТ 21762-76ГОСТ 21762-76ГОСТ 21762-76ГОСТ 21762-76ГОСТ 21762-76ГОСТ 21762-76