Скачать ГОСТ 21827-76 Патроны быстросменные кулачковые для гаечных метчиков с лысками, диаметром от 2,24 до 40 мм. Конструкция и размерыДата актуализации: 01.01.2021
|
| Обозначение: | ГОСТ 21827-76 |
| Обозначение англ: | GOST 21827-76 |
| Статус: | действует |
| Название рус.: | Патроны быстросменные кулачковые для гаечных метчиков с лысками, диаметром от 2,24 до 40 мм. Конструкция и размеры |
| Название англ.: | Quick change cam chucks for nut taps with flats from 2,24 to 40 mm dia. Design and dimensions |
| Дата добавления в базу: | 01.09.2013 |
| Дата актуализации: | 01.01.2021 |
| Дата введения: | 01.07.1977 |
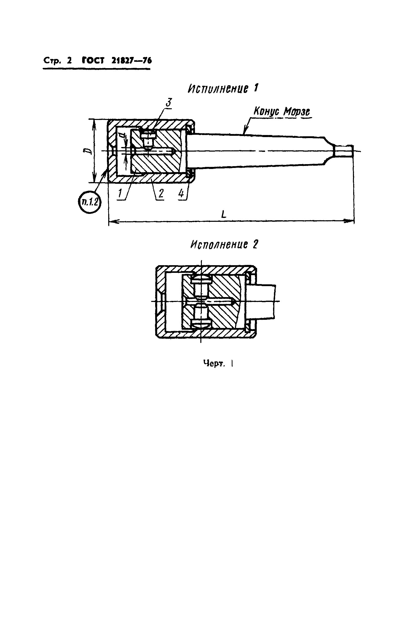
| Оглавление: | 1 Конструкция и размеры патронов 2 Конструкция и размеры корпусов (поз. 1) 3 Конструкция и размеры втулок (поз. 2) 4 Конструкция и размеры кулачков (поз. 3) |
| Утверждён: | 14.05.1976 Госстандарт СССР (USSR Gosstandart 1201) |
| Заменяет собой: |
|















