Скачать ГОСТ 21882-83 Штампы для листовой штамповки. Блоки штампов с промежуточной плитой с диагональным расположением направляющих узлов скольжения. Конструкция и размерыДата актуализации: 01.01.2021 ГОСТ 21882-83
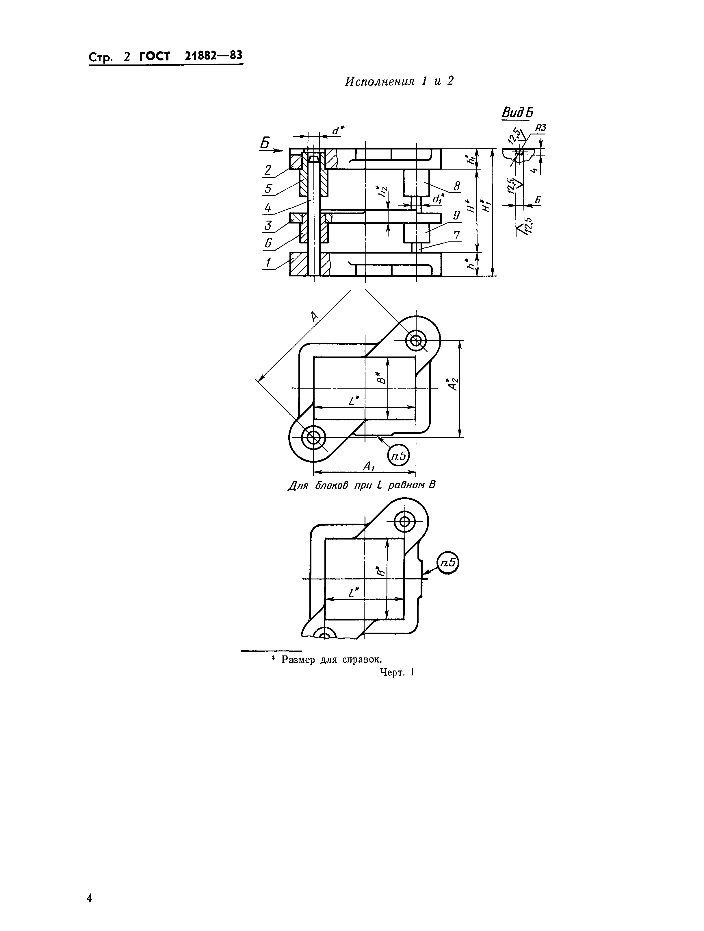
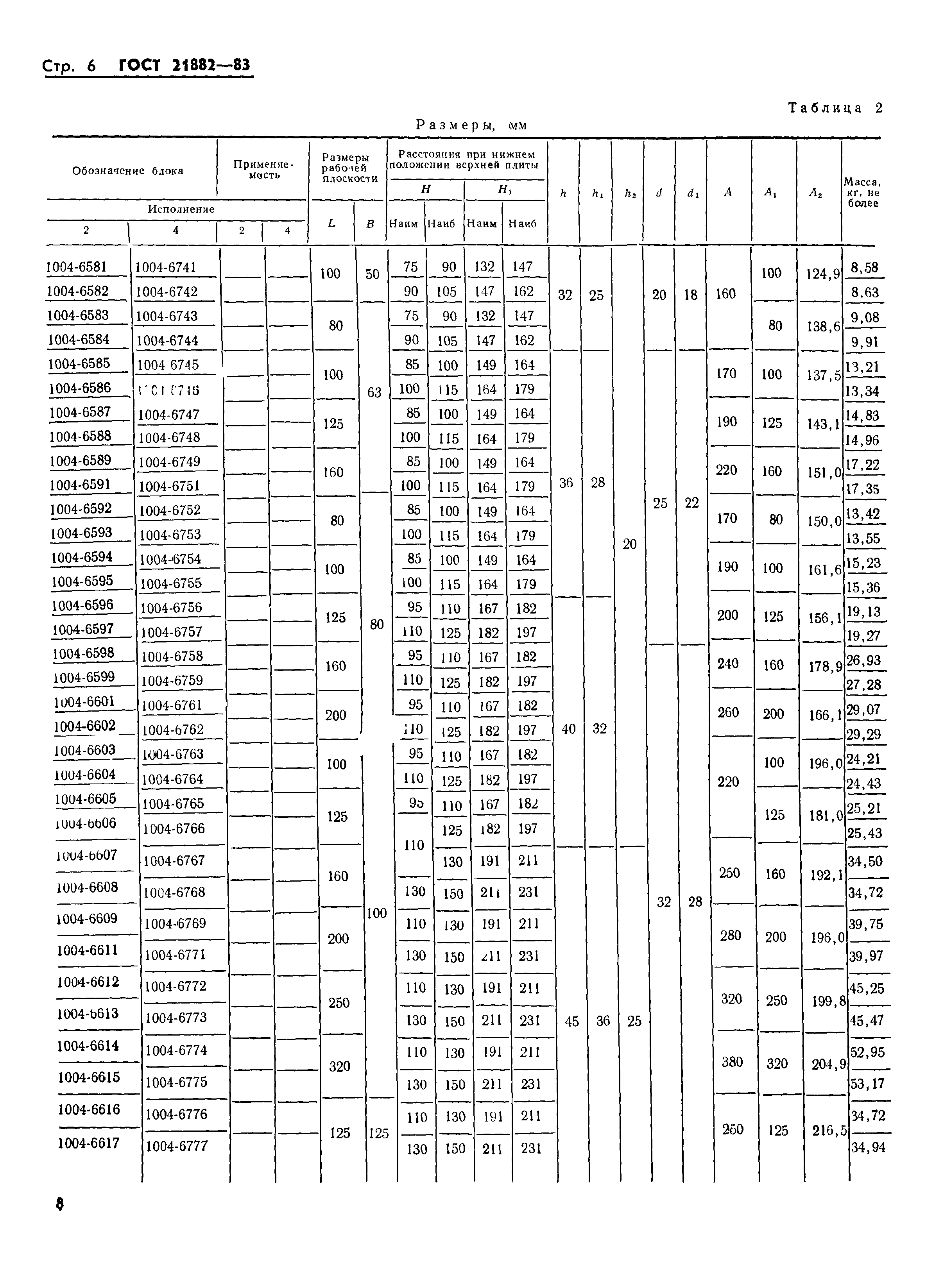
Штампы для листовой штамповки. Блоки штампов с промежуточной плитой с диагональным расположением направляющих узлов скольжения. Конструкция и размеры| Обозначение: | ГОСТ 21882-83 | | Обозначение англ: | GOST 21882-83 | | Статус: | действует | | Название рус.: | Штампы для листовой штамповки. Блоки штампов с промежуточной плитой с диагональным расположением направляющих узлов скольжения. Конструкция и размеры | | Название англ.: | Diagonal post press tool sets intermediate plate for sheet stamping dies. Construction and dimensions | | Дата добавления в базу: | 01.09.2013 | | Дата актуализации: | 01.01.2021 | | Дата введения: | 01.07.1984 | | Утверждён: | 22.09.1983 Госстандарт СССР (USSR Gosstandart 4503)
|
                     
|