Скачать ГОСТ 22064-76 Пресс-формы-заготовки с плитой съема и плитой выталкивателей для литья термопластов под давлением. Конструкция и размеры

Дата актуализации: 01.01.2021

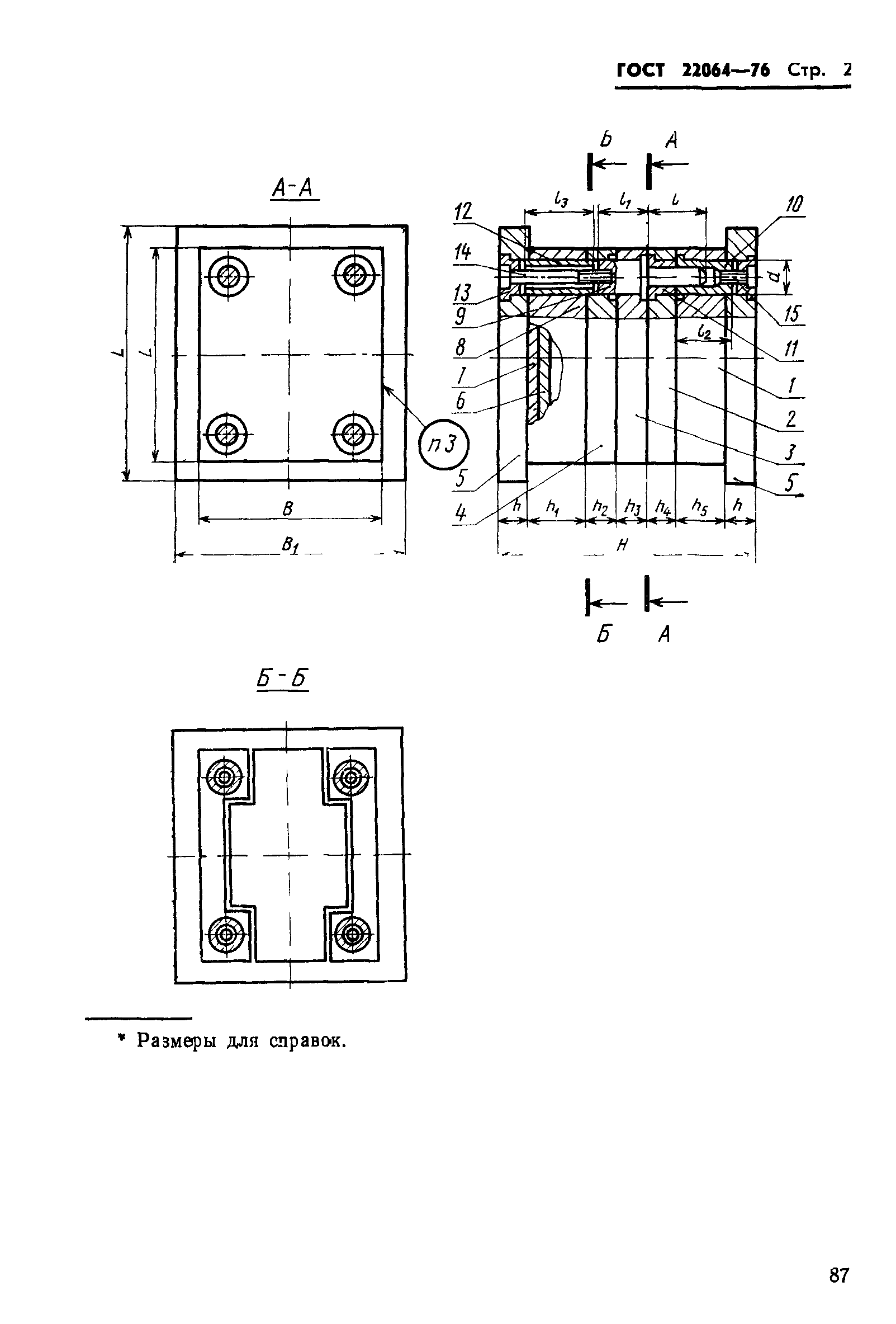
ГОСТ 22064-76

Пресс-формы-заготовки с плитой съема и плитой выталкивателей для литья термопластов под давлением. Конструкция и размеры

Обозначение: ГОСТ 22064-76
Обозначение англ: GOST 22064-76
Статус:действует
Название рус.:Пресс-формы-заготовки с плитой съема и плитой выталкивателей для литья термопластов под давлением. Конструкция и размеры
Название англ.:Injection mold bases with takeoff and ejector plate. Design and dimensions
Дата добавления в базу:01.09.2013
Дата актуализации:01.01.2021
Дата введения:01.07.1977
Утверждён:25.08.1976 Госстандарт СССР (USSR Gosstandart 2010)
Заменяет собой:
  • МН 5159-63 (в части конструкции форм)
  • МН 5160-63 (в части конструкции форм)
ГОСТ 22064-76ГОСТ 22064-76ГОСТ 22064-76ГОСТ 22064-76ГОСТ 22064-76ГОСТ 22064-76ГОСТ 22064-76ГОСТ 22064-76ГОСТ 22064-76ГОСТ 22064-76ГОСТ 22064-76ГОСТ 22064-76ГОСТ 22064-76ГОСТ 22064-76ГОСТ 22064-76ГОСТ 22064-76ГОСТ 22064-76ГОСТ 22064-76ГОСТ 22064-76ГОСТ 22064-76ГОСТ 22064-76ГОСТ 22064-76ГОСТ 22064-76ГОСТ 22064-76ГОСТ 22064-76ГОСТ 22064-76