Скачать ГОСТ 22558-89 Язык программирования КОБОЛДата актуализации: 01.01.2021
|
| Обозначение: | ГОСТ 22558-89 |
| Обозначение англ: | GOST 22558-89 |
| Статус: | действует |
| Название рус.: | Язык программирования КОБОЛ |
| Название англ.: | Programming language COBOL |
| Дата добавления в базу: | 01.09.2013 |
| Дата актуализации: | 01.01.2021 |
| Дата введения: | 01.01.1991 |
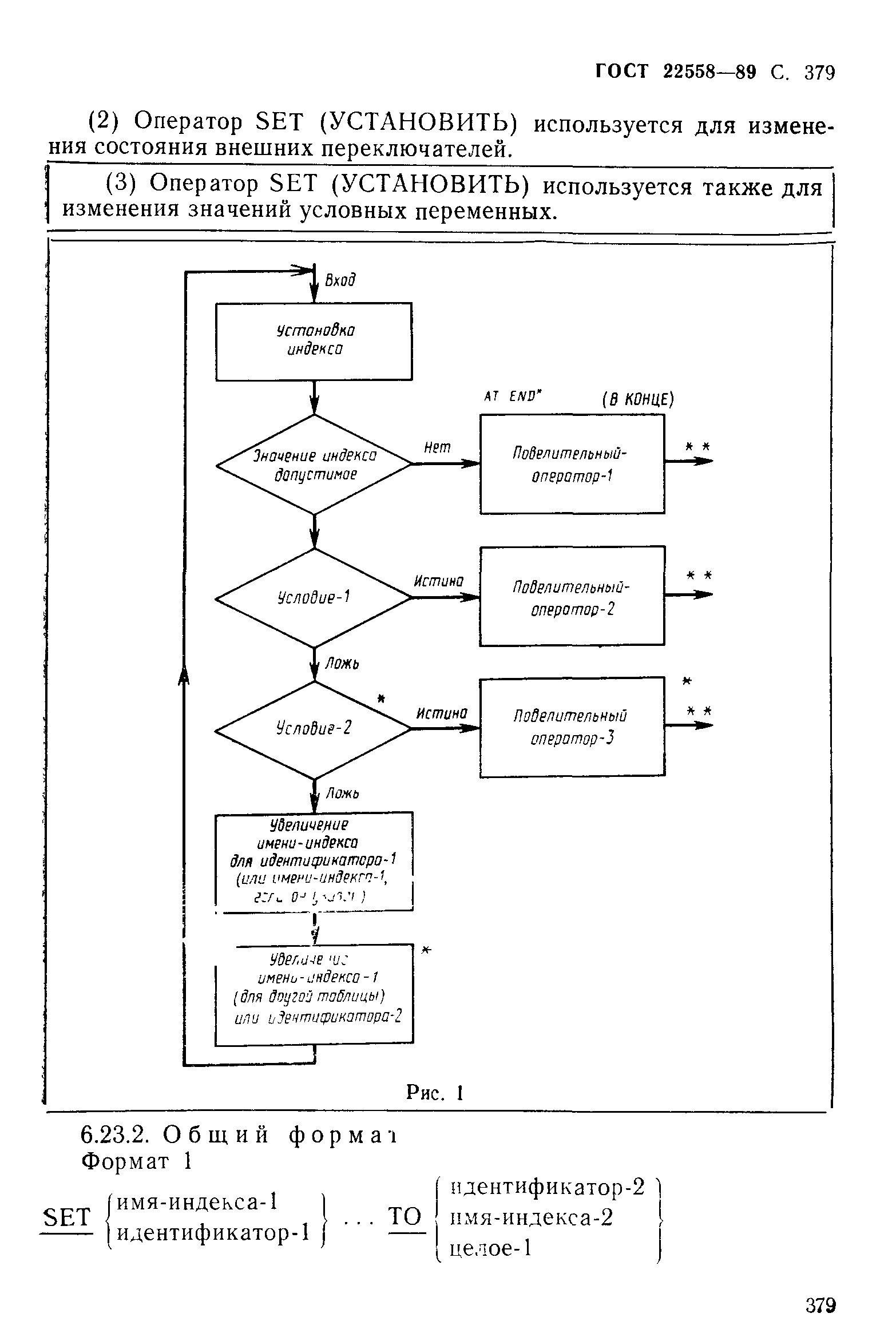
| Оглавление: | Часть 1 Основные положения 1 Введение к стандарту 1.1 Область действия и назначение 1.2 Структура спецификаций языка 1.3 Структура документа 1.4 Рекомендации по использованию текста стандарта 1.5 Определение реализации стандарта языка Кобол 1.6 Соответствие исходной программы стандарту 1.7 Сочетание соответствующей стандарту программы и соответствую щей стандарту реализации 2 Список элементов языка по модулям 2.1 Общее описание 2.2 Список элементов в модуле ядра 2.3 Список элементов в модуле последовательного ввода-вывода 2.4 Список элементов в модуле относительного ввода-вывода 2.5 Список элементов в модуле индексного ввода-вывода 2.6 Список элементов в модуле межпрограммных связей 2.7 Список элементов в модуле сортировки-слияния 2.8 Список элементов в модуле обработки исходных текстов 2.9 Список элементов в модуле генератора отчетов 2.10 Список элементов в модуле коммуникаций 2.11 Список элементов в модуле отладки 2.12 Список элементов в модуле сегментации 3 Список элементов по разделам Кобола 3.1 Общее описание 3.2 Список элементов понятий языка 3.3 Список элементов раздела идентификации 3.4 Список элементов раздела оборудования 3.5 Список элементов раздела данных 3.6 Список элементов раздела процедур Часть 2 Концепции и средства языка 1 Введение 2 Файлы 2.1 Свойства файла 2.2 Обработка файлов 3 Генератор отчетов 3.1 Секция отчетов 3.2 Структура отчета 3.3 Операторы раздела процедур генератора отчетов 4 Обработка таблиц 4.1 Определение таблиц 4.2 Начальные значения таблиц 4.3 Ссылки на табличные элементы 4.4 Индексирование 5 Общая область памяти 6 Организация программ и программных связей 6.1 Понятие программы и единицы исполнения 6.2 Доступные данные и файлы 6.3 Классы программ 6.4 Межпрограммные связи 6.5 Внутрипрограммные связи 6.6 Сегментация 7 Средства коммуникации 7.1 Система управления сообщениями 7.2 Объектная программа Кобола 7.3 Связь программы на Коболе с системой управления сообщениями и коммуникационными устройствами 7.4 Понятие сообщений и сегментов сообщения 7.5 Понятие очередей 7 6 Понятие коммуникации транзакций Часть 3 Глоссарии (словарь терминов Кобола) 1 Введение 2 Определения Часть 4 Основные понятия 1 Введение 2 Обозначения, используемые в форматах и правилах 3 Правила 4 Понятия языка 4.1 Набор литер 4.2 Структура языка 4.3 Понятие машинно-независимого описания данного 4.4 Явные и неявные спецификации 4.5 Внешний переключатель 5 Исходная Кобол-программа 5.1 Введение 5.2 Организация 5.3 Структура 6 Разделы 6.1 Раздел идентификации 6.2 Раздел оборудования 6.3 Раздел данных 6.4 Раздел процедур 7 Формат представления 7.1 Общее описание 7.2 Описание формата представления 7.3 Форматы раздела, секции, параграфа 7.4 Статьи раздела данных 7.5 Декларативы 7.6 Заголовок конца программы 8 Зарезервированные слова Кобола Часть 5 Форматы языка 1 Сводка форматов английской нотации 2 Сводка форматов русской нотации Часть 6 Ядро 1 Введение в модуль ядра 1.1 Назначение 1.2 Характеристика уровней 1.3 Ограничения по уровням, касающиеся общих характеристик языка 2 Исходная программа на Коболе 2.1 Общее описание 2.2 Организация 2.3 Структура 2.4 Заголовок конца программы 3 Раздел идентификации в ядре 3.1 Общее описание 3.2 Организация 3.3 Параграф PROGRAM-ID (ПРОГРАММА) 3.4 Параграф DATE-COMPILED (ДАТА-ТРАНСЛЯЦИИ) 4 Раздел оборудования в ядре 4.1 Общее описание 4.2 Секция конфигурации 4.3 Параграф SOURCE-COMPUTER (ИСХОДНАЯ-МАШИНА) 4.4 ПАРАГРАФ OBJECT-COMPUTER (РАБОЧАЯ МАШИНА) 4.5 Параграф SPECIAL-NAMES (СПЕЦИАЛЬНЫЕ-ИМЕНА) 5 Раздел данных в ядре 5.1 Общее описание 5.2 Секция рабочей памяти 5 3 Статья описания данного 5.4 Фраза BLANK WHEN ZERO (ПРОБЕЛ КОГДА НУЛЬ) 5.5 Фраза имя-данного или FILLER (ЗАПОЛНИТЕЛЬ) 5.6 Фраза JUSTIFIED (СДВИНУТО) 5.7 Номер-уровня 5.8 Фраза OCCURS (ПОВТОРЯЕТСЯ) 5.9 Фраза PICTURE (ШАБЛОН) 5.10 Фраза REDEFINES (ПЕРЕОПРЕДЕЛЯЕТ) 5.11 Фраза RENAMES (ПЕРЕИМЕНОВЫВАЕТ) 5.12 Фраза SIGN (ЗНАК) 5.13 Фраза SYNCHRONIZED (ВЫДЕЛЕНО) 5.14 Фраза об использовании 5.15 Фраза VALUE (ЗНАЧЕНИЕ) 6 Раздел процедур в ядре 6.1 Общее описание 6.2 Арифметические выражения 6.3 Условные выражения 6.4 Общие фразы и правила для форматов операторов 6.5 Оператор ACCEPT (ПРИНЯТЬ) 6.6 Оператор ADD (СЛОЖИТЬ) 6.7 Оператор ALTER (ИЗМЕНИТЬ) 6.8 Оператор COMPUTE (ВЫЧИСЛИТЬ) 6.9 Оператор CONTINUE (ПРОДОЛЖИТЬ) 6.10 Оператор DISPLAY (ВЫДАТЬ) 6.11 Оператор DIVIDE (РАЗДЕЛИТЬ) 6.12 Оператор ENTER (ВОЙТИ) 6.13 Оператор EVALUATE (ОЦЕНИТЬ) 6.14 Оператор EXIT (ВЫЙТИ) 6.15 Оператор GO TO (ПЕРЕЙТИ) 6.16 Оператор IF (ЕСЛИ) 6.17 Оператор INITIALIZE (ИНИЦИИРОВАТЬ) 6.18 Оператор INSPECT (ПРОСМОТРЕТЬ) 6.19 Оператор MOVE (ПОМЕСТИТЬ) 6.20 Оператор MULTIPLY (УМНОЖИТЬ) 6.21 Оператор PERFORM (ВЫПОЛНИТЬ) 6.22 Оператор SEARCH (ИСКАТЬ) 6.23 Оператор SET (УСТАНОВИТЬ) 6.24 Оператор STOP (ОСТАНОВИТЬ) 6.25 Оператор STRING (СОБРАТЬ) 6.26 Оператор SUBTRACТ (ОТНЯТЬ) 6.27 Оператор UNSTRING (РАЗОБРАТЬ) 7 Отладка в ядре 7.1 Общее описание 7.2 Переключатель времени компиляции 7.3 Отладочные строки Часть 7 Модуль последовательного ввода-вывода 1 Введение в модуль последовательного ввода-вывода 1.1 Назначение 1.2 Характеристика уровней 1.3 Понятия языка 2 Раздел оборудования в модуле последовательного ввода вывода 2.1 Секция ввода вывода 2.2 Параграф FILE CONTROL (УПРАВЛЕНИЕ ФАЙЛАМИ) 2.3 Статья управления файлом 2.4 Фраза ACCESS MODE (ДОСТУП) 2.5 Фраза FILE STATUS (СОСТОЯНИЕ ФАЙЛА) 2.6 Фраза ORGANIZATION IS SEQUENTIAL (ОРГАНИЗАЦИЯ ПОСЛЕДОВАТЕЛЬНАЯ) 2.7 Фраза PADDING CHARACTER (ЛИТЕРА ЗАПОЛНИТЕЛЬ) 2.8 Фраза RECORD DELIMITER (ОГРАНИЧИТЕЛЬ ЗАПИСИ) 2.9 Фраза RESERVE (РЕЗЕРВИРОВАТЬ) 2.10 Параграф I О CONTROL (УПРАВЛЕНИЕ ВВОДОМ ВЫВОДОМ) 2.11 Фраза MULTIPLE PILE ТАРE (НА ОДНОЙ КАТУШКЕ) 2.12 Фраза RERUN (ПЕРЕПРОГОН) 2.13 Фраза SAME AREA (ОБЩАЯ ОБЛАСТЬ) 3 Раздел данных в модуле последовательного вывода вывода 3.1 Секция файлов 3.2 Статья описания файла 3.3 Фраза BLOCK CONTAINS (В БЛОКЕ) 3.4 Фраза CODE SET (АЛФАВИТ) 3.5 Фраза DATA RECORDS (ЗАПИСИ ДАННЫХ) 3.6 Фраза LABEL RECOKDS (МЕТКИ) 3.7 Фраза LINAGE (ВЕРСТКА) 3.8 Фраза RECORD (В ЗАПИСИ) 3.9 Фраза VALUE (ЗНАЧЕНИЕ) 4 Раздел процедур в модуле последовательного ввода вывода 4.1 Общее описание 4.2 Оператор CLOSE (ЗАКРЫТЬ) 4.3 Оператор OPEN (ОТКРЫТЬ) 4.4 Оператор READ (ЧИТАТЬ) 4.5 Оператор REWRITE (ОБНОВИТЬ) 4.6 Оператор USE (ИСПОЛЬЗОВАТЬ) 4.7 Оператор WRITE (ПИСАТЬ) Часть 8 Модуль относительного ввода-вывода 1 Введение в модуль относительного ввода вывод 1.1 Назначение 1.2 Характеристика уровней 1.3 Понятия языка 2 Раздел оборудования в модуле относительного ввода вывода 2.1 Секция ввода вывода 2.2 Параграф FILE CONTROL (УПРАВЛЕНИЕ ФАЙЛАМИ) 2.3 Статья управления файлом 2.4 Фраза ACCESS MODE (ДОСТУП) 2.5 Фраза ORGANIZATION IS RELATIVE (ОРГАНИЗАЦИЯ ОТНОСИТЕЛЬНАЯ) 2.6 Параграф I О CONTROL (УПРАВЛЕНИЕ ВВОДОМ-ВЫВОДОМ) 3 Раздел данных в модуле относительного ввода вывода 3.1 Секция файлов 3.2 Статья описания файла 4 Раздет процедур в модуле относительного ввода вывода 4.1 Общее описание 4.2 Оператор CLOSE (ЗАКРЫТЬ) 4.3 Оператор DELETE (УДАЛИТЬ) 4.4 Оператор OPEN (ОТКРЫТЬ) 4.5 Оператор READ (ЧИТАТЬ) 4.6 Оператор REWRITE (ОБНОВИТЬ) 4.7 Оператор START (ПОДВЕСТИ) 4.8 Оператор USE (ИСПОЛЬЗОВАТЬ) 4.9 Оператор WRITE (ПИСАТЬ) Часть 9 Модуль индексного ввода-вывода 1 Введение в модуль индексного ввода-вывода 1.1 Назначение 1.2 Характеристика уровней 1.3 Понятия языка 2 Раздел оборудования в модуле индексного ввода-вывода 2.1 Секция ввода-вывода 2.2 Параграф FILE-CONTROL (УПРАВЛЕНИЕ-ФАЙЛАМИ) 2.3 Статья управления файлом 2.4 Фраза ACCESS MODE (ДОСТУП) 2.5 Фраза ALTERNATE RECORD KEY (ДОПОЛНИТЕЛЬНЫЙ КЛЮЧ ЗАПИСИ) 2.6 Фраза ORGANIZATION IS INDEXED (ОРГАНИЗАЦИЯ ИНДЕКСНАЯ) 2.7 Фраза RECORD KEY (КЛЮЧ ЗАПИСИ) 2.8 Параграф I-О-CONTROL (УПРАВЛЕНИЕ-ВВОДОМ-ВЫВОДОМ) 3 Раздел данных в модуле индексного ввода-вывода 3.1 Секция файлов 3.2 Статья описания файла 4 Раздел процедур в модуле индексного ввода-вывода 4.1 Общее описание 4.2 Оператор CLOSE (ЗАКРЫТЬ) 4.3 Оператор DELETE (УДАЛИТЬ) 4.4 Оператор OPEN (ОТКРЫТЬ) 4.5 Оператор READ (ЧИТАТЬ) 4.6 Оператор REWRITE (ОБНОВИТЬ) 4.7 Оператор START (ПОДВЕСТИ) 4.8 Оператор USE (ИСПОЛЬЗОВАТЬ) 4.9 Оператор WRITE (ПИСАТЬ) Часть 10 Модуль межпрограммных связей 1 Введение в модуль межпрограммных связей 1.1 Назначение 1.2 Характеристика уровней 1.3 Понятия языка 2 Вложенные исходные программы 2.1 Общее описание 2.2 Организация 2.3 Структура 2.4 Начальное состояние программы 2.5 Заголовок конца программы 3 Раздел идентификации в модуле межпрограммных связей 3.1 Параграф PROGRAM-ID (ПРОГРАММА) и вложенные исходные программы 4 Раздел данных в модуле межпрограммных связей 4.1 Секция связи 4.2 Статья описания файла в модуле межпрограммных связей 4.3 Статья описания данного в модуле межпрограммных связей 4.4 Статья описания отчета в модуле межпрограммных связей 4.5 Фраза EXTERNAL (ВНЕШНЕЕ) 4.6 Фраза GLOBAL (ГЛОБАЛЬНОЕ) 5 Раздел процедур в модуле межпрограммных связей 5.1 Заголовок раздела процедур 5.2 Оператор CALL (ВЫЗВАТЬ) 5.3 Оператор CANCEL (ОСВОБОДИТЬ) 5.4 Оператор EXIT PROGRAM (ВЫЙТИ ИЗ ПРОГРАММЫ) 5.5 Оператор USE (ИСПОЛЬЗОВАТЬ) 5.6 Оператор USE BEFORE REPORTING (ИСПОЛЬЗОВАТЬ ВЫДАЧИ) Часть 11 Модуль сортировки слияния 1 Введение в модуль сортировки слияния 1.1 Назначение 1.2 Понятия языка 2 Раздел оборудования в модуле сортировки слияния 2.1 Секция ввода-вывода 2.2 Параграф TILE CONTROL (УПРАВЛЕНИЕ ФАЙЛАМИ) 2.3 Статья управления файлом 2.4 Параграф I О CONTROL (УПРАВЛЕНИЕ ВВОДОМ ВЫВОДОМ) 2.5 Фразы SAME RECORD AREA (ОБЩАЯ ОБЛАСТЬ ЗАПИСИ), SАMI SORT/SORT MERGE AREA (ОБЩАЯ ОБЛАСТЬ СОРТИРОВКИ/СОРТИРОВКИ СЛИЯНИЯ) 3 Раздел данных в модуле сортировки слияния 3.1 Секция файлов 3.2 Статья описания сортируемого сливаемого файла 4 Раздел процедур в модуле сортировки слияния 4.1 Оператор MERGE (СЛИТЬ) 4.2 Оператор RELEASE (ПЕРЕДАТЬ) 4.3 Оператор RETURN (ВЕРНУТЬ) 4.4 Оператор SORT (СОРТИРОВАТЬ) Часть 12 Модуль обработки исходных текстов 1 Введение в модуль обработки исходных текстов 2 Оператор COPY (КОПИРОВАТЬ) 3 Оператор REPLACE (ЗАМЕНИТЬ) Часть 13 Модуль генератора отчетов 1 Введение в модуль генератора отчетов 1.1 Назначение 1.2 Понятия языка 2 Раздел оборудования в модуле генератора отчетов 2.1 Секция ввода вывода 2.2 Параграф FILE CONTROL (УПРАВЛЕНИЕ ФАЙЛАМИ) 2.3 Статья управления файлом 2.4 Параграф I О CONTROL (УПРАВЛЕНИЕ ВВОДОМ ВЫВОДОМ) 3 Раздел данных в модуле генератора отчетов 3.1 Секция файлов 3.2 Статья описания файла 3.3 Фраза REPORT (ОТЧЕТ) 3.4 Секция отчетов 3.5 Статья описания отчета 3.6 Фраза CODE (С КОДОМ) 3.7 Фраза CONTROL (УПРАВЛЕНИЕ) 3.8 Фраза PAGE (РАЗМЕР СТРАНИЦЫ) 3.9 Статья описания группы отчета 3.10 Таблицы правил представления 3.11 Фраза COLUMN NUMBER (НОМЕР СТОЛБЦА) 3.12 Фраза «имя данного» 3.13 Фраза GROUP INDICATE (ОПРЕДЕЛЯЕТ ГРУППУ) 3.14 Номер уровня 3.15 Фраза LINF NUMBER (НОМЕР СТРОКИ) 3.16 Фраза NEXT GROUP (СЛЕДУЮЩАЯ ГРУППА) 3.17 Фраза SIGN (ЗНАК) 3.18 Фраза SOURCE (ИСТОЧНИК) 3.19 Фраза SUM (СУММА) 3.20 Фраза TYPE (ТИП) 3.21 Фраза USAGE (об использовании) 3.22 Фраза VALUE (ЗНАЧЕНИЕ) 4 Раздел процедур в модуле генератора отчетов 4.1 Общее описание 4.2 Оператор CLOSE (ЗАКРЫТЬ) 4.3 Оператор GENERATE (ГЕНЕРИРОВАТЬ) 4.4 Оператор INITIATE (НАЧАТЬ) 4.5 Оператор OPEN (ОТКРЫТЬ) 4.6 Оператор SUPPRESS (ПОДАВИТЬ) 4.7 Оператор TERMINATE (ЗАКОНЧИТЬ) 4.8 Оператор USE AFTER STANDARD EXCEPTION PROCEDURE (ИСПОЛЬЗОВАТЬ ПОСЛЕ СТАНДАРТНОЙ ПРОЦЕДУРЫ ОШИБКИ) 4.9 Оператор USE BEFORE REPORTING (ИСПОЛЬЗОВАТЬ ДО ВЫДАЧИ) Часть 14 Модуль коммуникаций 1 Введение в модуль коммуникаций 1.1 Назначение 1.2 Характеристика уровней 2 Раздел данных в модуле коммуникаций 2.1 Секция коммуникаций 2.2 Статья описания коммуникации 3 Раздел процедур в модуле коммуникации 3.1 Оператор ACCEPT MESSAGE COUNT (ПРИНЯТЬ ЧИСЛО СООБЩЕНИЙ) 3.2 Оператор DISABLE (ЗАПРЕТИТЬ) 3.3 Оператор ENABLE (РАЗРЕШИТЬ) 3.4 Оператор PURGE (ОЧИСТИТЬ) 3.5 Оператор RECEIVE (ПОЛУЧИТЬ) 3.6 Оператор SEND (ПОСЛАТЬ) Часть 15 Модуль отладки 1 Введение в модуль отладки 1.1 Назначение 1.2 Характеристика уровней 1.3 Понятия языка 2 Раздел оборудования в модуле отладки 2.1 Фраза WITH DEBUGGING MODE (В РЕЖИМЕ ОТЛАДКИ) 3 Раздел процедур в модуле отладки 3.1 Общее описание 3.2 Оператор USE FOR DEBUGGING (ИСПОЛЬЗОВАТЬ ДЛЯ ОТКЛАДКИ) Часть 16 Модуль сегментации 1 Введение в модуль сегментации 1.1 Назначение 1.2 Характеристика уровней 1.3 Область действия 1.4 Организация 1.5 Классификация сегментации 1.6 Управление сегментацией 2 Раздел оборудования в модуле сегментации 2.1 Секция конфигурации 2.2 Параграф OBJECT-COMPUTER (РАБОЧАЯ-МАШИНА) 2.3 Фраза SEGMENT-LIMIT (ГРАНИЦА СЕГМЕНТОВ) 3 Раздел процедур в модуле сегментации 3.1 Общее описание 3.2 Номера сегментов 3.3 Ограничения на программный поток Приложение 1 Отличия между предыдущим и настоящим стандартом 1 Перечень отличий 1.1 Перечень отличий в понятиях языка 1.2 Перечень отличий в разделе идентификации 1.3 Перечень отличий в разделе оборудования 1.4 Перечень отличий в разделе данных 1.5 Перечень отличий в разделе процедур 1.6 Дополнительный список отличий 2 Существенные изменения 2.1 Существенные изменения, не влияющие на имеющиеся программы 2.2 Существенные изменения, потенциально влияющие на имеющиеся программы Приложение 2 Списки элементов языка 1 Список устаревших элементов языка 2 Список элементов языка, определяемых реализацией 3 Список элементов, языка, зависящих от оборудования 4 Список неопределенных элементов языка Информационные данные |
| Утверждён: | 20.12.1989 Госстандарт СССР (USSR Gosstandart 3894) |
| Заменяет собой: |
|










































































































































































































































































































































































































































































































































































































































































































































































































































