Скачать ГОСТ 22629-77 Патроны выдвижные для плашек к токарно-револьверным автоматам. Основные размерыДата актуализации: 01.01.2021 ГОСТ 22629-77
Патроны выдвижные для плашек к токарно-револьверным автоматам. Основные размеры| Обозначение: | ГОСТ 22629-77 | | Обозначение англ: | GOST 22629-77 | | Статус: | действует | | Название рус.: | Патроны выдвижные для плашек к токарно-револьверным автоматам. Основные размеры | | Название англ.: | Movable chasing chucks for automatic lathes. Basic dimensions | | Дата добавления в базу: | 01.09.2013 | | Дата актуализации: | 01.01.2021 | | Дата введения: | 01.01.1979 | | Утверждён: | 22.07.1977 Госстандарт СССР (USSR Gosstandart 1801)
| | Заменяет собой: | |
         
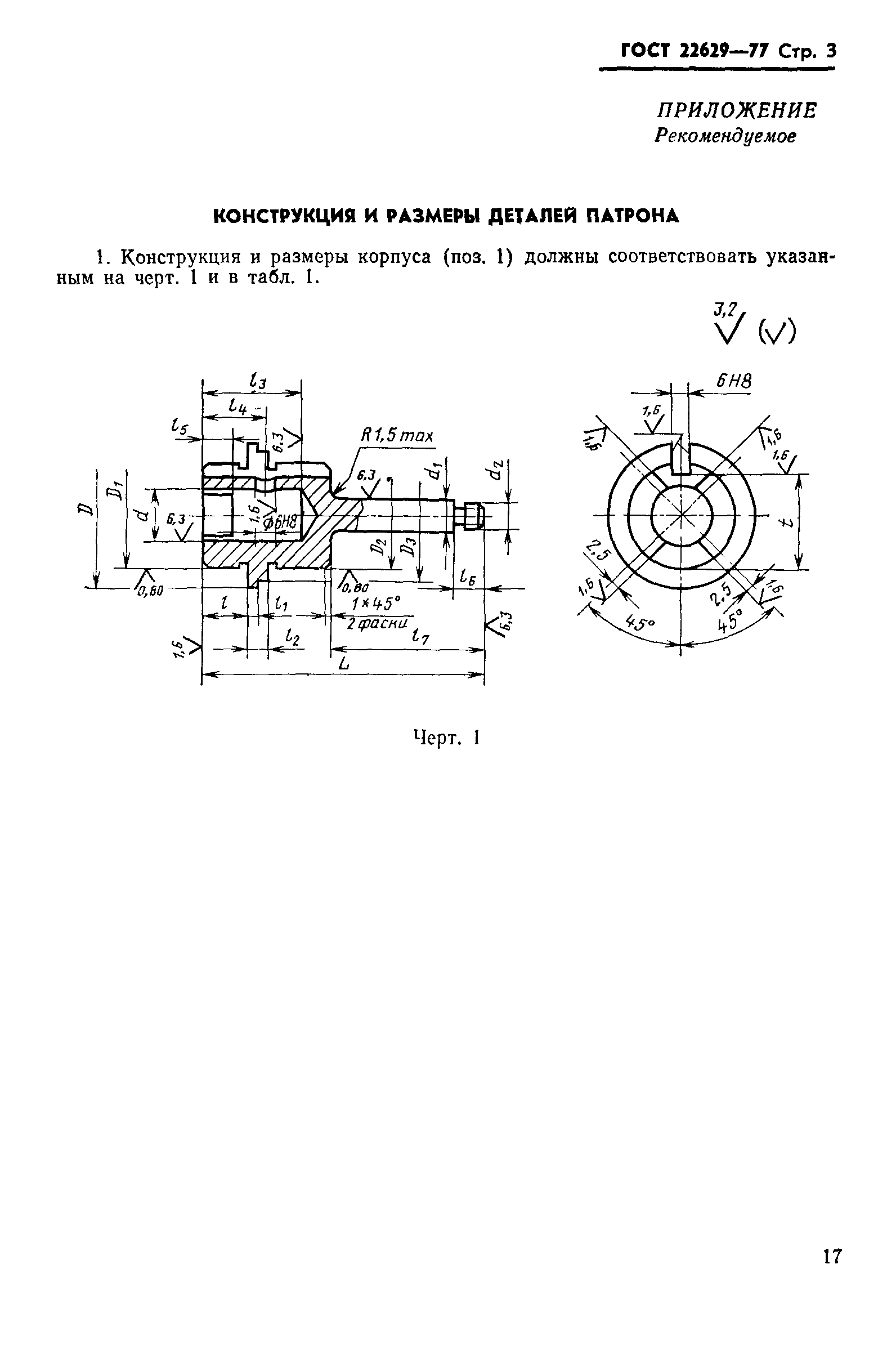
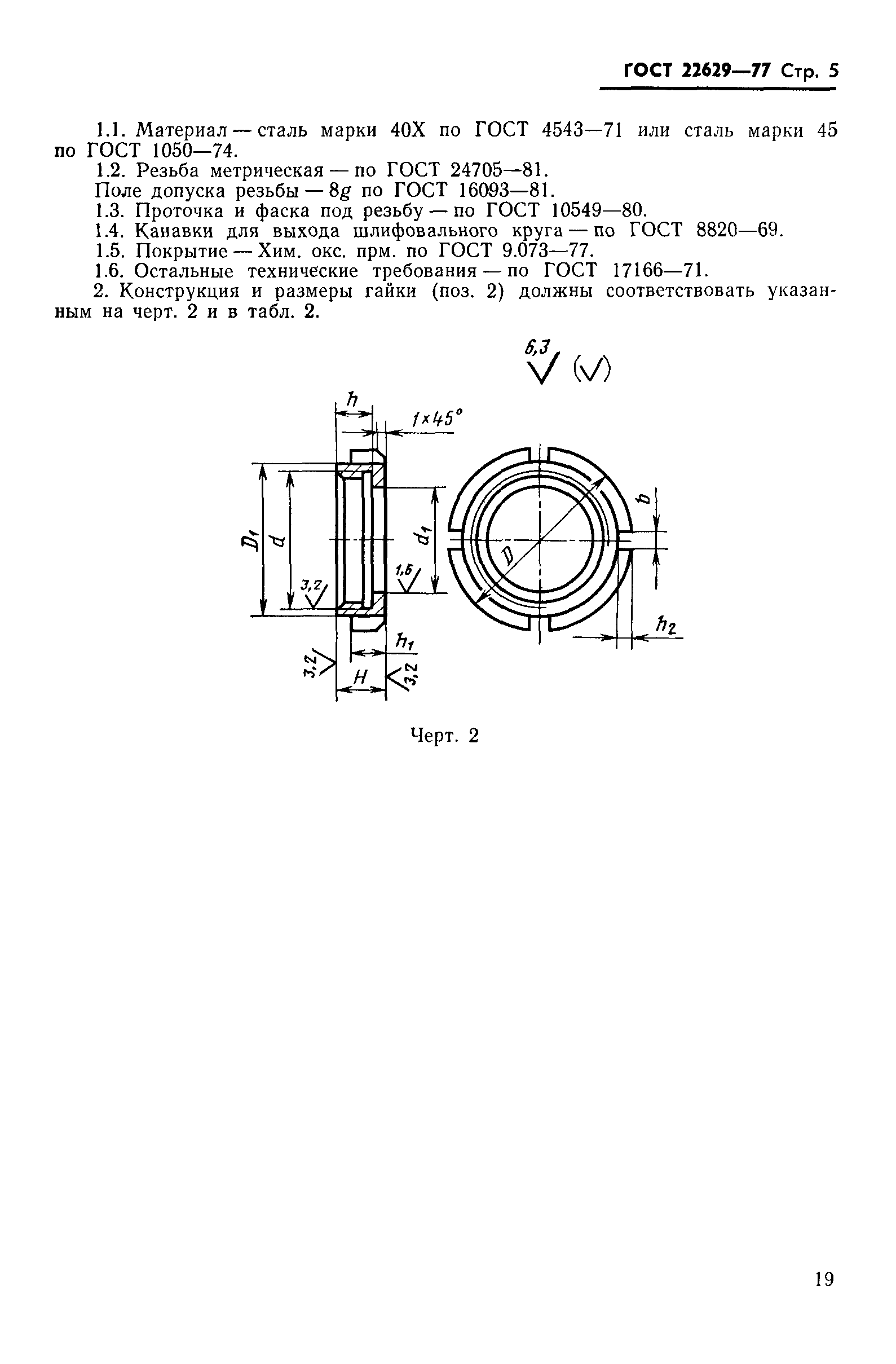
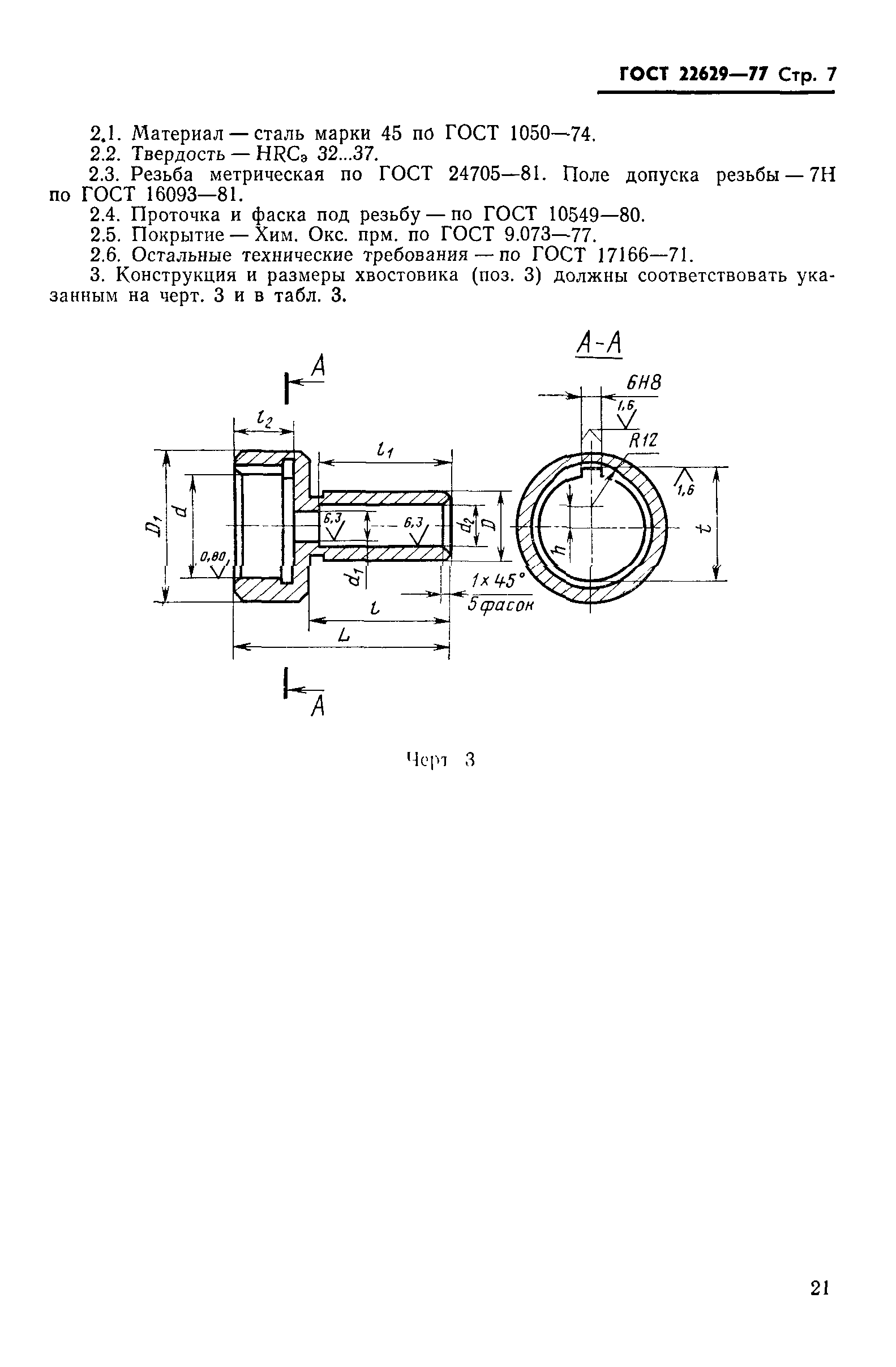
|