Скачать ГОСТ 22630-77 Втулки к выдвижным патронам для плашек к токарно-револьверным автоматам. Конструкция и размеры

Дата актуализации: 01.01.2021

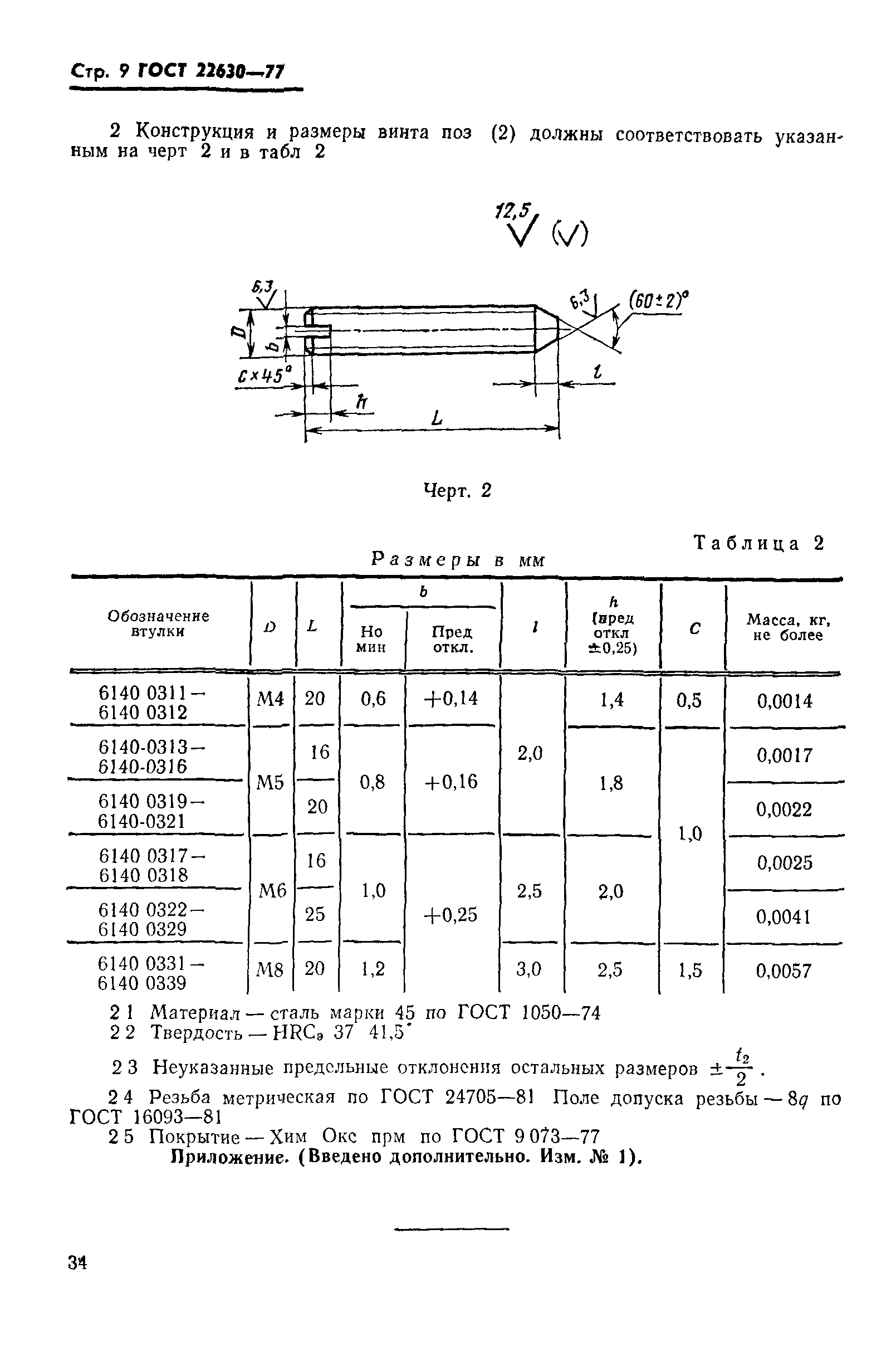
ГОСТ 22630-77

Втулки к выдвижным патронам для плашек к токарно-револьверным автоматам. Конструкция и размеры

Обозначение: ГОСТ 22630-77
Обозначение англ: GOST 22630-77
Статус:действует
Название рус.:Втулки к выдвижным патронам для плашек к токарно-револьверным автоматам. Конструкция и размеры
Название англ.:Sockets for chasing chucks for automatic lathes. Basic dimensions
Дата добавления в базу:01.09.2013
Дата актуализации:01.01.2021
Дата введения:01.01.1979
Утверждён:22.07.1977 Госстандарт СССР (USSR Gosstandart 1801)
Заменяет собой:
  • МН 1205-60 (Сведения из перечня "Указатель государственных стандартов СССР 1980 г.", Издательство стандартов 1980)
ГОСТ 22630-77ГОСТ 22630-77ГОСТ 22630-77ГОСТ 22630-77ГОСТ 22630-77ГОСТ 22630-77ГОСТ 22630-77ГОСТ 22630-77ГОСТ 22630-77ГОСТ 22630-77ГОСТ 22630-77