Скачать ГОСТ 22656-77 Направляющие к прессам с размерами греющих кассет 600х600 мм для стационарных двухкассетных пресс-форм. Конструкция и размерыДата актуализации: 01.01.2021 ГОСТ 22656-77
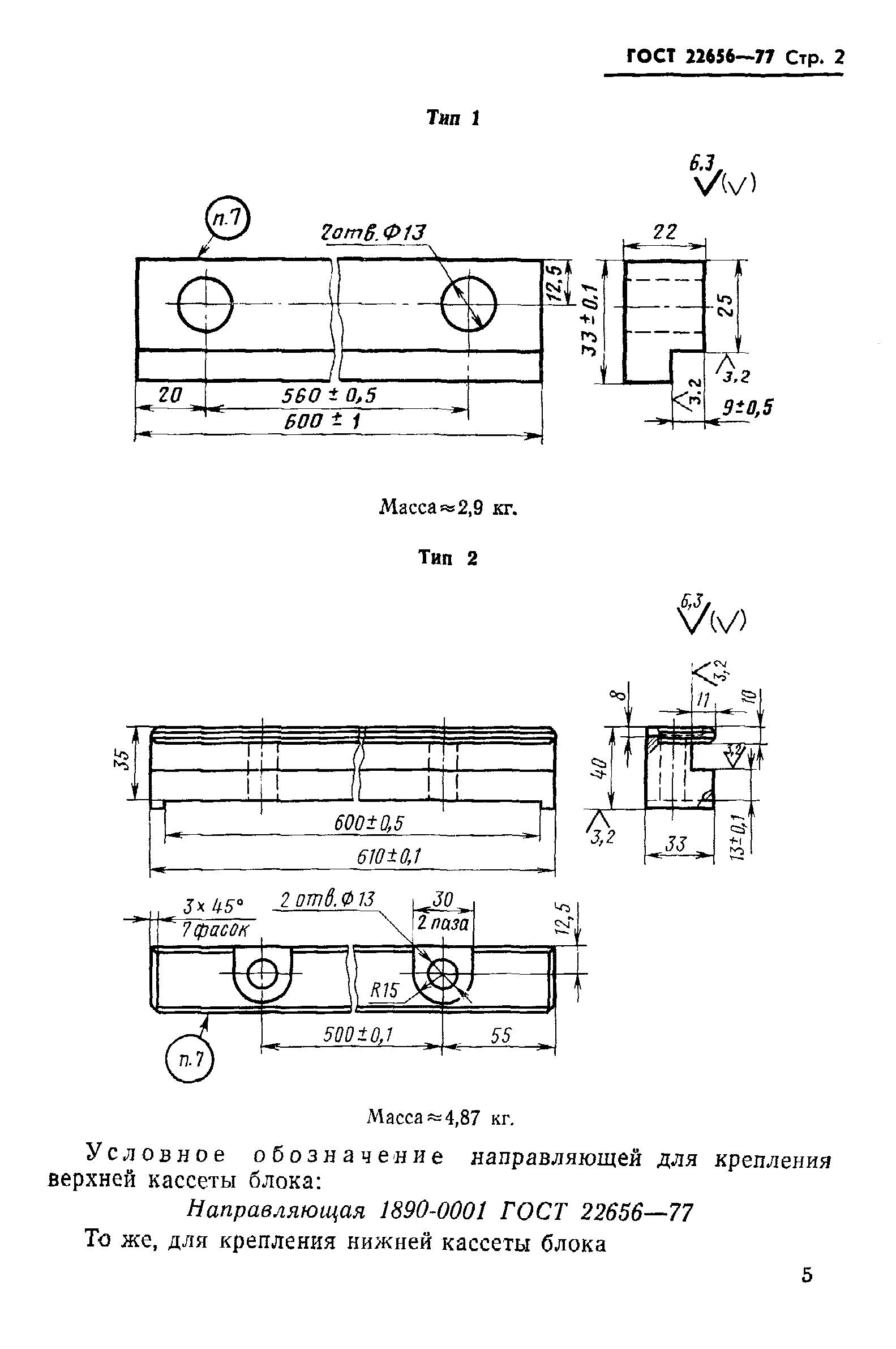
Направляющие к прессам с размерами греющих кассет 600х600 мм для стационарных двухкассетных пресс-форм. Конструкция и размеры| Обозначение: | ГОСТ 22656-77 | | Обозначение англ: | GOST 22656-77 | | Статус: | действует | | Название рус.: | Направляющие к прессам с размерами греющих кассет 600х600 мм для стационарных двухкассетных пресс-форм. Конструкция и размеры | | Название англ.: | Guides for presses having 600x600 mm heating plates for stationary two-casette press moulds. Design and dimensions | | Дата добавления в базу: | 01.09.2013 | | Дата актуализации: | 01.01.2021 | | Дата введения: | 01.01.1979 | | Утверждён: | 10.08.1977 Госстандарт СССР (USSR Gosstandart 1938)
|
 
|