Скачать ГОСТ 22957-78 Профили стенок литейных цельнолитых стальных и чугунных опок. Конструкция и размерыДата актуализации: 01.01.2021
|
| Обозначение: | ГОСТ 22957-78 |
| Обозначение англ: | GOST 22957-78 |
| Статус: | действует |
| Название рус.: | Профили стенок литейных цельнолитых стальных и чугунных опок. Конструкция и размеры |
| Название англ.: | Wall profiles of all-cast steel and iron moulding boxes. Construction and dimensions |
| Дата добавления в базу: | 01.09.2013 |
| Дата актуализации: | 01.01.2021 |
| Дата введения: | 01.01.1979 |
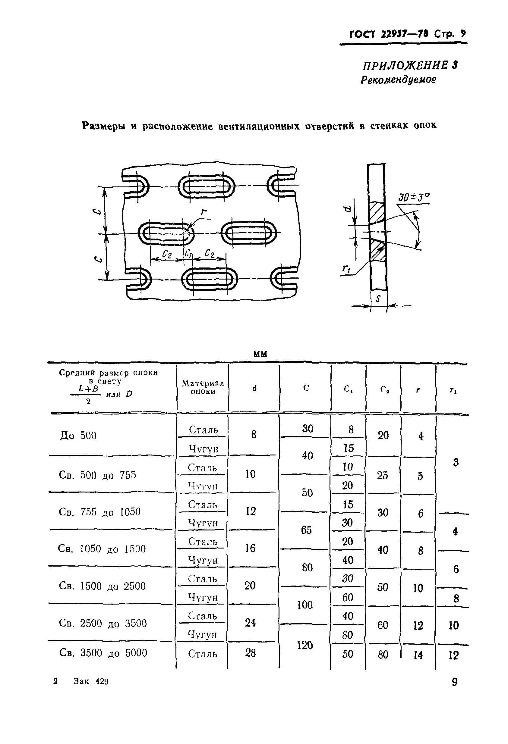
| Оглавление: | Приложение 1 Радиусы сопряжения стенок опок Приложение 2 Примеры расположения ребер жесткости в опоках Приложение 3 Размеры и расположение вентиляционных отверстий в стенках опок Приложение 4 Минимальные толщины стенок опок Приложение 5 Размеры окон в стенках опок для вертикальной заливки |
| Утверждён: | 08.02.1978 Госстандарт СССР (USSR Gosstandart 400) |
| Заменяет собой: |
|














