Скачать ГОСТ 22959-78 Ручки и цапфы цельнолитые для литейных стальных и чугунных опок. Конструкция и размеры

Дата актуализации: 01.01.2021

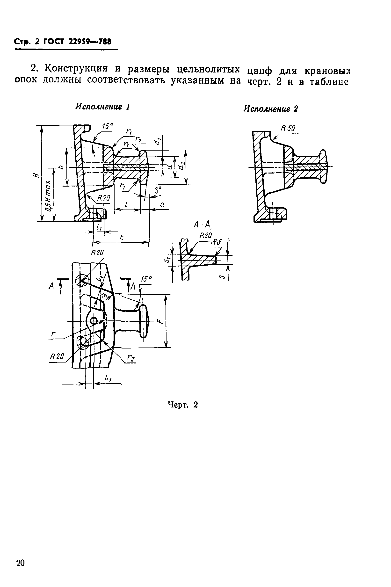
ГОСТ 22959-78

Ручки и цапфы цельнолитые для литейных стальных и чугунных опок. Конструкция и размеры

Обозначение: ГОСТ 22959-78
Обозначение англ: GOST 22959-78
Статус:действует
Название рус.:Ручки и цапфы цельнолитые для литейных стальных и чугунных опок. Конструкция и размеры
Название англ.:Handles and frunnions for steel and iron moulding boxes. Construction and dimensions
Дата добавления в базу:01.09.2013
Дата актуализации:01.01.2021
Дата введения:01.01.1979
Утверждён:08.02.1978 Госстандарт СССР (USSR Gosstandart 400)
Заменяет собой:
  • МН 145-59 (в части цельнолитых ручек)
  • МН 147-59 (в части цельнолитых цапф)
  • МН 148-59 (в части цельнолитых цапф)
ГОСТ 22959-78ГОСТ 22959-78ГОСТ 22959-78ГОСТ 22959-78ГОСТ 22959-78ГОСТ 22959-78ГОСТ 22959-78ГОСТ 22959-78