Скачать ГОСТ 22962-78 Ушки литейных цельнолитых стальных и чугунных опок под центрирующие и направляющие втулки. Конструкция и размеры

Дата актуализации: 01.01.2021

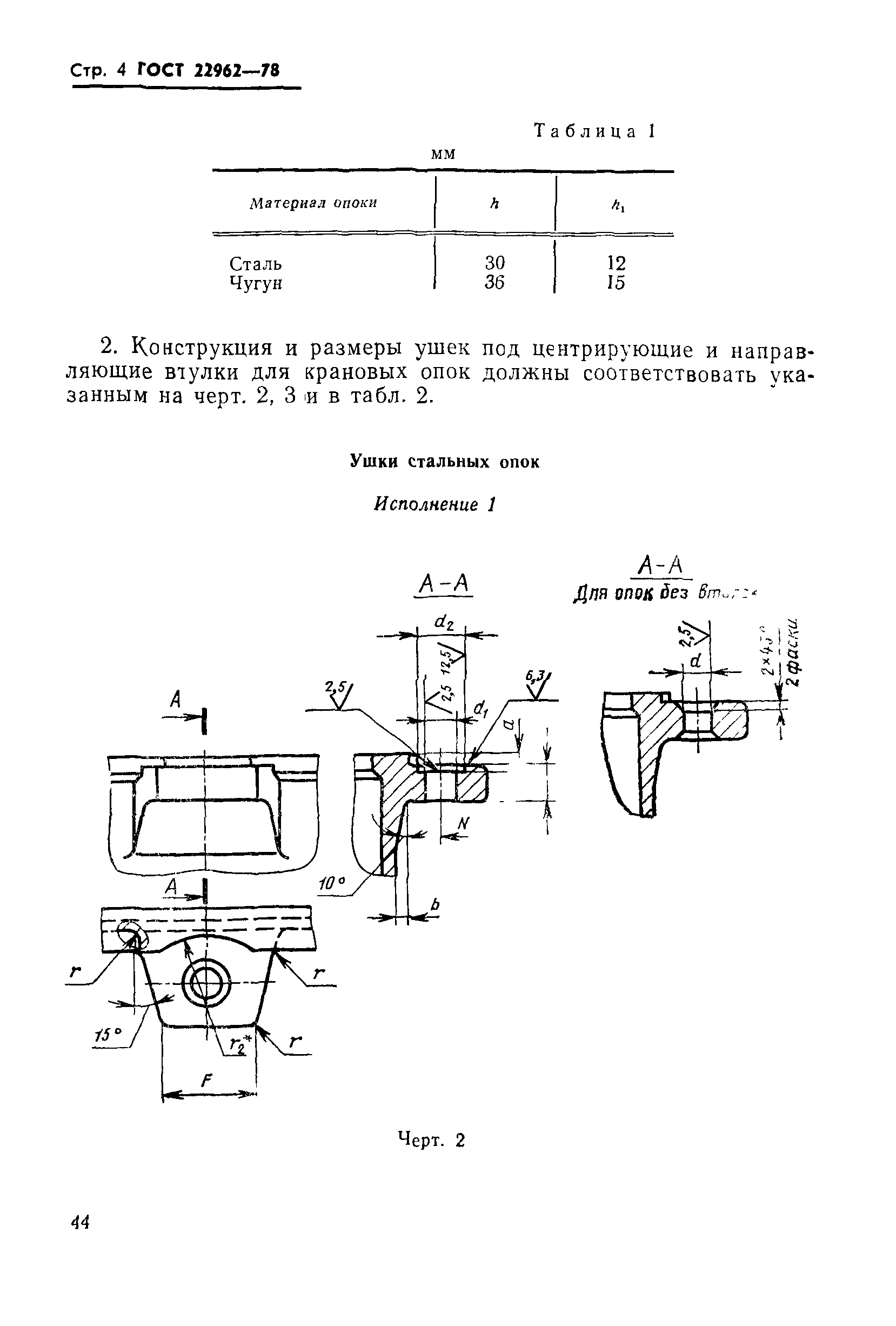
ГОСТ 22962-78

Ушки литейных цельнолитых стальных и чугунных опок под центрирующие и направляющие втулки. Конструкция и размеры

Обозначение: ГОСТ 22962-78
Обозначение англ: GOST 22962-78
Статус:действует
Название рус.:Ушки литейных цельнолитых стальных и чугунных опок под центрирующие и направляющие втулки. Конструкция и размеры
Название англ.:Lugs of all cast steel and iron moulding boxes for centering and guide bushes. Construction and dimensions
Дата добавления в базу:01.09.2013
Дата актуализации:01.01.2021
Дата введения:01.01.1979
Оглавление:Приложение Примеры расположения ушек под центрирующие и направляющие втулки
Утверждён:01.01.1978 Госстандарт СССР (USSR Gosstandart 400)
Заменяет собой:
  • МН 155-59 (Сведения из перечня "Указатель государственных стандартов СССР 1980 г.", Издательство стандартов 1980)
ГОСТ 22962-78ГОСТ 22962-78ГОСТ 22962-78ГОСТ 22962-78ГОСТ 22962-78ГОСТ 22962-78ГОСТ 22962-78ГОСТ 22962-78ГОСТ 22962-78ГОСТ 22962-78ГОСТ 22962-78