Скачать ГОСТ 22964-78 Втулки-штыри центрирующие и направляющие для литейных опок. Конструкция и размеры

Дата актуализации: 01.01.2021

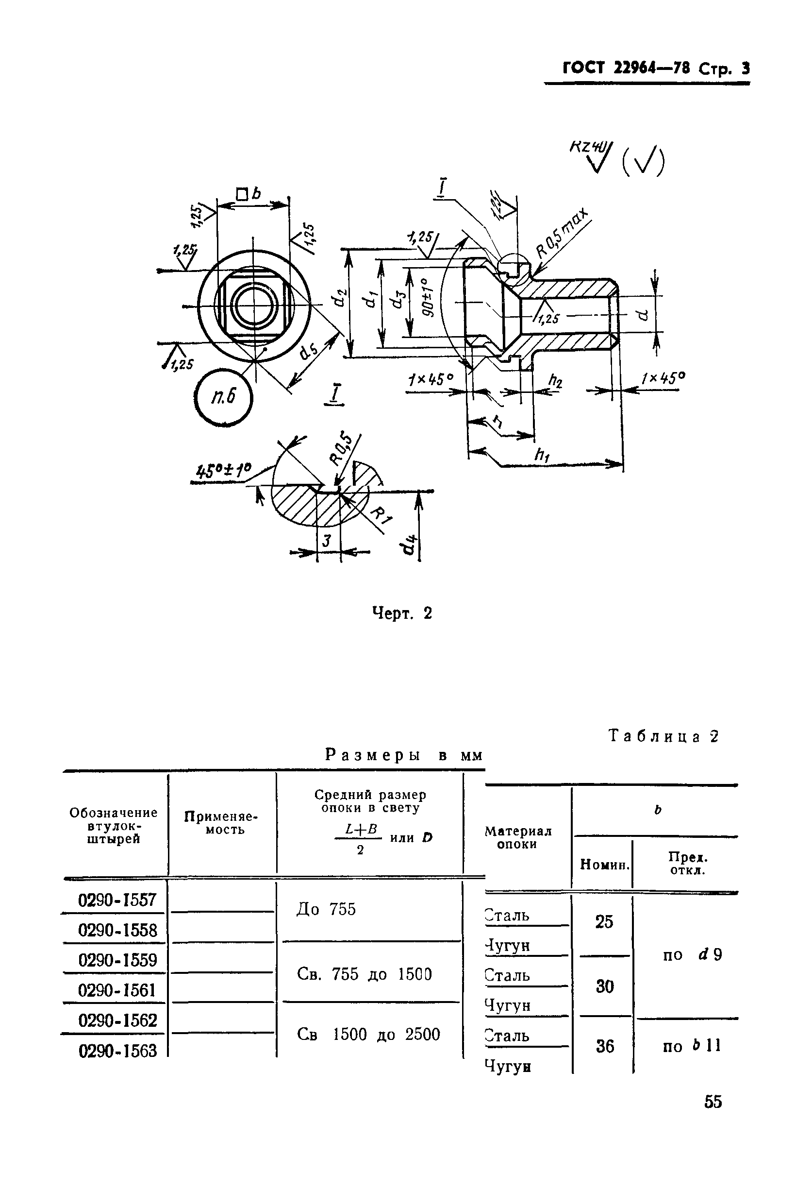
ГОСТ 22964-78

Втулки-штыри центрирующие и направляющие для литейных опок. Конструкция и размеры

Обозначение: ГОСТ 22964-78
Обозначение англ: GOST 22964-78
Статус:действует
Название рус.:Втулки-штыри центрирующие и направляющие для литейных опок. Конструкция и размеры
Название англ.:Centering and guide bushes-pins for moulding boxes. Construction and dimensions
Дата добавления в базу:01.09.2013
Дата актуализации:01.01.2021
Дата введения:01.01.1979
Утверждён:08.02.1978 Госстандарт СССР (USSR Gosstandart 400)
Заменяет собой:
  • МН 158-59 (Сведения из перечня "Указатель государственных стандартов СССР 1980 г.", Издательство стандартов 1980)
ГОСТ 22964-78ГОСТ 22964-78ГОСТ 22964-78ГОСТ 22964-78ГОСТ 22964-78