Скачать ГОСТ 23.223-85 Обеспечение износостойкости изделий. Метод определения триботехнических свойств конструкционных материалов при взаимодействии с волокнистой массойДата актуализации: 01.01.2021
|
| Обозначение: | ГОСТ 23.223-85 |
| Обозначение англ: | GOST 23.223-85 |
| Статус: | заменен |
| Название рус.: | Обеспечение износостойкости изделий. Метод определения триботехнических свойств конструкционных материалов при взаимодействии с волокнистой массой |
| Название англ.: | Products wear resistance assurance. Method for determination of tribotechnical properties of construction materials in contact with fibrous material |
| Дата добавления в базу: | 01.10.2014 |
| Дата актуализации: | 01.01.2021 |
| Дата введения: | 01.07.1985 |
| Дата окончания срока действия: | 01.07.1998 |
| Область применения: | Стандарт распространяется на металлические и неметаллические материалы и покрытия и устанавливает метод определения триботехнических свойств - сил трения, предельно допустимых нагрузок и скоростей скольжения при взаимодействии с волокнистым материалом, например, хлопка-сырца. |
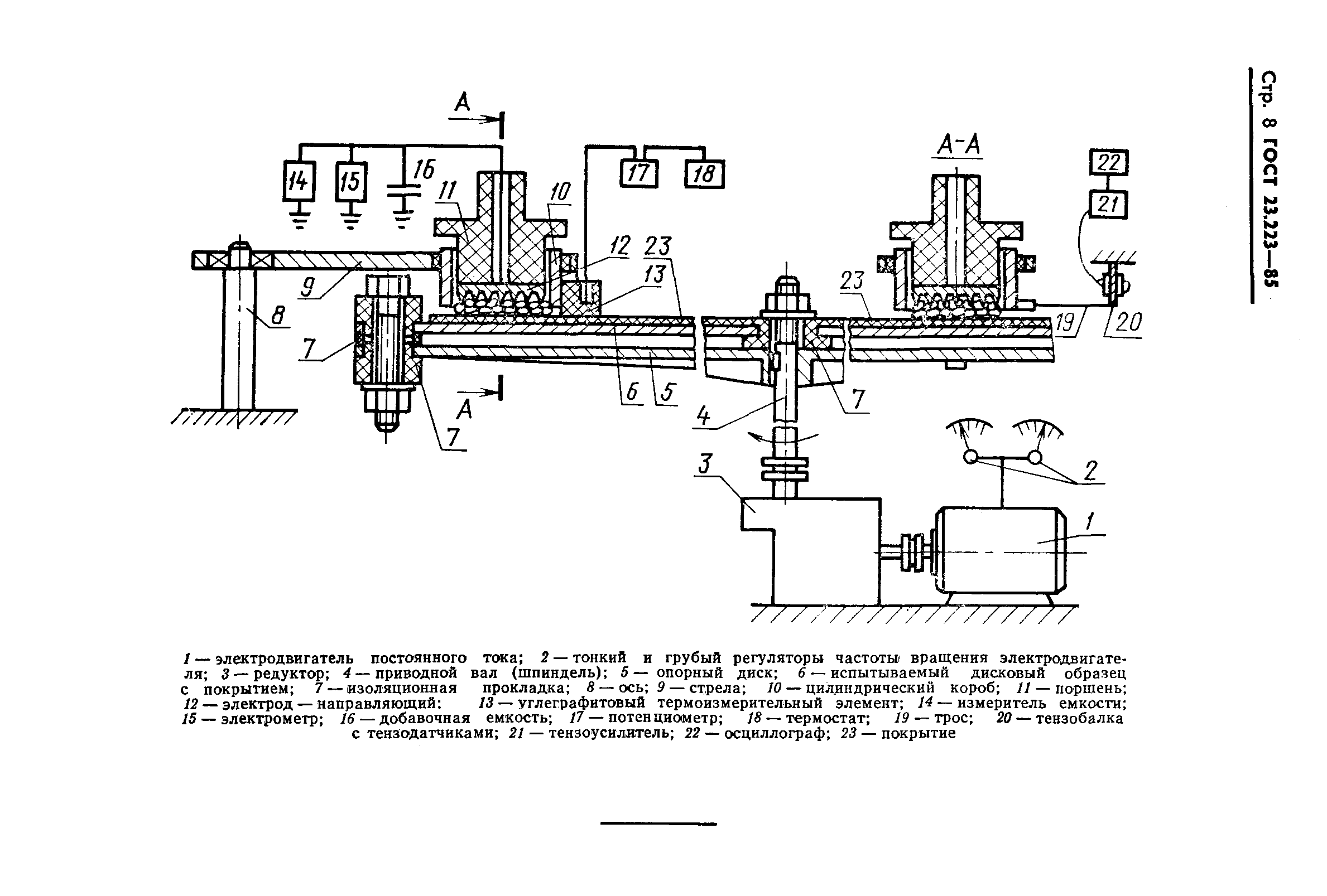
| Оглавление: | 2 Аппаратура и материалы 3 Подготовка к испытаниям 4 Проведение испытаний 5 Обработка результатов испытаний Приложение 1 (рекомендуемое) Испытательный прибор Приложение 2 (рекомендуемое) Форма протокола испытаний |
| Утверждён: | 16.01.1985 Государственный комитет СССР по стандартам (USSR National Committee on Standards 92) |
| Издан: | Издательство стандартов (1985 г. ) |










