Скачать ГОСТ 23022-78 Головки расточные двухрезцовые. Типы и основные размерыДата актуализации: 01.01.2021 ГОСТ 23022-78
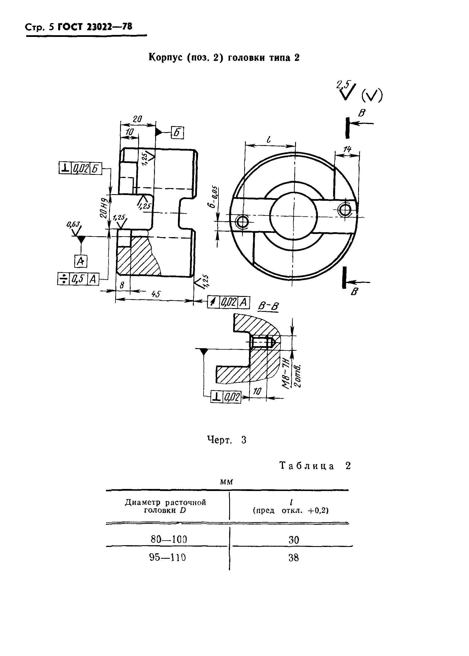
Головки расточные двухрезцовые. Типы и основные размеры| Обозначение: | ГОСТ 23022-78 | | Обозначение англ: | GOST 23022-78 | | Статус: | действует | | Название рус.: | Головки расточные двухрезцовые. Типы и основные размеры | | Название англ.: | Double cartridge boring heads. Types and basic dimensions | | Дата добавления в базу: | 01.09.2013 | | Дата актуализации: | 01.01.2021 | | Дата введения: | 01.01.1980 | | Оглавление: | Приложение Конструкция и основные размеры головок | | Утверждён: | 26.03.1978 Госстандарт СССР (USSR Gosstandart 818)
|
      
|