Скачать ГОСТ 23102-78 Патрубки присоединительные бортовой малогабаритной арматуры. Конструкция и размерыДата актуализации: 01.01.2021
|
| Обозначение: | ГОСТ 23102-78 |
| Обозначение англ: | GOST 23102-78 |
| Статус: | действует |
| Название рус.: | Патрубки присоединительные бортовой малогабаритной арматуры. Конструкция и размеры |
| Название англ.: | Connecting branches of smallsized board pipe fitting. Construction and dimensions |
| Дата добавления в базу: | 01.09.2013 |
| Дата актуализации: | 01.01.2021 |
| Дата введения: | 01.07.1979 |
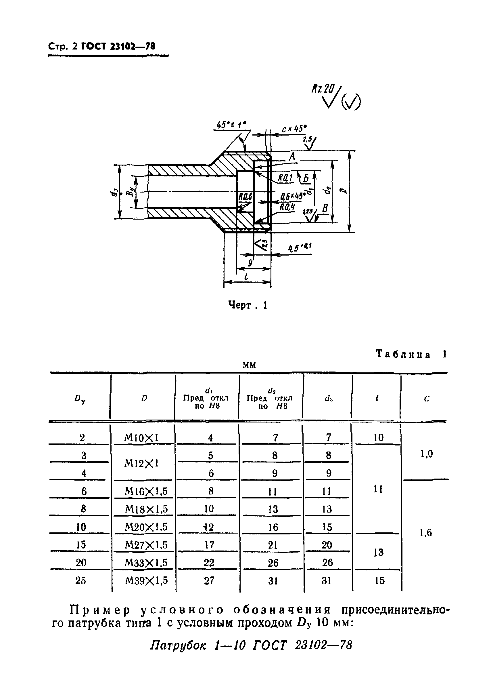
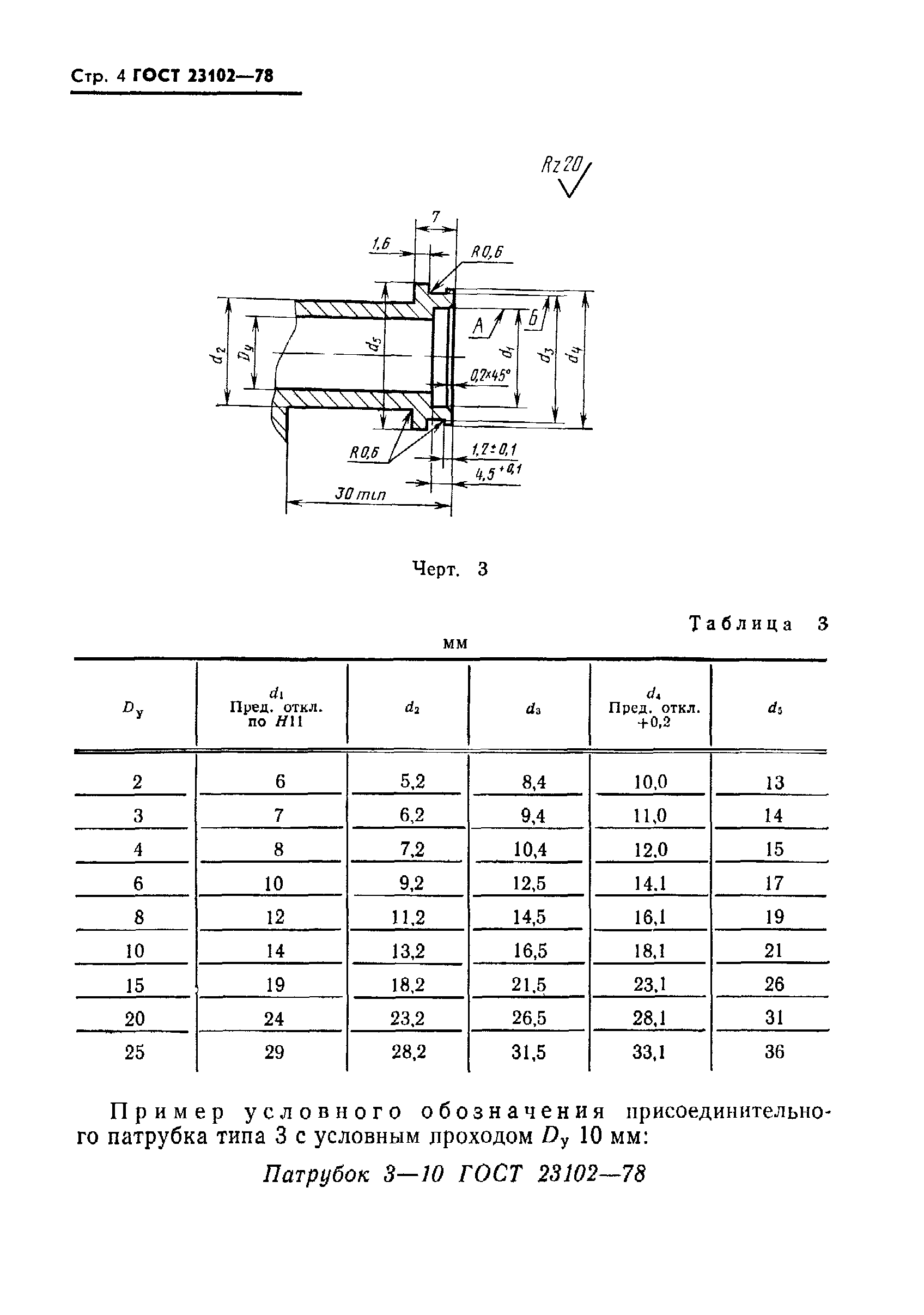
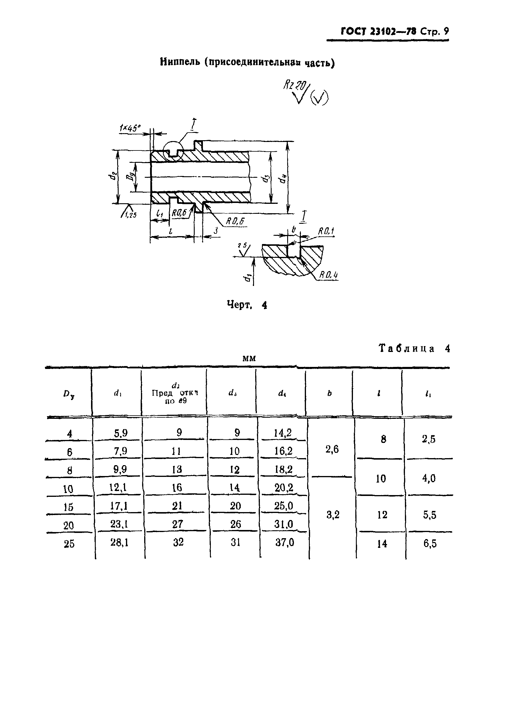
| Оглавление: | Приложение Примеры сборки присоединительной части арматуры |
| Утверждён: | 04.05.1978 Госстандарт СССР (USSR Gosstandart 1223) |












