Скачать ГОСТ 23134-78 Уборы головные медицинские. Технические условияДата актуализации: 01.01.2021 ГОСТ 23134-78
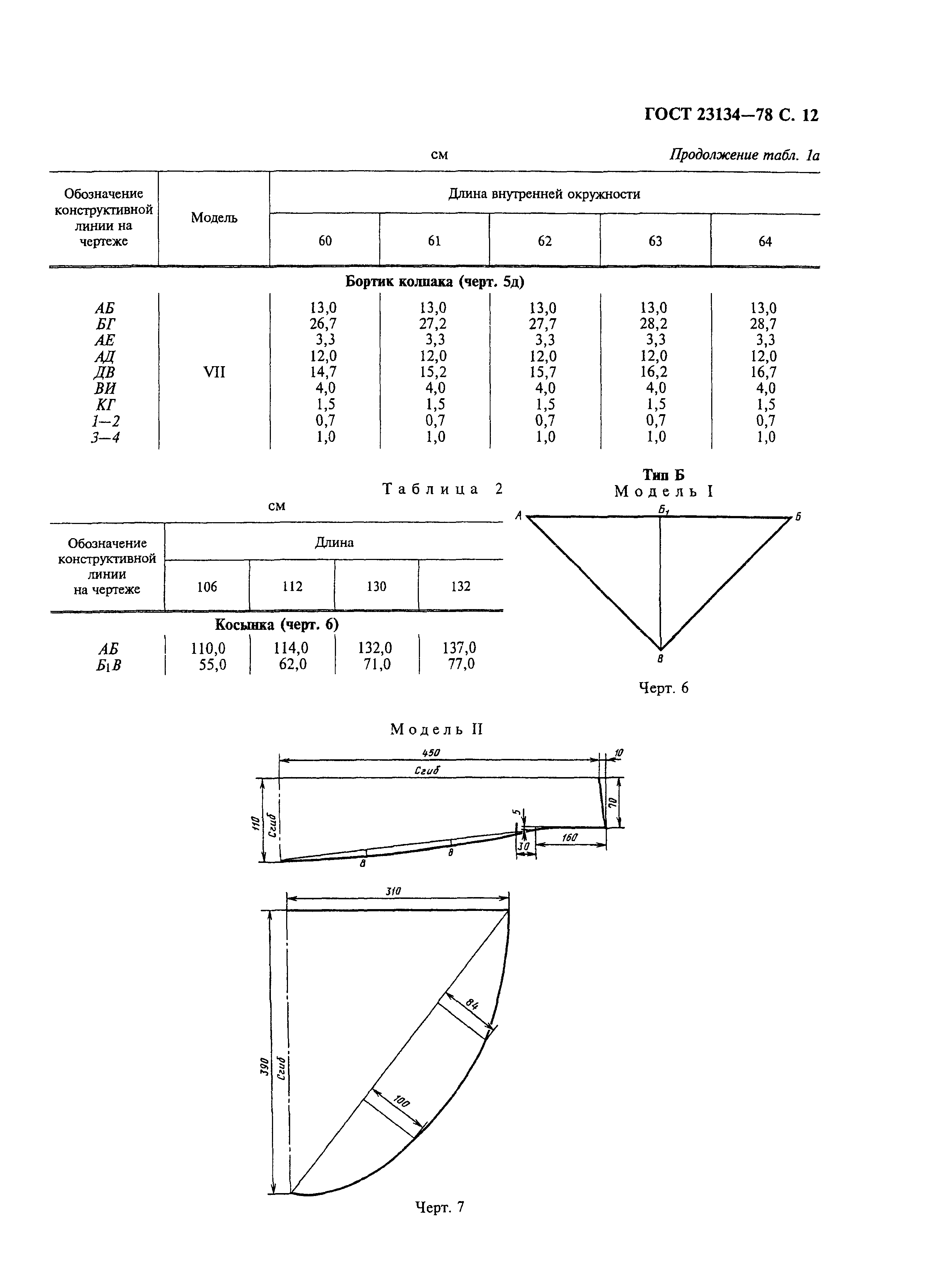
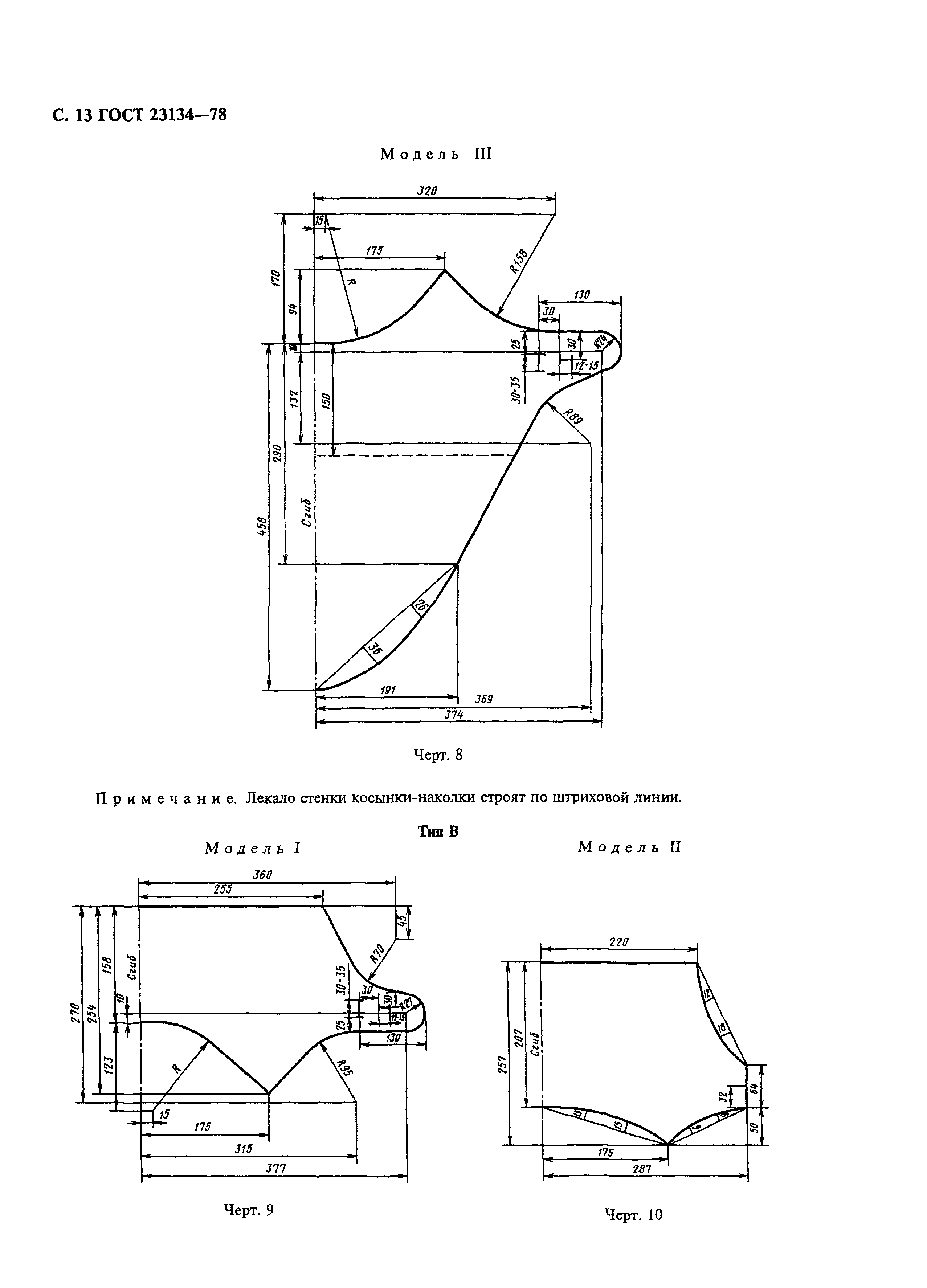
Уборы головные медицинские. Технические условия| Обозначение: | ГОСТ 23134-78 | | Обозначение англ: | GOST 23134-78 | | Статус: | действует | | Название рус.: | Уборы головные медицинские. Технические условия | | Название англ.: | Head-dresses medical. Specifications | | Дата добавления в базу: | 01.09.2013 | | Дата актуализации: | 01.01.2021 | | Дата введения: | 01.07.1979 | | Область применения: | Стандарт распространяется на гловные уборы для медицинского персонала лечебно-профилактических учреждений и для больных, находящихся в госпиталях. | | Оглавление: | 1 Типы и основные размеры 2 Технические требования 3 Приемка 3а Методы контроля 4 Маркировка, упаковка, транспортирование и хранение Приложение Пособие для построения чертежей лекал медицинских головных уборов | | Утверждён: | 23.05.1978 Госстандарт СССР (USSR Gosstandart 1369)
| | Издан: | Издательство стандартов (1978 г. ) ИПК Издательство стандартов (2001 г. )
| | Нормативные ссылки: | |
              
|